GM Service Manual Online
For 1990-2009 cars only
Makes
🢒
Pontiac
🢒
2002
🢒
Grand Prix
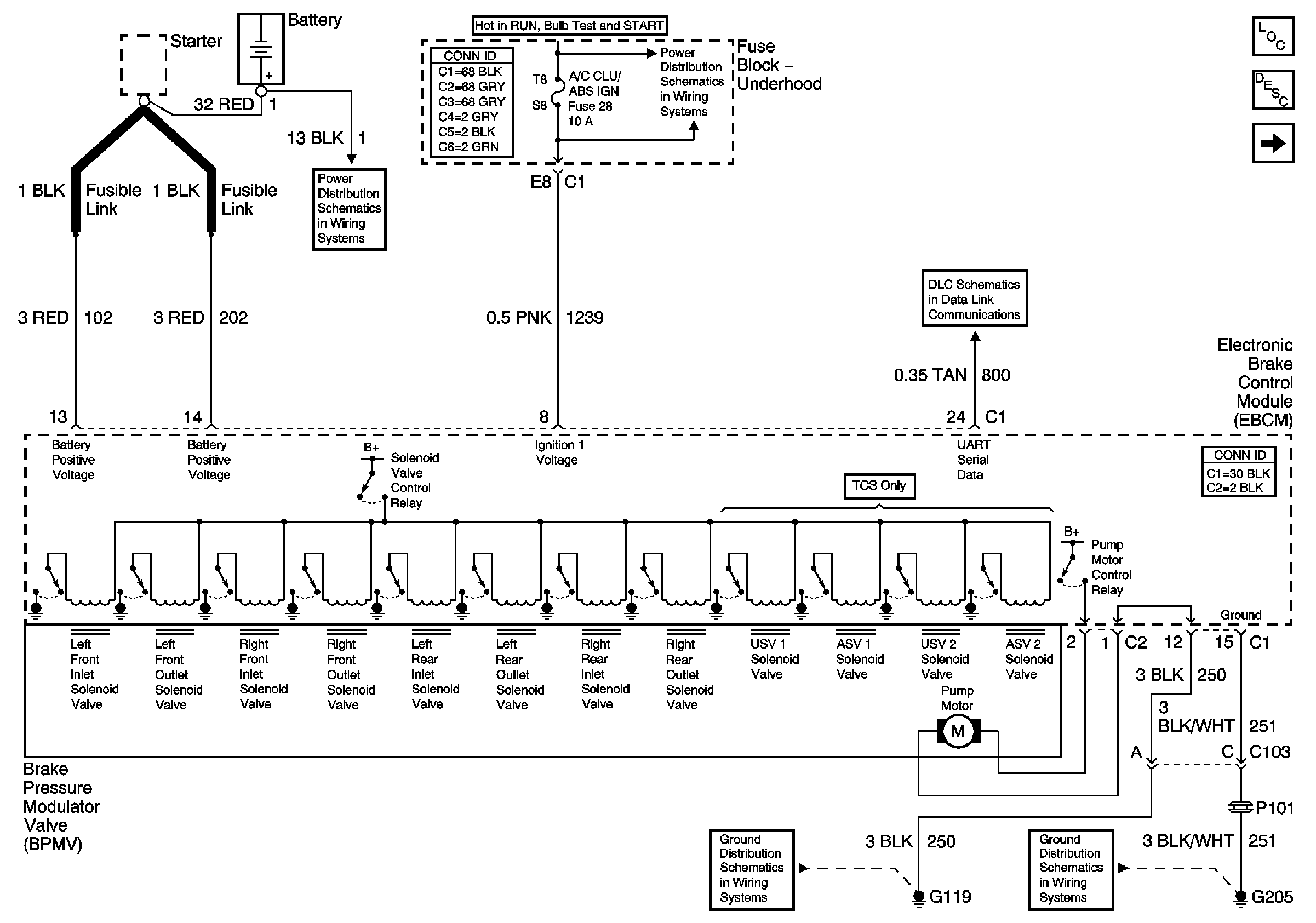
🢒 Power, Ground, Brake Pressure Modulator Valves
Power, Ground, Brake Pressure Modulator Valves
Power, Ground, Brake Pressure Modulator Valves
Master Electrical Component List
ABS Description and Operation
ABS Indicator, Torque Signals, and Steering
BATT-MAIN 1-2, IGN-MAIN 1-2, HEADLAMPS, PARK LP, RADIO, AIR, ECM SENSE, ALT SENSE, B/U LAMP, COOL FAN 1-2, FUEL PUMP, FOG LP, HORN, INJ, IGN 1-UH, ELEK IGN, TCC,
TCC, ELEK IGN, and A/C CLU/ABS IGN Fuses
Data Link Communications
G119
G205