GM Service Manual Online
For 1990-2009 cars only
Makes
🢒
Pontiac
🢒
2003
🢒
Grand Prix
🢒 VSS, and ISS Sensors, Pressure Control Solenoid Valve, TCC Release Switch and Fluid Pressure Switches,FP
VSS, and ISS Sensors, Pressure Control Solenoid Valve, TCC Release Switch and Fluid Pressure Switches,FP
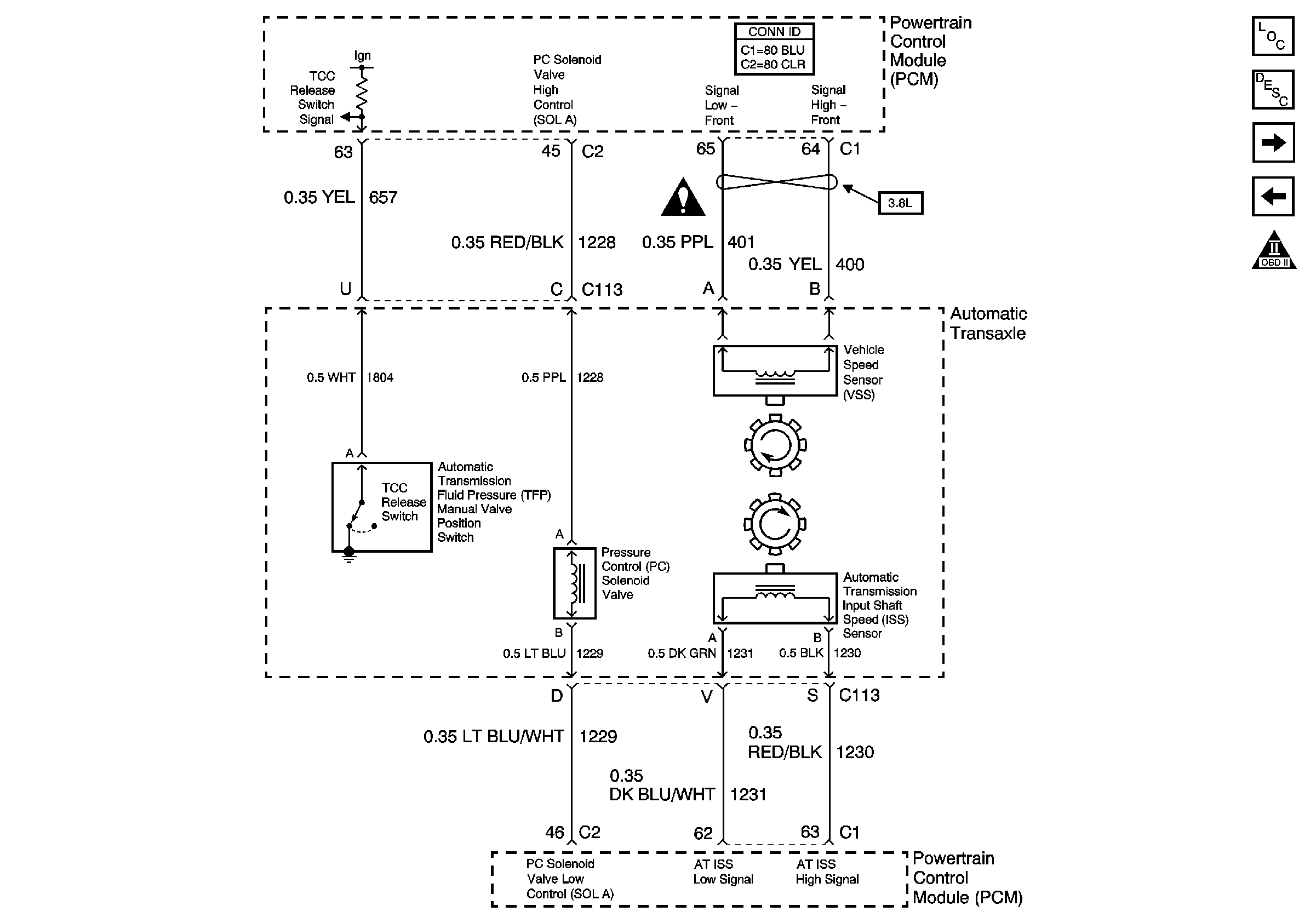
VSS and ISS Sensors, Pressure Control Solenoid Valve, and TCC Release Switch
Master Electrical Component List
Electronic Component Description
PRNDL
Stop lamp Switch, TCC, Shift Solenoids, and TFT Sensor
Automatic Transmission Schematic Icons
Automatic Transmission Schematic Icons