GM Service Manual Online
For 1990-2009 cars only
Makes
🢒
Pontiac
🢒
2003
🢒
Grand Prix
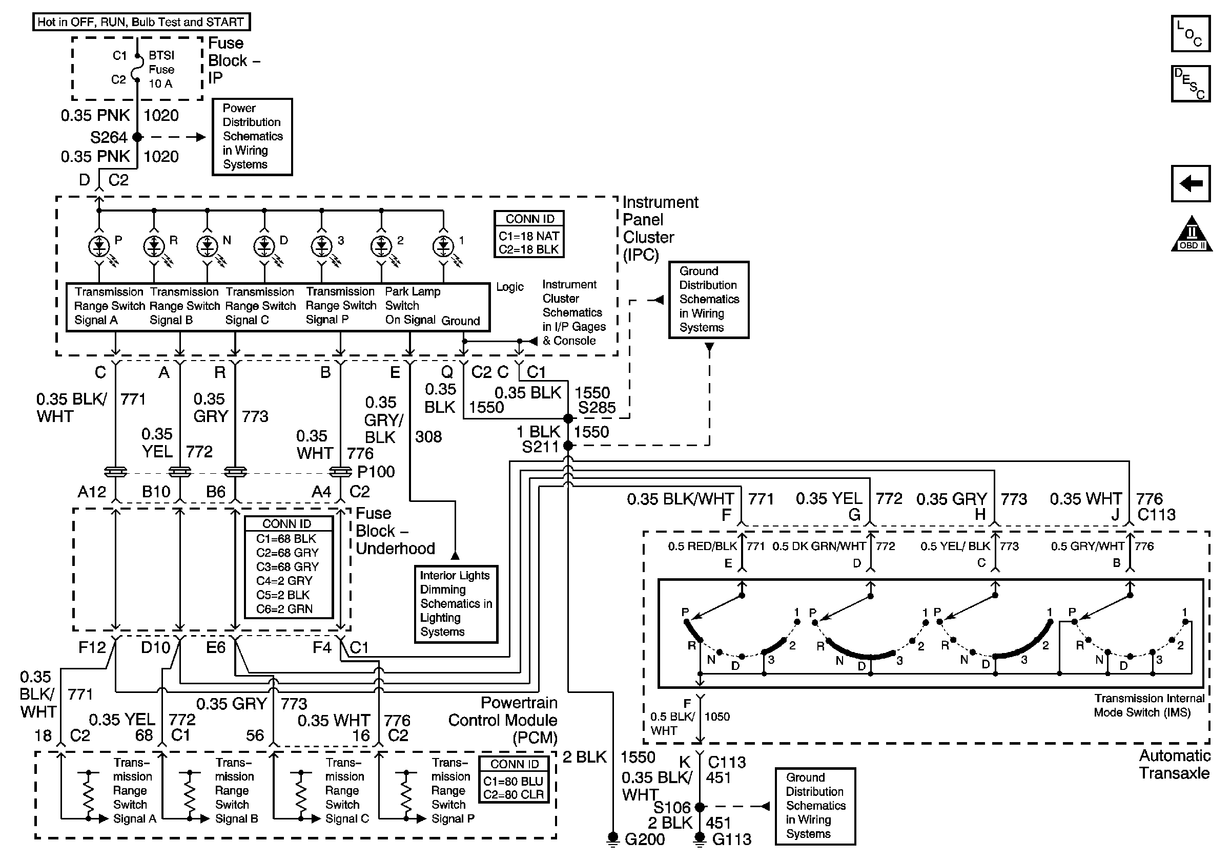
🢒 PRNDL
PRNDL
PRNDL
Master Electrical Component List
Electronic Component Description
VSS, and ISS Sensors, Pressure Control Solenoid Valve, TCC Release Switch and Fluid Pressure Switches, FP
Automatic Transmission Schematic Icons
IGN MAIN 1, BTSI, DRL, CANISTER VENT, PWR DROP, TURN, and SIR Fuses
IGN MAIN 1, BTSI, DRL, CANISTER VENT, PWR DROP, TURN, and SIR Fuses
Power, Ground, Illumination, and Seat belt, Turn Signal, Hi Beam Indicators
G200, S211, S285
Headlamp Switch and Instrument Panel Lighting
G100, G111, G113