GM Service Manual Online
For 1990-2009 cars only
Makes
🢒
Pontiac
🢒
2003
🢒
Grand Prix
🢒 Indicators
Indicators
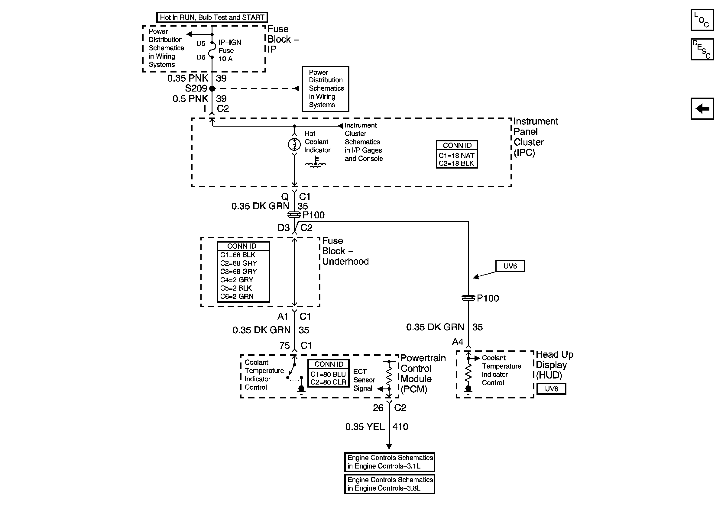
Indicator
Master Electrical Component List
Cooling System Description and Operation
Fans
IP-IGN, CRUISE, and ECM Fuses
IP-IGN, CRUISE, and ECM Fuses
Indicators
TP, MAP, ECT, and IAT Sensors
MAP, ECT, IAT, and TP Sensor