GM Service Manual Online
For 1990-2009 cars only
Makes
🢒
Pontiac
🢒
2004
🢒
Grand Prix
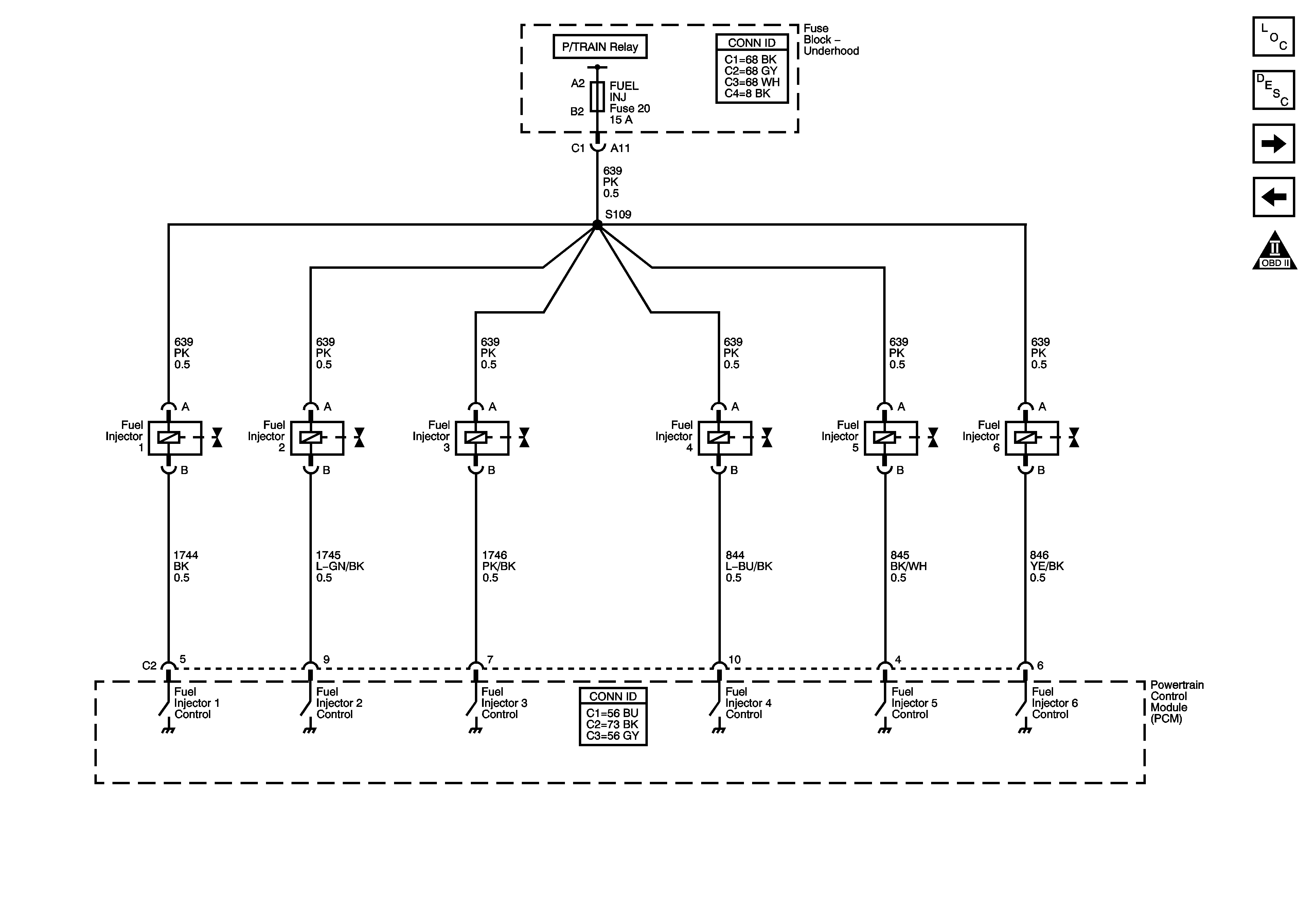
🢒 Fuel Injectors
Fuel Injectors
Fuel Injectors
Master Electrical Component List
Fuel System Description
EVAP Solenoids, FTP Sensor, and EGR Valve
Fuel Pump Controls
Engine Controls Schematic Icons
PCM Power, Ground, MIL, and Serial Data