GM Service Manual Online
For 1990-2009 cars only
Makes
🢒
Pontiac
🢒
2004
🢒
Matiz
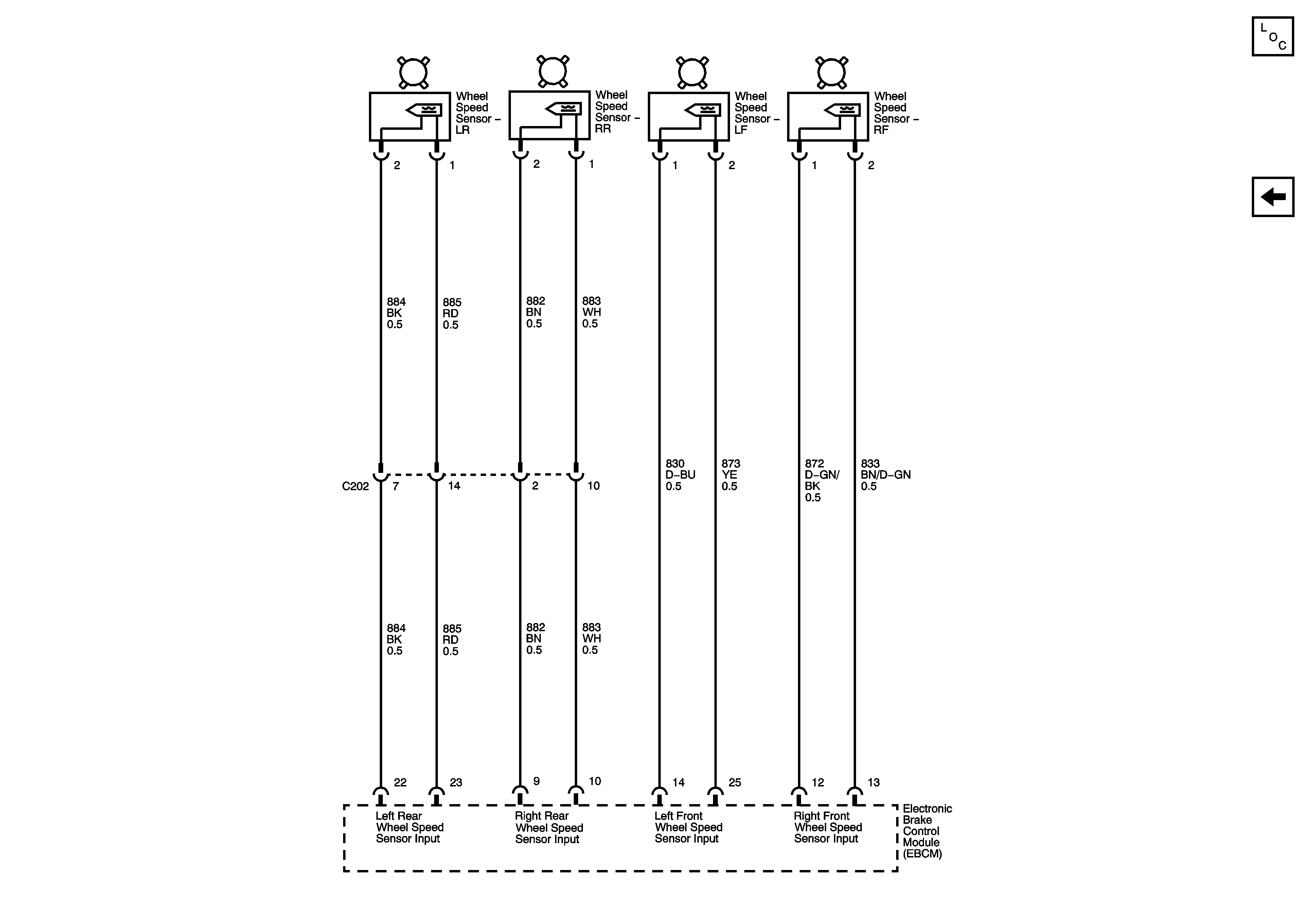
🢒 Wheel Speed Sensor Circuits
Wheel Speed Sensor Circuits
Wheel Speed Sensor Circuits
Master Electrical Component List
Module Power, Ground and Malfunction Indicator Lamp (MIL)