GM Service Manual Online
For 1990-2009 cars only
Makes
🢒
Pontiac
🢒
2007
🢒
Solstice
🢒 Engine Data Sensors - Engine Throttle Controls
Engine Data Sensors - Engine Throttle Controls
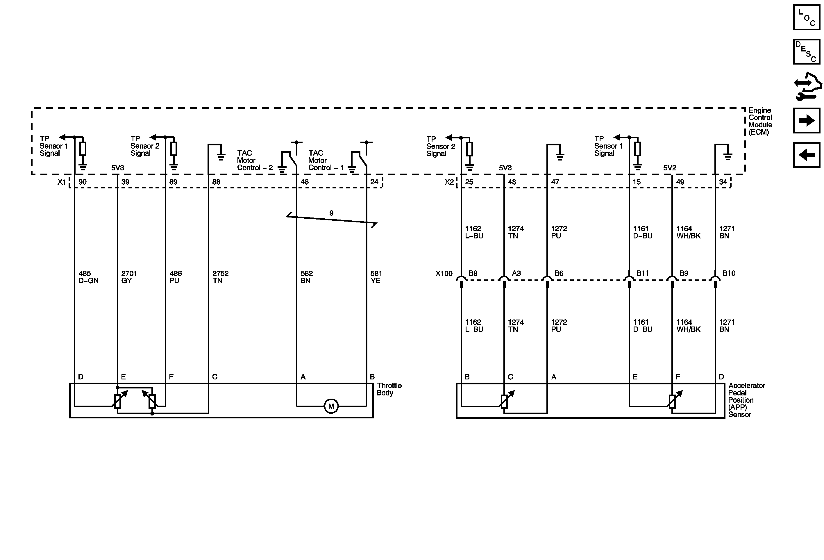
Engine Data Sensors - Electronic Throttle Control
Master Electrical Component List
Throttle Actuator Control (TAC) System Description
Control Module References
Ignition Controls - Sensors
Engine Data Sensors - Oxygen Sensors