GM Service Manual Online
For 1990-2009 cars only

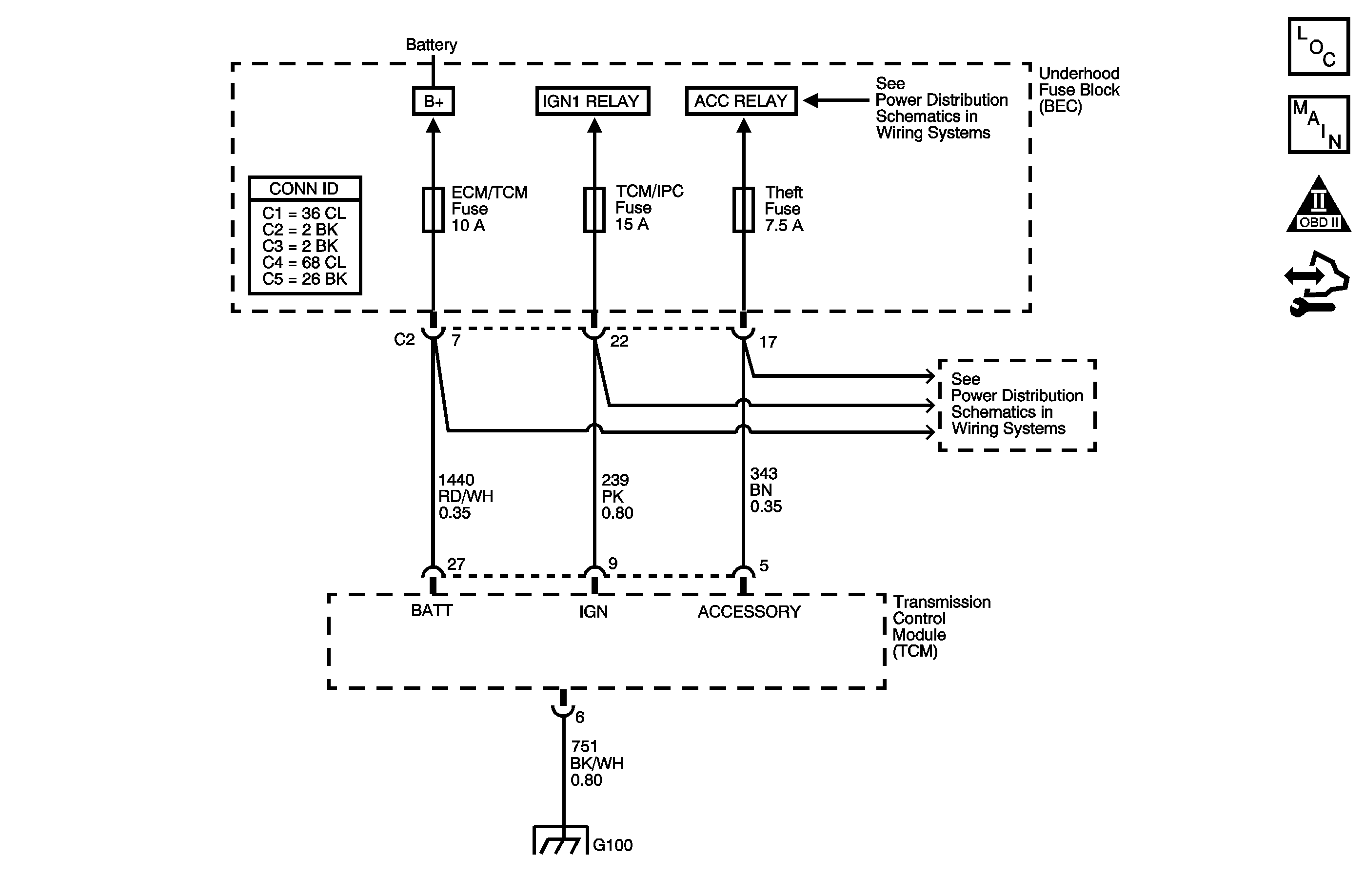
Object Number: 1765293  Size: MF
Master Electrical Component List
Automatic Transmission Controls Schematics
OBD II Symbol Description Notice
Control Module References

Circuit Description

The transmission control module (TCM) samples the system voltage on the Ignition 1 voltage circuit every 0.1 seconds. Lower than normal voltage may be inadequate to operate the transmission control solenoids properly. Improper solenoid operation may cause erratic transmission operation, which may result in internal damage.

If the TCM detects low voltage on the Ignition 1 voltage circuit, DTC P2534 sets. DTC 2534 is a type A DTC.

DTC Descriptor

This diagnostic procedure supports the following DTC:

DTC P2534 Ignition 1 Switch Circuit Low Voltage

Conditions for Running the DTC

The engine is running.

Conditions for Setting the DTC

The TCM detects an open or short to ground on the Ignition 1 voltage circuit.

Action Taken When the DTC Sets

    • The TCM requests the engine control module (ECM) to illuminate the malfunction indicator lamp (MIL).
    • The TCM commands maximum line pressure.
    • The TCM commands an immediate landing to 2nd gear.
    • The TCM freezes transmission adaptive functions.
    • The TCM records the operating conditions when the Conditions for Setting the DTC are met. The TCM stores this information as a Failure Record.
    • The ECM records the operating conditions when the Conditions for Setting the DTC are met. The ECM stores this information as a Freeze Frame.

Conditions for Clearing the DTC

    • The TCM turns OFF the MIL after the third consecutive trip in which the diagnostic test runs and passes.
    • A scan tool can clear the DTC.
    • The TCM clears the DTC from TCM history if the vehicle completes 40 warm-up cycles without an emission-related diagnostic fault occuring.
    • The TCM cancels the DTC default actions when the ignition is OFF long enough in order to power down the TCM.

Diagnostic Aids

    • If all circuit tests are OK, ensure the transmission pass through connector and harness terminals are clean and not damaged, and the charging system is functioning correctly.
    •  Verify there is a good connection at the body control module (BCM) especially if DTC P0700 is also set with this code.

DTC P2534

Step

Action

Values

Yes

No

1

Did you perform the Diagnostic System Check - Vehicle?

--

Go to Step 2

Go to Diagnostic System Check - Vehicle

2

  1. Install a scan tool.
  2. Turn ON the ignition, with the engine OFF.
  3. Important: Before clearing the DTC, use the scan tool in order to record the Freeze Frame and Failure Records. Using the Clear Info function erases the Freeze Frame and Failure Records from the TCM.

  4. Record the DTC Freeze Frame and Failure Records.
  5. Clear the DTC.

Does DTC 2534 reset?

--

Go to Step 3

Go to Testing for Intermittent Conditions and Poor Connections

3

  1. Remove the TRANS fuse.
  2. Inspect the fuse for an open. Refer to Circuit Protection - Fuses .

Did you find the condition?

--

Go to Step 4

Go to Step 5

4

Test the ignition 1 voltage circuit of the TCM for a short to ground between the underhood fuse block and the TCM. Refer to Testing for Short to Ground and Wiring Repairs .

Did you find and correct the condition?

--

Go to Step 7

--

5

Test the ignition 1 voltage circuit of the TCM for an open between the underhood fuse block and the TCM. Refer to Testing for Continuity and Wiring Repairs .

Did you find and correct the condition?

--

Go to Step 7

Go to Step 6

6

Replace the TCM. Refer to Control Module References for replacement, setup, and programming.

Did you complete the replacement?

--

Go to Step 7

--

7

Perform the following procedure in order to verify the repair:

  1. Select DTC.
  2. Select Clear Info.
  3. Start the vehicle.
  4. Select Specific DTC.
  5. Enter DTC P2534.

Has the test run and passed?

--

Go to Step 8

Go to Step 2

8

With the scan tool, observe the stored information, capture info and DTC info.

Does the scan tool display any DTCs that you have not diagnosed?

--

Go to Diagnostic Trouble Code (DTC) List - Vehicle

System OK


Object Number: 1765293  Size: MF
Master Electrical Component List
Automatic Transmission Controls Schematics
OBD II Symbol Description Notice
Control Module References

Circuit Description

The transmission control module (TCM) samples the system voltage on the Ignition 1 voltage circuit every 0.1 seconds. Lower than normal voltage may be inadequate to operate the transmission control solenoids properly. Improper solenoid operation may cause erratic transmission operation, which may result in internal damage.

If the TCM detects low voltage on the Ignition 1 voltage circuit, DTC P2534 sets. DTC 2534 is a type A DTC.

DTC Descriptor

This diagnostic procedure supports the following DTC:

DTC P2534 Ignition 1 Switch Circuit Low Voltage

Conditions for Running the DTC

The engine is running.

Conditions for Setting the DTC

The TCM detects an open or short to ground on the Ignition 1 voltage circuit.

Action Taken When the DTC Sets

    • The TCM requests the engine control module (ECM) to illuminate the malfunction indicator lamp (MIL).
    • The TCM commands maximum line pressure.
    • The TCM commands an immediate landing to 2nd gear.
    • The TCM freezes transmission adaptive functions.
    • The TCM records the operating conditions when the Conditions for Setting the DTC are met. The TCM stores this information as a Failure Record.
    • The ECM records the operating conditions when the Conditions for Setting the DTC are met. The ECM stores this information as a Freeze Frame.

Conditions for Clearing the DTC

    • The TCM turns OFF the MIL after the third consecutive trip in which the diagnostic test runs and passes.
    • A scan tool can clear the DTC.
    • The TCM clears the DTC from TCM history if the vehicle completes 40 warm-up cycles without an emission-related diagnostic fault occuring.
    • The TCM cancels the DTC default actions when the ignition is OFF long enough in order to power down the TCM.

Diagnostic Aids

    • If all circuit tests are OK, ensure the transmission pass through connector and harness terminals are clean and not damaged, and the charging system is functioning correctly.
    •  Verify there is a good connection at the body control module (BCM) especially if DTC P0700 is also set with this code.

DTC P2534

Step

Action

Values

Yes

No

1

Did you perform the Diagnostic System Check - Vehicle?

--

Go to Step 2

Go to Diagnostic System Check - Vehicle

2

  1. Install a scan tool.
  2. Turn ON the ignition, with the engine OFF.
  3. Important: Before clearing the DTC, use the scan tool in order to record the Freeze Frame and Failure Records. Using the Clear Info function erases the Freeze Frame and Failure Records from the TCM.

  4. Record the DTC Freeze Frame and Failure Records.
  5. Clear the DTC.

Does DTC 2534 reset?

--

Go to Step 3

Go to Testing for Intermittent Conditions and Poor Connections

3

  1. Remove the TRANS fuse.
  2. Inspect the fuse for an open. Refer to Circuit Protection - Fuses .

Did you find the condition?

--

Go to Step 4

Go to Step 5

4

Test the ignition 1 voltage circuit of the TCM for a short to ground between the underhood fuse block and the TCM. Refer to Testing for Short to Ground and Wiring Repairs .

Did you find and correct the condition?

--

Go to Step 7

--

5

Test the ignition 1 voltage circuit of the TCM for an open between the underhood fuse block and the TCM. Refer to Testing for Continuity and Wiring Repairs .

Did you find and correct the condition?

--

Go to Step 7

Go to Step 6

6

Replace the TCM. Refer to Control Module References for replacement, setup, and programming.

Did you complete the replacement?

--

Go to Step 7

--

7

Perform the following procedure in order to verify the repair:

  1. Select DTC.
  2. Select Clear Info.
  3. Start the vehicle.
  4. Select Specific DTC.
  5. Enter DTC P2534.

Has the test run and passed?

--

Go to Step 8

Go to Step 2

8

With the scan tool, observe the stored information, capture info and DTC info.

Does the scan tool display any DTCs that you have not diagnosed?

--

Go to Diagnostic Trouble Code (DTC) List - Vehicle

System OK