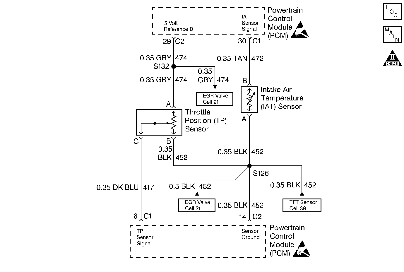
The PCM supplies a 5V reference signal and a ground to the sensor. The TP sensor sends a voltage signal back to the PCM relative to the throttle plate opening. The voltage will vary from approximately 0.45Vat closed throttle, to over 4.5V at wide open throttle.
| • | The engine is running. |
| • | The TP sensor is less than 0.16V for 5 seconds. |
| • | The Malfunction Indicator Lamp (MIL) will illuminate. |
| • | The PCM will record operating conditions at the time the diagnostic fails. This information will be stored in the Freeze Frame and Failure Records buffers. |
| • | A history DTC is stored. |
| • | Coolant fan turns ON. |
| • | The TP angle will default to 0% when the vehicle speed is less than 2 mph (3 km/h) and 10 % when the vehicle speed is greater than 2 mph (3 km/h) (The scan tool will display the defaulted value). |
| • | The MIL will turn OFF after three consecutive ignition cycles in which the diagnostic runs without a fault. |
| • | A history DTC will clear after 40 consecutive warm-up cycles without a fault. |
| • | The MIL/DTCs can be cleared by using the scan tool. |
If a DTC P0122 cannot be duplicated, the information included in the Freeze Frame data can be useful. Use the scan tool DTC information data in order to determine the status of the DTC. If the DTC occurs intermittently, use the DTC P0121 Diagnostic table in order to help isolate the problem.
Number(s) below refer to the step number(s) on the Diagnostic Table.
The Powertrain OBD System Check prompts the technician to complete some basic checks and store the freeze frame and failure records data on the scan tool if applicable. This creates an electronic copy of the data taken when the fault occurred. The information is then stored in the scan tool for later reference.
The TP sensor has an auto zeroing feature. If the voltage reading is between 0.20 V and 0.90 V, the PCM will automatically assume this as closed throttle position (0%).
Simulates a DTC P0123. If the PCM recognizes the high voltage signal, then the PCM and wiring are OK.
This simulates a high voltage signal which will identify an open in the signal circuit.
If additional DTC's are set, check the 5 V reference circuits for a short to ground.
If the test light illuminates while probing the TP signal circuit, then the TP signal circuit is shorted to ground.
Replacement PCM's must be reprogrammed. Refer to the latest Techline information for programming procedures.
Step | Action | Value(s) | Yes | No |
|---|---|---|---|---|
Was the Powertrain On-Board Diagnostic (OBD) System Check performed? | -- | Go to | ||
Is the TP sensor voltage below the specified value? | 0.2V | |||
3 |
Is the TP sensor voltage below the specified value? | 0.2V | ||
Is the TP sensor voltage greater than the specified value? | 4V | |||
Connect a test light between B+ and the TP sensor signal circuit at the TP sensor electrical connector. Is the TP sensor voltage greater than the specified value? | 4V | |||
Check the 5V reference circuit for an open or short to ground and repair as necessary. Was a repair necessary? | -- | |||
7 | Check the 5V reference circuit for a poor connection at the PCM. Replace the terminal(s) as necessary. Was a repair necessary? | -- | ||
Check the TP sensor signal circuit for open, or a short to ground and repair as necessary. Was a repair necessary? | -- | |||
9 | Check the TP sensor signal circuit for a poor connection at the PCM and repair as necessary. Is action complete? | -- | ||
10 | Replace the TP sensor. Is the action complete? | -- | -- | |
Replace the PCM. Is the action complete? | -- | -- | ||
12 |
Does the scan indicate that this diagnostic ran and passed? | -- | ||
13 | Check if any additional DTC's are set. Are any DTC's displayed that have not been diagnosed? | -- | Go to applicable DTC table | System OK |