GM Service Manual Online
For 1990-2009 cars only
Makes
🢒
Pontiac
🢒
1998
🢒
Sunfire
🢒
Body and Accessories
🢒
Instrument Panel, Gauges, and Console
🢒 Instrument Cluster: Digital Schematics
Figure
1:
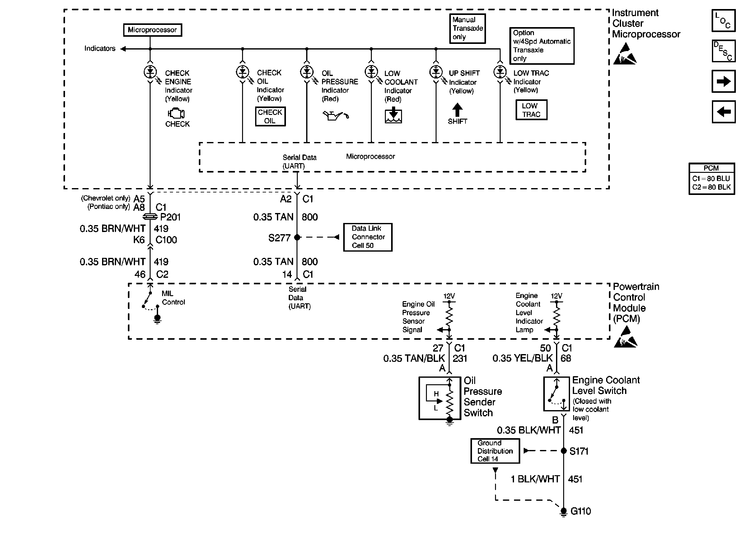
Cell 81: Instrument Cluster Turn Signal Indicators and Warning Indicators
Handling ESD Sensitive Parts Notice
Handling ESD Sensitive Parts Notice
Handling ESD Sensitive Parts Notice
SIR Handling Caution
Ground Distribution Schematics
Ground Distribution Schematics
Interior Lights Schematics
Exterior Lights Schematics
Data Link Connector Schematics
Instrument Cluster Components
Cell 81: Instrument Cluster Indicators
Instrument Cluster Description Chevrolet
Figure
2:
Cell 81: Instrument Cluster Indicators
Instrument Cluster Components
Cell 89
Cell 81: Instrument Cluster Turn Signal Indicators and Warning Indicators
Handling ESD Sensitive Parts Notice
Handling ESD Sensitive Parts Notice
Data Link Connector Schematics
Ground Distribution Schematics
Powertrain Control Module Connector End Views
Instrument Cluster Description Chevrolet
Figure
3:
Cell 89
Handling ESD Sensitive Parts Notice
Handling ESD Sensitive Parts Notice
Handling ESD Sensitive Parts Notice
Ground Distribution Schematics
Instrument Cluster Components
Instrument Cluster Description Chevrolet
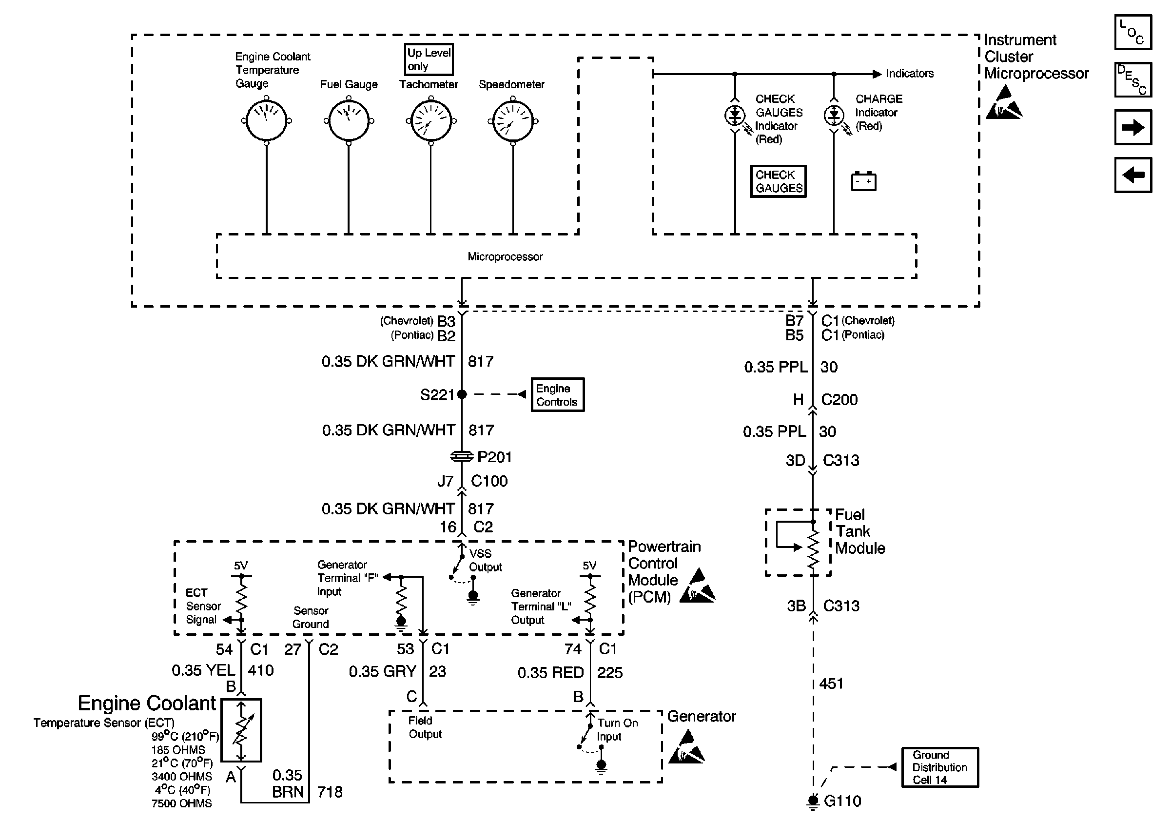
Cell 81: Instrument Cluster Gauges
Cell 81: Instrument Cluster Indicators
Figure
4:
Cell 81: Instrument Cluster Gauges
Data Link Connector Schematics
Headlights/Daytime Running Lights (DRL) Schematics
Handling ESD Sensitive Parts Notice
Headlights/Daytime Running Lights (DRL) Schematics
Ground Distribution Schematics
Handling ESD Sensitive Parts Notice
Instrument Cluster Components
Instrument Cluster Description Chevrolet
Cell 89