GM Service Manual Online
For 1990-2009 cars only
Makes
🢒
Pontiac
🢒
1998
🢒
Sunfire
🢒
Body and Accessories
🢒
Theft Deterrent
🢒 Theft Deterrent System Schematics
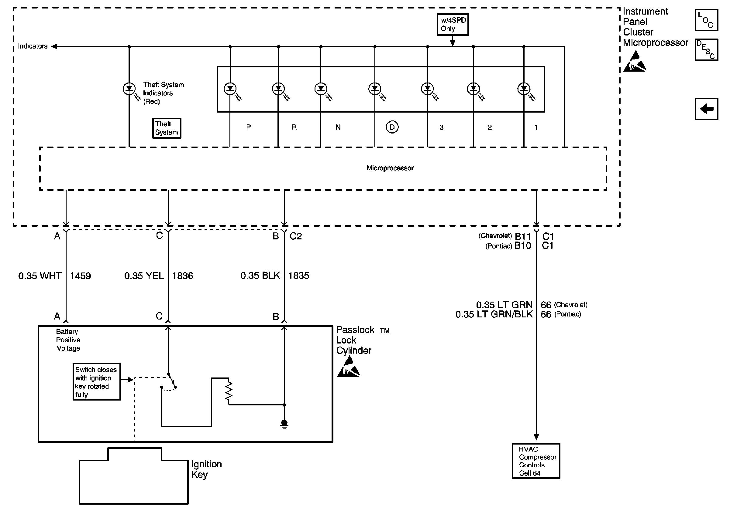
Figure
1:
Cell 133: Vehicle Theft Deterrent
Theft Deterrent System Components
Cell 133: Passlock Lock Cylinder
Cell 133: Passlock Lock Cylinder
Handling ESD Sensitive Parts Notice
Handling ESD Sensitive Parts Notice
Handling ESD Sensitive Parts Notice
SIR Handling Caution
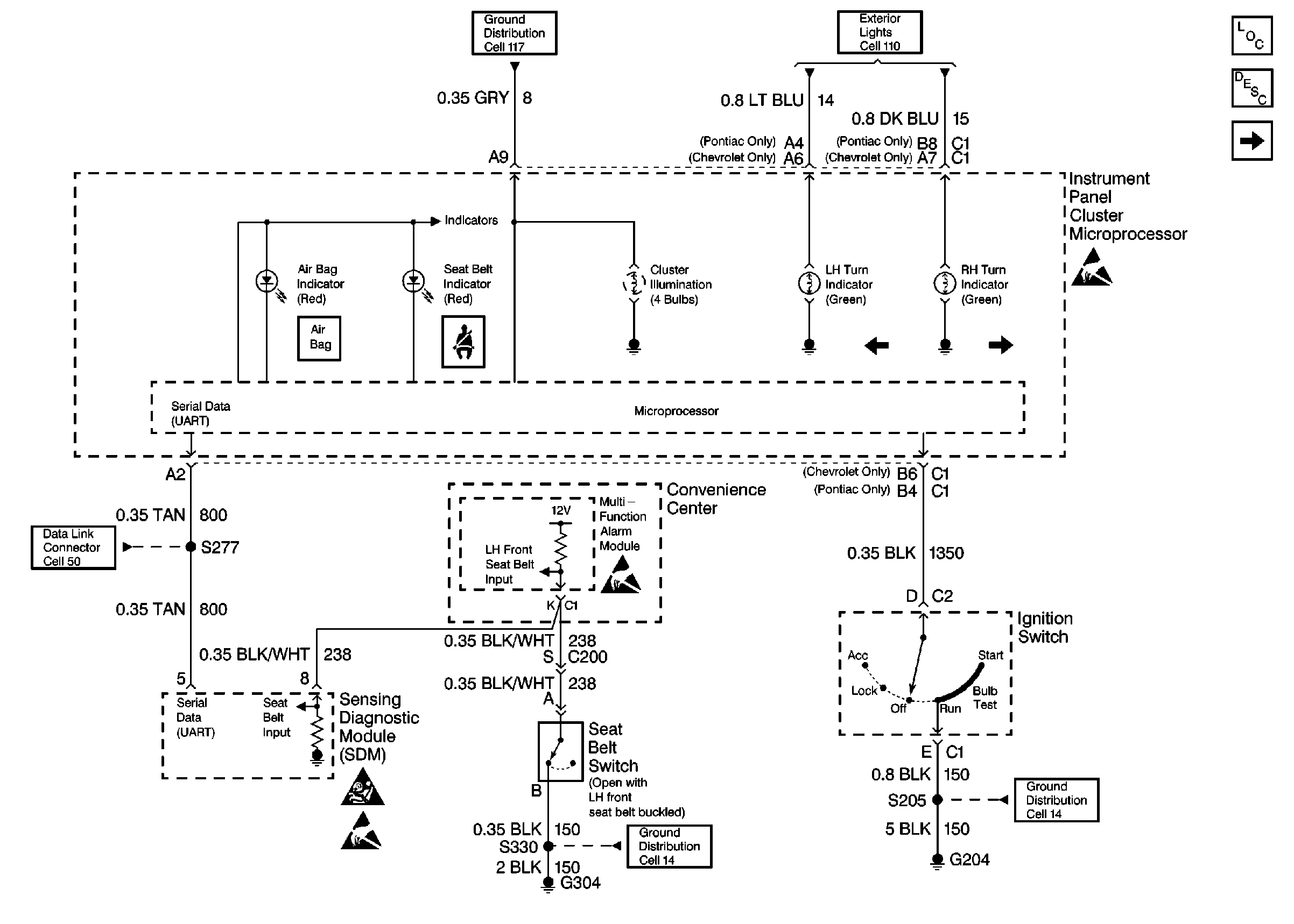
Exterior Lights Schematics
Data Link Connector Schematics
Ground Distribution Schematics
Ground Distribution Schematics
Ground Distribution Schematics
Figure
2:
Cell 133: Passlock Lock Cylinder
Theft Deterrent System Components
Cell 133: Vehicle Theft Deterrent
Cell 133: Vehicle Theft Deterrent
Handling ESD Sensitive Parts Notice
Handling ESD Sensitive Parts Notice