GM Service Manual Online
For 1990-2009 cars only

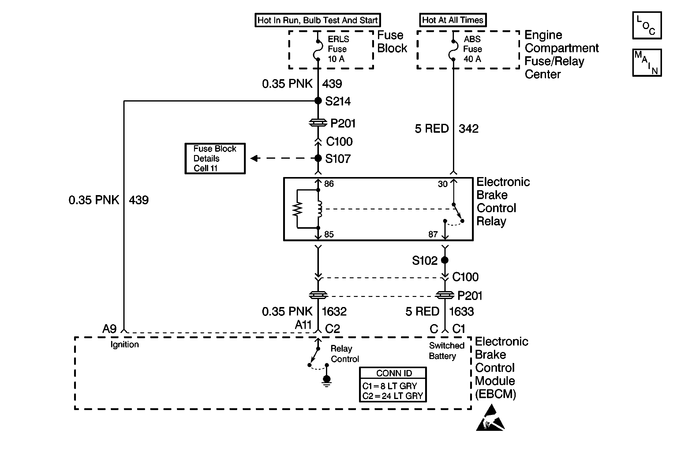
Object Number: 183224  Size: MF
ABS Components
ABS/ETS Schematics

Circuit Description

Ignition voltage is supplied to terminal 86 of the Electronic Brake Control Relay. The above condition enables the EBCM to energize the pullin coil by completing the ground circuit at connector C2 terminal A11 of the EBCM. The magnetic field created closes the Electronic Brake Control Relay contacts. The magnetic field also allows battery voltage and current through the Electronic Brake Control Relay terminal 30 to be supplied to the EBCM through connector C1 terminal C. Connector C1 terminal C supplies power to the EBCM, which supplies power to the motors and solenoids.

Conditions for Setting the DTC

DTC 1216 can set anytime after the Electronic Brake Control Relay is commanded ON. This test detects an open in the Electronic Brake Control Relay coil circuit. An open in this circuit will not allow the Electronic Brake Control Relay to be energized thus preventing power to the motors and solenoids.

A DTC C1286 will be set with DTC C1216 if the rear channel is not expected to be in the home position.

Action Taken When the DTC Sets

    • A malfunction DTC stores.
    • The ABS disables.
    • The ABS warning indicator(s) turns on.

Conditions for Clearing the DTC

    • The condition responsible for setting the DTC no longer exists and the Scan Tool Clear DTCs function is used.
    • 100 drive cycles pass with no DTCs detected. A drive cycle consists of starting the vehicle, driving the vehicle over 16 km/h (10 mph), stopping and then turning the ignition OFF.

Diagnostic Aids

The following conditions may cause an intermittent malfunction:

    • A poor connection
    • Rubbed-through wire insulation
    • A broken wire inside the insulation

Use the enhanced diagnostic function of the Scan Tool in order to measure the frequency of the malfunction.

If the frequency of the malfunction is high, but is currently intermittent, inspect for high coil resistance. Use a J 39200 in order to measure for high coil resistance by measuring between Electronic Brake Control Relay terminal 85 and terminal 86. If the resistance shows greater than 95 ohms, replace the Electronic Brake Control Relay.

Thoroughly inspect any circuitry that may be causing the intermittent complaint for the following conditions:

    • Backed out terminals
    • Improper mating
    • Improperly formed or damaged terminals
    • Poor terminal-to-wiring connections
    • Physical damage to the wiring harness

Clear the DTCs after completing the diagnosis. Test drive the vehicle for three drive cycles in order to verify that the DTC does not reset. Use the following procedure in order to complete one drive cycle:

  1. Start the vehicle.
  2. Drive the vehicle over 16 km/h (10 mph).
  3. Stop the vehicle.
  4. Turn the ignition to the OFF position.

Step

Action

Value(s)

Yes

No

Important: Zero the J 39200 test leads before making any resistance measurements. Refer to the J 39200 user's manual.

1

Was the Diagnostic System Check performed?

--

Go to Step 2

Go to Diagnostic System Check

2

  1. Turn the ignition switch to the OFF position.
  2. Install a Scan Tool .
  3. Turn the ignition switch to the RUN position.
  4. Do not start the engine.

  5. Use the Relay Test function of the Scan Tool in order to command the Electronic Brake Control Relay ON.

Does the Scan Tool indicate that the Electronic Brake Control Relay is ON, and is the voltage equal to or greater than the specified voltage?

10 V

Go to Step 23

Go to Step 3

3

Use the J 39200 in order to measure the voltage between the Electronic Brake Control Relay connector terminal 85 and ground.

Is the voltage equal to or greater than the specified voltage?

10 V

Go to Step 4

Go to Step 9

4

Use the J 39200 in order to measure the voltage between the Electronic Brake Control Relay connector terminal 86 and ground.

Is the voltage equal to or greater than the specified voltage?

10 V

Go to Step 5

Go to Step 13

5

  1. Turn the ignition switch to the OFF position.
  2. Disconnect the 24-way EBCM connector C2.
  3. Turn the ignition switch to the RUN position.
  4. Do not start the engine.

  5. Use the J 39200 in order to measure the voltage between the EBCM connector C2 terminal A11 and ground.

Is the voltage equal to or greater than the specified voltage?

10 V

Go to Step 6

Go to Step 7

6

  1. Turn the ignition switch to the OFF position.
  2. Inspect the following components:
  3. • The 24-way EBCM connector C2 terminal A11
    • The remaining terminals of the 24-way EBCM connector C2
  4. Inspect the above components for the following conditions:
  5. • Damage
    • Poor terminal contact
    • Terminal corrosion

Are there signs of poor terminal contact, corrosion, or damaged terminals?

--

Go to Step 17

Go to Step 8

7

  1. Remove the Electronic Brake Control Relay.
  2. Use the J 39200 in order to measure the resistance between the 24-way EBCM connector terminal A11 and the Electronic Brake Control Relay connector terminal 85.

Is the resistance within the specified range?

0-2 ohms

Go to Step 8

Go to Step 18

8

  1. Reconnect the 24-way EBCM connector C2.
  2. Reconnect the Electronic Brake Control Relay, if the Electronic Brake Control Relay is disconnected.
  3. Turn the ignition switch to the RUN position.
  4. Do not start the engine.

  5. Use the Scan Tool in order to read the DTCs.

Does DTC C1216 set as current DTC?

--

Go to Step 22

Go to Step 23

9

  1. Turn the ignition switch to the OFF position.
  2. Remove the ERLS Fuse (10A) from the fuse block.
  3. Turn the ignition switch to the RUN position.
  4. Do not start the engine.

  5. Use the J 39200 in order to measure the voltage between the fuse block terminal and ground.

Is the voltage equal to or greater than the specified range?

10 V

Go to Step 10

Go to Step 16

10

Remove and inspect the ERLS Fuse (10A).

Is the fuse open?

0-2 ohms

Go to Step 12

Go to Step 11

11

  1. Turn the ignition switch to the OFF position.
  2. Use the J 39200 in order to measure the resistance between the Electronic Brake Control Relay connector terminal 86 and the fuse block terminal.

Is the resistance within the specified range?

0-2 ohms

Go to Step 23

Go to Step 15

12

  1. Turn the ignition switch to the OFF position.
  2. Disconnect the 24-way EBCM connector C2.
  3. Use the J 39200 in order to measure the resistance between the 24-way EBCM harness connector C2 terminal A9 and ground.

Is the resistance within the specified range?

OL (Infinite)

Go to Step 20

Go to Step 19

13

  1. Disconnect the Electronic Brake Control Relay.
  2. Use the J 39200 in order to measure the resistance between the Electronic Brake Control Relay terminal 85 and the Electronic Brake Control Relay terminal 86.

Is the resistance within the specified range?

65-95 ohms

Go to Step 14

Go to Step 21

14

Inspect the Electronic Brake Control Relay connector for the following conditions:

    • Damage
    • Poor terminal contact
    • Terminal corrosion

Are there signs of damage, poor terminal contact, or terminal corrosion?

--

Go to Step 17

Go to Step 23

15

Repair the open or high resistance in CKT 439.

Is the repair complete?

--

Go to Diagnostic System Check

--

16

Repair the open or high resistance in the following circuits and components:

    • CKT 1
    • CKT 3
    • CKT 242
    • The ignition switch
    • The IGN Fuse.

Is the repair complete?

--

Go to Diagnostic System Check

--

17

Replace all of the terminals that display signs of poor terminal contact, corrosion, or damaged terminal(s).

If the Electronic Brake Control Relay displays signs of corrosion, replace the Electronic Brake Control Relay.

Is the repair complete?

--

Go to Diagnostic System Check

--

18

Repair the open or high resistance in CKT 1632.

Is the repair complete?

--

Go to Diagnostic System Check

--

19

Repair the short to ground in CKT 439.

Is the repair complete?

--

Go to Step 20

--

20

Replace the fuse block ERLS Fuse (10A) with a known good fuse.

Is the repair complete?

--

Go to Diagnostic System Check

--

21

Replace the Electronic Brake Control Relay. Refer to Electronic Brake Control Relay Replacement .

Is the repair complete?

--

Go to Diagnostic System Check

--

22

Replace the EBCM. Refer to Electronic Brake Control Module Replacement .

Is the repair complete?

--

Go to Diagnostic System Check

--

23

The malfunction is intermittent or is not present at this time.

Refer to Diagnostic Aids for more information.

Is the action complete?

--

System OK

--