GM Service Manual Online
For 1990-2009 cars only
Figure 1:

Radio


Object Number: 499793  Size: FS
Front and Rear Speakers
Instrument Panel Lamps
Instrument Panel Lamps
Handling ESD Sensitive Parts Notice
G302
G103, G201 and G200
Powers, Grounds and Class 2 Data Lines
MIRR/LAMPS, RDO/LAMPS, RFA BATT, and RT HDLP Fuses
Handling ESD Sensitive Parts Notice
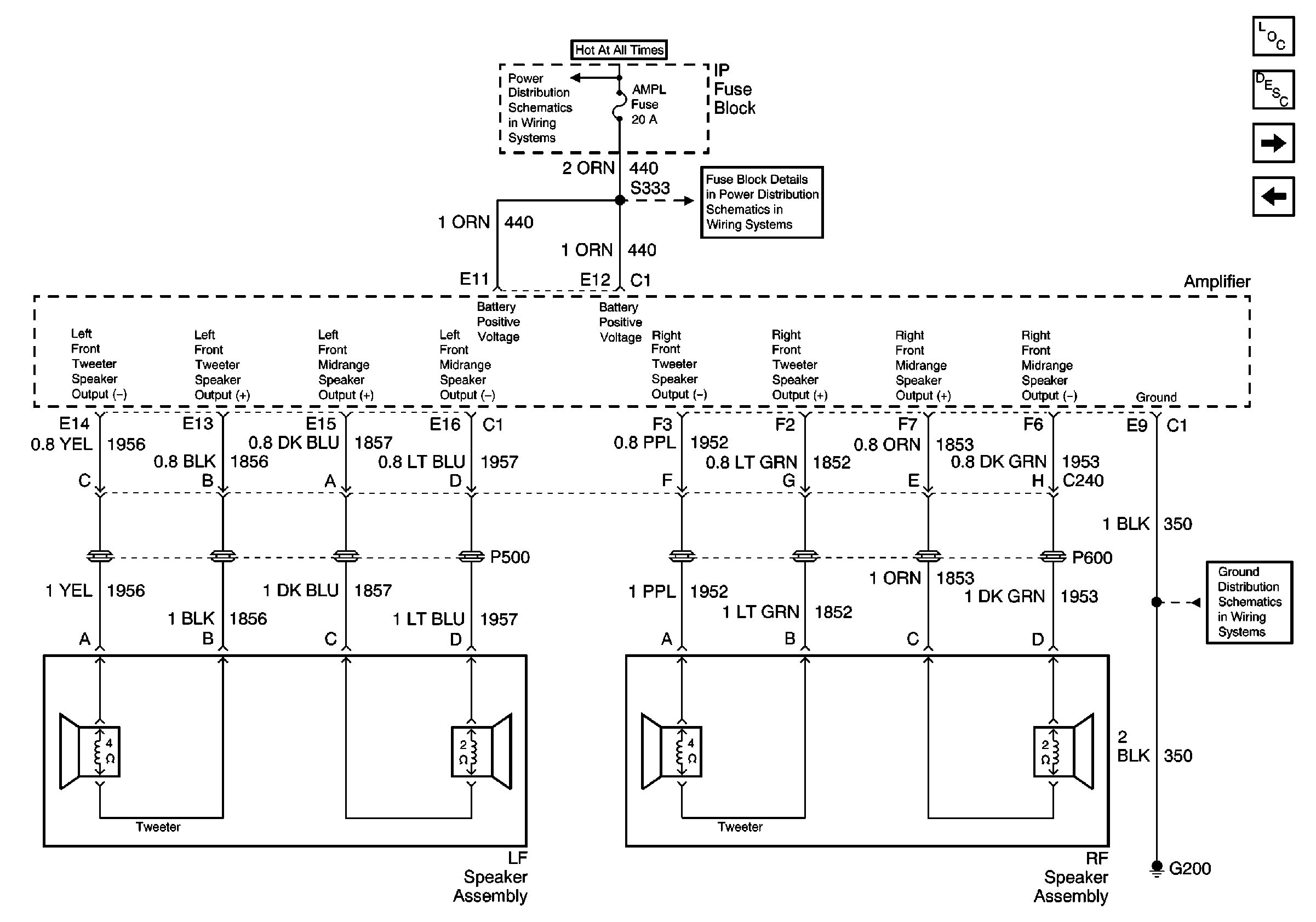
Figure 2:

Front and Rear Speakers


Object Number: 526503  Size: FS
Entertainment Amplifier and Speakers (1 of 2)
Radio
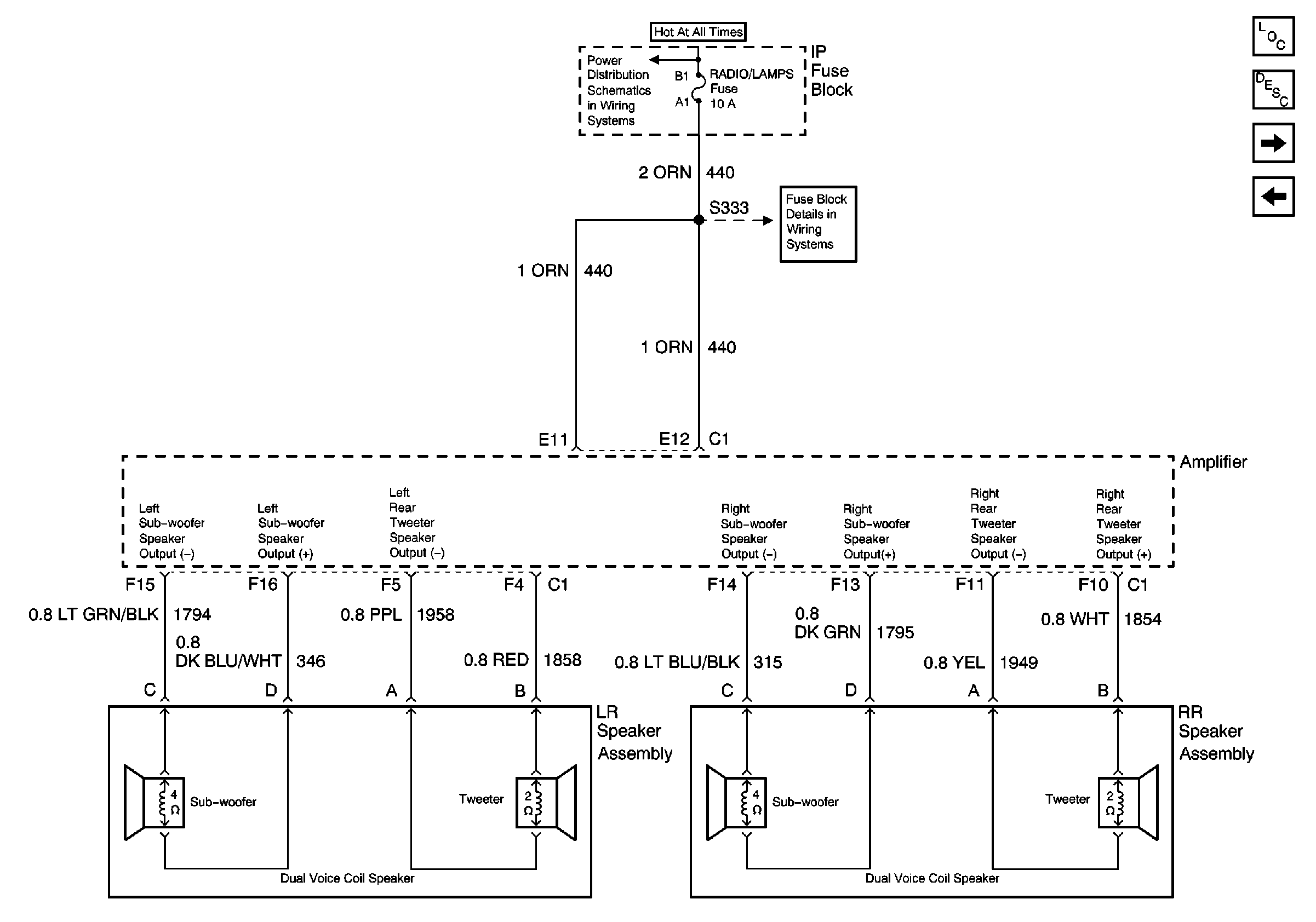
Figure 3:

Entertainment Amplifier and Speakers (1 of 2)


Object Number: 526994  Size: FS
Entertainment Amplifier and Speakers (2 of 2)
Front and Rear Speakers
G103, G201 and G200
BCM, and WIPER Fuses
BCM, and WIPER Fuses
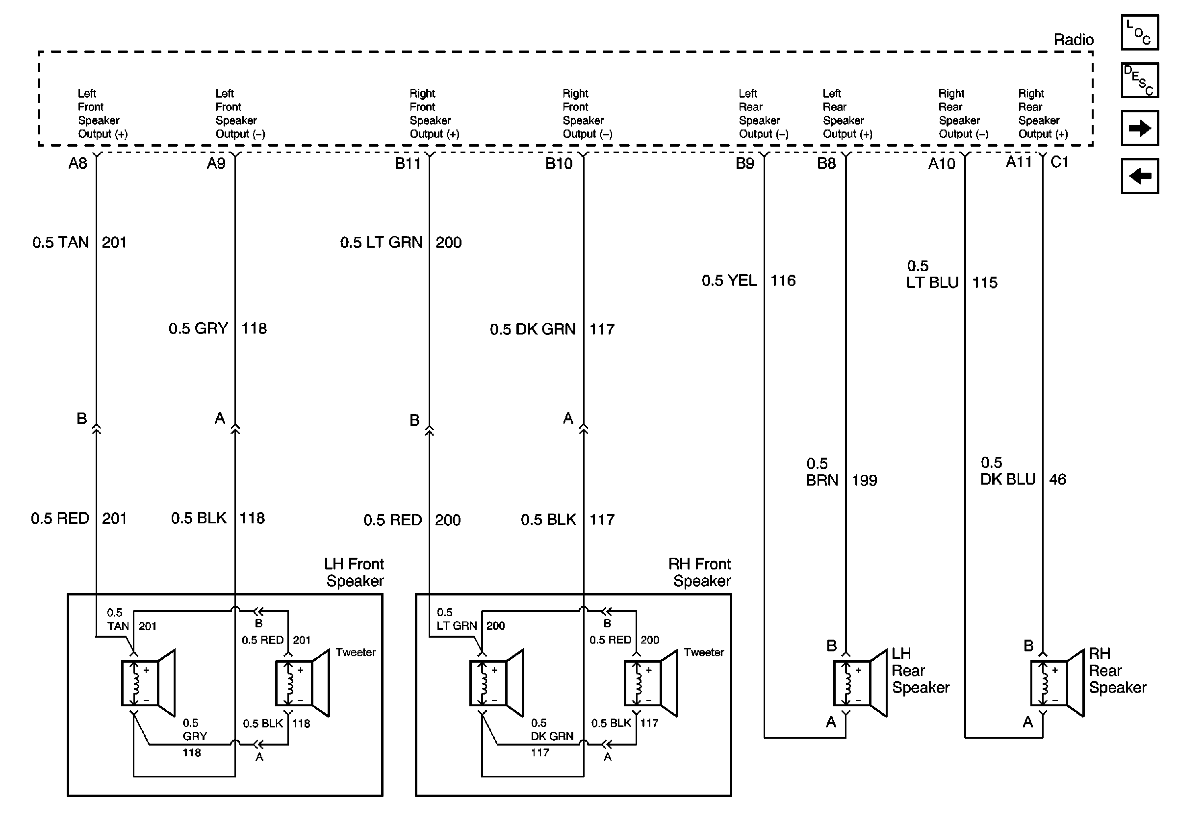
Figure 4:

Entertainment Amplifier and Speakers (2 of 2)


Object Number: 527022  Size: FS
Entertainment Monsoon Radio (+U85)
Entertainment Amplifier and Speakers (1 of 2)
BCM, and WIPER Fuses
BCM, and WIPER Fuses
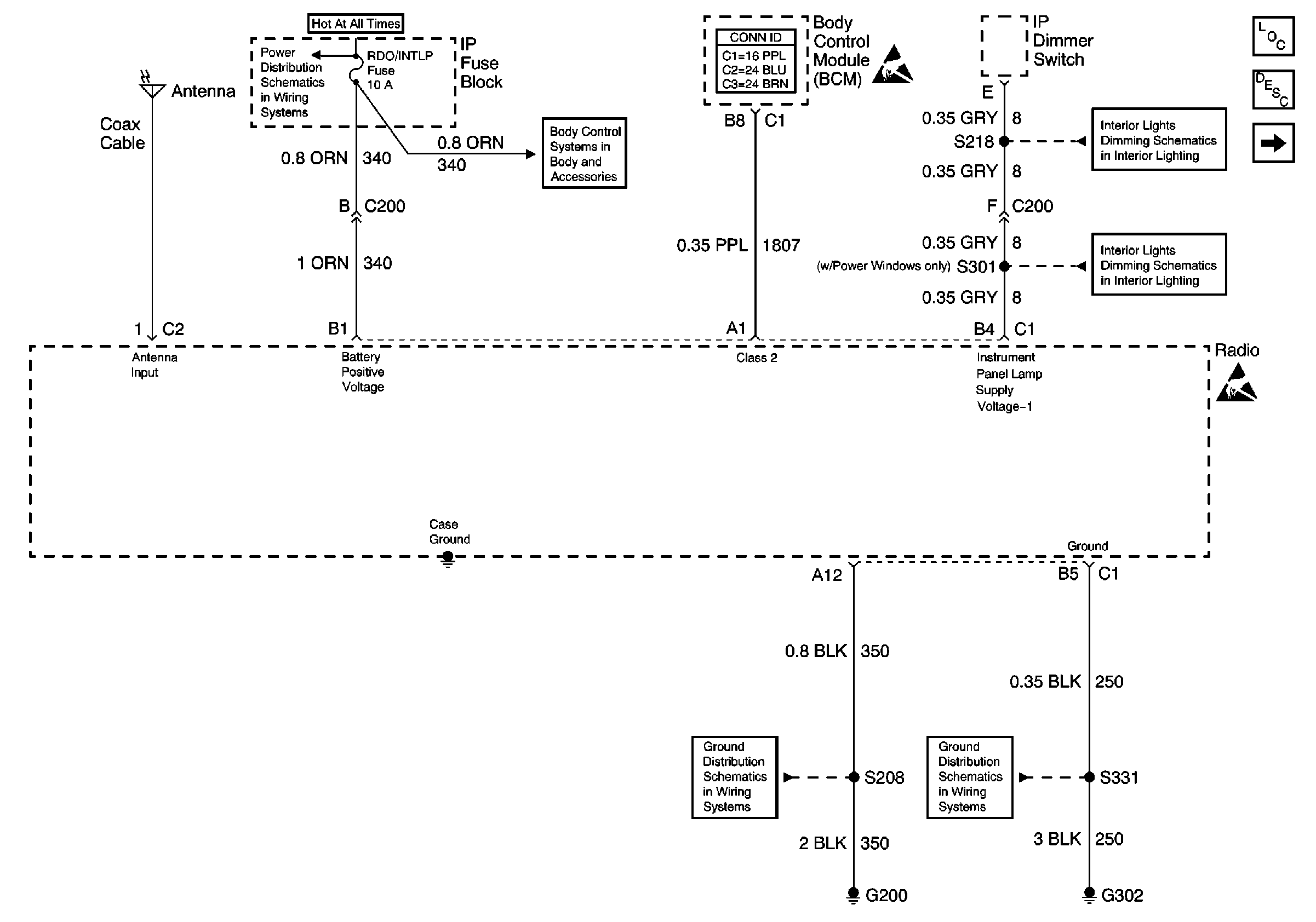
Figure 5:

Entertainment Monsoon Radio (+U85)


Object Number: 527353  Size: FS
Entertainment Amplifier and Speakers (2 of 2)
Handling ESD Sensitive Parts Notice
Powers, Grounds and Class 2 Data Lines
MIRR/LAMPS, RDO/LAMPS, RFA BATT, and RT HDLP Fuses
G103, G201 and G200
Handling ESD Sensitive Parts Notice
Instrument Panel Lamps
Instrument Panel Lamps