GM Service Manual Online
For 1990-2009 cars only
Makes
🢒
Pontiac
🢒
2000
🢒
Sunfire
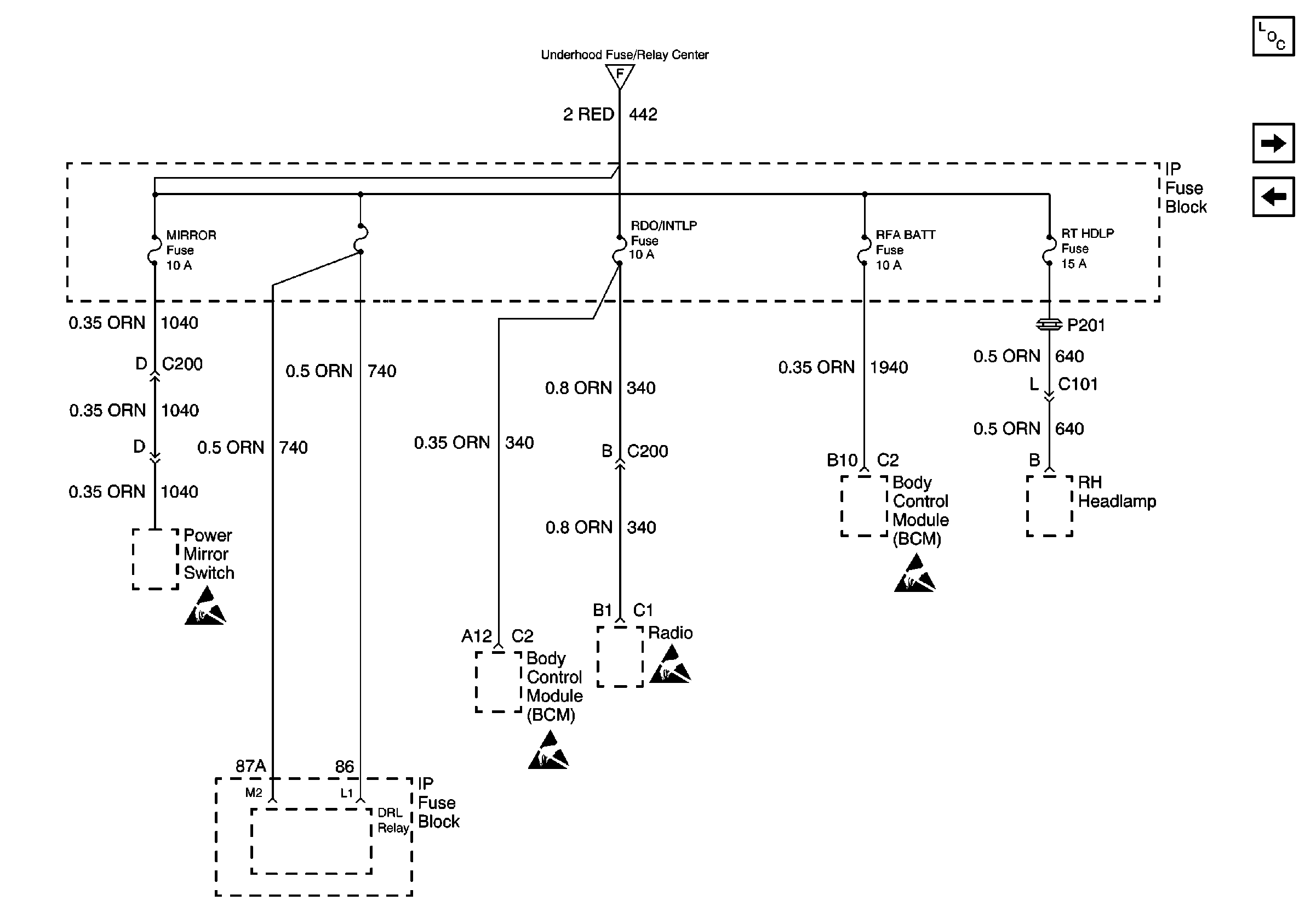
🢒 MIRR/LAMPS, RDO/LAMPS, RFA BATT, and RT HDLP Fuses
MIRR/LAMPS, RDO/LAMPS, RFA BATT, and RT HDLP Fuses
MIRR/LAMPS, RDO/LAMPS, RFA BATT, and RT HDLP Fuses
Power and Grounding Components
HVAC, O2 HTR, and PWR WDO/SUNROOF Fuses
RR DFOG, PWR ACC, and STOP/HAZ Fuses
Cooling Fan, BATT1, BATT2, IGN, PCM/HVAC and ABS Fuses
Handling ESD Sensitive Parts Notice
Handling ESD Sensitive Parts Notice
Handling ESD Sensitive Parts Notice
Handling ESD Sensitive Parts Notice