GM Service Manual Online
For 1990-2009 cars only
Makes
🢒
Pontiac
🢒
2000
🢒
Sunfire
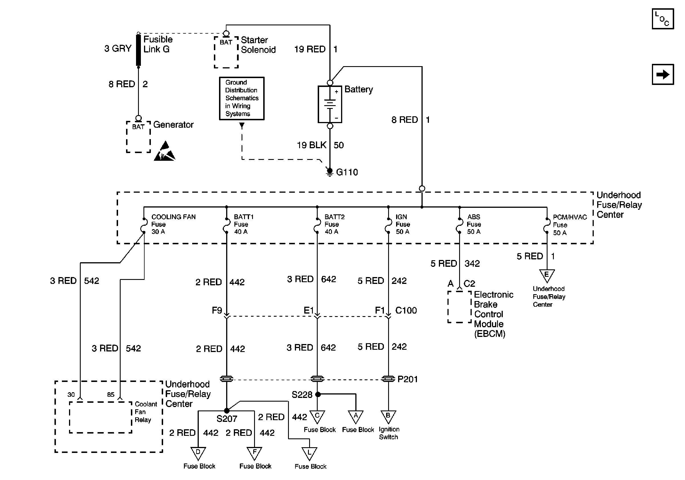
🢒 Cooling Fan, BATT1, BATT2, IGN, PCM/HVAC and ABS Fuses
Cooling Fan, BATT1, BATT2, IGN, PCM/HVAC and ABS Fuses
Cooling Fan, BATT1, BATT2, IGN, PCM/HVAC and ABS Fuses
Power and Grounding Components
PCM, BLO, and A/C Fuses
Handling ESD Sensitive Parts Notice
Ground Distribution Schematics
LT HDLP, CIG, HORN, CLUSTER, EXT LAMP, and FOG LP Fuses
MIRR/LAMPS, RDO/LAMPS, RFA BATT, and RT HDLP Fuses
BCM, and WIPER Fuses
RR DFOG, PWR ACC, and STOP/HAZ Fuses
RR DFOG, PWR ACC, and STOP/HAZ Fuses
Ignition Switch, F/P -INJ, SIR, CRUISE, and ABS Fuses
PCM, BLO, and A/C Fuses