GM Service Manual Online
For 1990-2009 cars only

Object Number: 408317  Size: MF
Engine Controls Components
Fuel Controls
OBD II Symbol Description Notice
Powertrain Control Module Connector End Views
Handling ESD Sensitive Parts Notice

Circuit Description

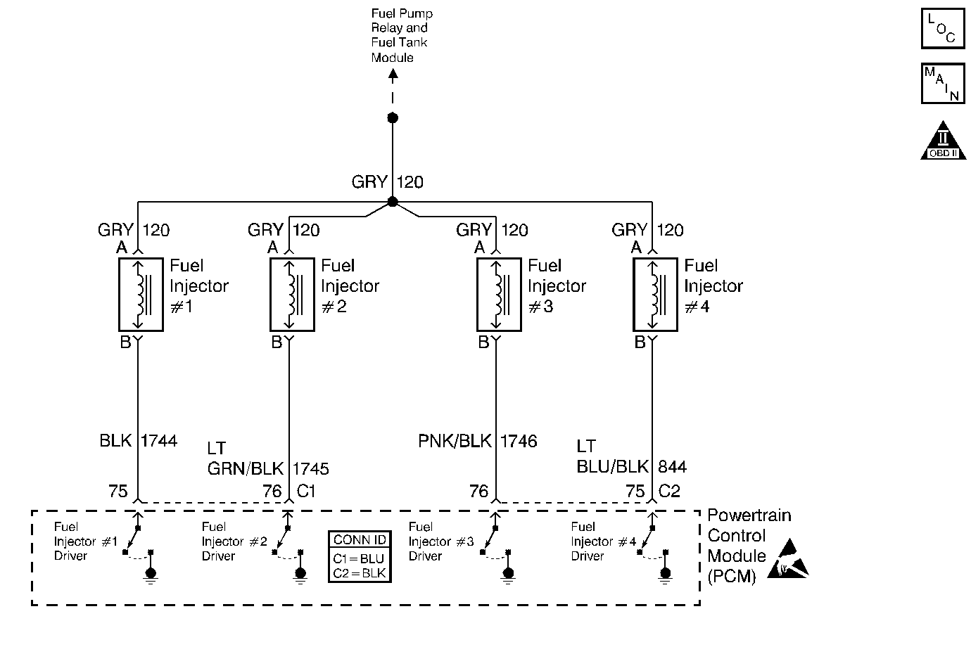
The Powertrain Control Module (PCM) has four fuel injector driver circuits, each of which controls a fuel injector. The PCM monitors the current in each driver circuit and is able to control the driver circuit. The current through each driver can rise to a peak of 2 amps in order to quickly open the fuel injectors. The current can reduce to 1/2 amp to hold the fuel injectors open. This is called peak and hold. If the current cannot reach a 2-amp peak, a DTC is set. This DTC is also set if a fuel injector driver is shorted to voltage.

Conditions for Running the DTC

    • The engine is running.
    • The battery voltage is more than 9 volts.

Conditions for Setting the DTC

    • The injector current is less than 1 amp.
        Or
        The injector current is continuously high.
    • The above conditions are met for 7 seconds.

Action Taken When the DTC Sets

    • The malfunction indicator lamp (MIL) illuminates.
    • The PCM records the operating conditions at the time when the diagnostic fails. This information stores in the Freeze Frame and Failure Records buffers.
    • A history DTC stores.
    • The coolant fan turns ON.

Conditions for Clearing the MIL/DTC

    • The MIL will turn OFF after three consecutive ignition cycles in which the diagnostic runs without a fault.
    • A history DTC will clear after 40 consecutive warm-up cycles without a fault.
    • Use a scan tool to clear the DTCs.

Diagnostic Aids

An injector driver circuit that is open or shorted to voltage will cause a DTC P0201-204 to set and will also cause a misfire due to an inoperative injector. A misfire DTC should also be set, indicating which injector is inoperative.

Long-term and short-term fuel trims that are excessively high or low are a good indication that an injector is malfunctioning. Refer to Fuel Injector Coil Test to check for malfunctioning fuel injectors.

A faulty electrical connection may be cleaned when you are disconnecting and reconnecting the electrical connector. If the malfunction is not present after the electrical terminal connection is disconnected and reconnected, check the electrical connector for the following conditions:

    • Corrosion
    • Faulty terminal tension

Test Description

The numbers below refer to the step numbers on the diagnostic table.

  1. The Powertrain On-Board Diagnostic (OBD) System Check prompts you to complete some of the basic checks and to store the Freeze Frame and Failure Records data on the scan tool if applicable. This creates an electronic copy of the data that was captured when the malfunction occurred. The scan tool stores this data on the scan tool for later reference.

  2. This step tests the harness wiring and for the PCM control of the fuel injectors by using the fuel injector test lamp. If the test lamp blinks, this indicates that the PCM and the wiring to the fuel injectors are OK.

  3. Whether the test lamp was ON steady or OFF while cranking the engine, this step narrows the malfunction down to just a few possibilities.

  4. Because the test lamp was ON steady, the voltage to the fuel injector is OK, but the fuel injector driver circuit is grounded at all times. This step determines if the circuitry is shorted to ground or if the PCM is malfunctioning.

  5. This step determines if the voltage is available to the fuel injector. The voltage is supplied through the fuel pump relay so that the engine must be cranked in order for you to see voltage at the fuel injector.

  6. This step determines if the fuel injector driver circuit is open or shorted to voltage or if the PCM is malfunctioning.

  7. Because the voltage is supplied to the fuel injector on a single circuit before the fuel injector harness, the malfunction could only be a faulty electrical connection or an open in the fuel injector harness. An open before the harness would result in a Cranks But Will Not Run complaint.

  8. Check for faulty electrical connections and corroded terminals at the following connectors:

  9. • The fuel injector electrical connector
    • The fuel injector harness connector
  10. Reprogram the replacement PCM and perform the crankshaft position system variation learn procedure. Refer to the latest Techline™ information for PCM programming .

DTC P0203-Injector Control Circuit

Step

Action

Value(s)

Yes

No

1

Did you perform the Powertrain On-Board Diagnostic (OBD) System Check?

--

Go to Step 2

Go to Powertrain On Board Diagnostic (OBD) System Check

2

Attempt to start the engine.

Will the engine start?

--

Go to Step 3

Go to Engine Cranks but Does Not Run

3

  1. Turn OFF the ignition.
  2. Disconnect all four fuel injector electrical connectors from the fuel injectors.
  3. Install a J 34730-405 Injector Test Lamp on the affected fuel injector electrical connector.
  4. Crank the engine and observe the fuel injector test lamp.

Does the fuel injector test lamp blink on all of the tests?

--

Go to Fuel Injector Solenoid Coil Test - Engine Coolant Temperature Between 10-35 Degrees C (50-95 Degrees F)

Go to Step 4

4

Was the fuel injector test lamp was ON steady in step 3 for the affected fuel injector electrical connector that did not blink?

--

Go to Step 5

Go to Step 7

5

  1. Remove the fuel injector test lamp from the affected circuit if this has not already been done.
  2. Turn OFF the ignition.
  3. Disconnect the PCM connector for the affected fuel injector.
  4. Connect a test lamp to B+.
  5. Notice: Do not insert test equipment probes (DVOM etc.) into any connector or fuse block terminal. The diameter of the test probes will deform most terminals. A deformed terminal will cause a poor connection, which will result in a system failure. Always use the J-35616 GM-Approved Terminal Test Kit in order to front probe terminals. Do not use paper clips or other substitutes to probe terminals.

    When using the J-35616 GM-Approved Terminal Test Kit, ensure the terminal test adapter choice is the correct size for the connector terminal. Do not visually choose the terminal test adapter because some connector terminal cavities may appear larger than the actual terminal in the cavity. Using a larger terminal test adapter will damage the terminal. Refer to the J-35616 GM-Approved Terminal Test Kit label on the inside of the J-35616 GM-Approved Terminal Test Kit for the correct adapter along with the connector end view for terminal size.

  6. Probe the affected fuel injector driver circuits at the fuel injector harness connector.
  7. Probe the affected fuel injector driver circuit.

Does the test lamp illuminate?

--

Go to Step 6

Go to Step 13

6

Repair the short to ground in the driver circuit as necessary. Refer to Wiring Repairs in Wiring Systems.

Is the action complete?

--

Go to Step 14

--

7

  1. Connect a test lamp to ground.
  2. Notice: Do not insert test equipment probes (DVOM etc.) into any connector or fuse block terminal. The diameter of the test probes will deform most terminals. A deformed terminal will cause a poor connection, which will result in a system failure. Always use the J-35616 GM-Approved Terminal Test Kit in order to front probe terminals. Do not use paper clips or other substitutes to probe terminals.

    When using the J-35616 GM-Approved Terminal Test Kit, ensure the terminal test adapter choice is the correct size for the connector terminal. Do not visually choose the terminal test adapter because some connector terminal cavities may appear larger than the actual terminal in the cavity. Using a larger terminal test adapter will damage the terminal. Refer to the J-35616 GM-Approved Terminal Test Kit label on the inside of the J-35616 GM-Approved Terminal Test Kit for the correct adapter along with the connector end view for terminal size.

  3. Install the connector test probe into the fuel injector ignition feed circuit electrical connector.
  4. Probe the ignition feed circuit of the affected fuel injector electrical connector.
  5. Crank the engine.

Does the test lamp illuminate while cranking?

--

Go to Step 8

Go to Step 9

8

  1. Connect a test lamp to ground.
  2. Notice: Do not insert test equipment probes (DVOM etc.) into any connector or fuse block terminal. The diameter of the test probes will deform most terminals. A deformed terminal will cause a poor connection, which will result in a system failure. Always use the J-35616 GM-Approved Terminal Test Kit in order to front probe terminals. Do not use paper clips or other substitutes to probe terminals.

    When using the J-35616 GM-Approved Terminal Test Kit, ensure the terminal test adapter choice is the correct size for the connector terminal. Do not visually choose the terminal test adapter because some connector terminal cavities may appear larger than the actual terminal in the cavity. Using a larger terminal test adapter will damage the terminal. Refer to the J-35616 GM-Approved Terminal Test Kit label on the inside of the J-35616 GM-Approved Terminal Test Kit for the correct adapter along with the connector end view for terminal size.

  3. Install the connector test probe into the fuel injector driver circuit electrical connector.
  4. Probe the fuel injector driver circuit of the affected fuel injector electrical connector.
  5. Crank the engine.

Is the test lamp OFF while you crank the engine?

--

Go to Step 10

Go to Step 11

9

  1. Turn OFF the ignition.
  2. Repair the open or faulty electrical terminal connection in the ignition feed circuit in the fuel injector harness. Refer to Wiring Repairs in Wiring Systems.

Is the action complete?

--

Go to Step 14

--

10

  1. Turn OFF the ignition.
  2. Check for the following conditions in the fuel injector driver circuit:
  3. • An open circuit
    • A faulty electrical terminal connection

Is a problem present?

--

Go to Step 12

Go to Step 13

11

  1. Turn OFF the ignition.
  2. Repair the short to voltage in the fuel injector driver circuit. Refer to Wiring Repairs in Wiring Systems.

Is the action complete?

--

Go to Step 14

--

12

Repair the following conditions in the fuel injector driver circuit: Refer to Wiring Repairs in Wiring Systems.

    • An open circuit
    • A faulty electrical terminal connection

Is the action complete?

--

Go to Step 14

--

13

Important: Refer to Powertrain Control Module Replacement/Programming .

Replace the PCM. Refer to Powertrain Control Module Replacement .

Did you complete the replacement?

--

Go to Step 14

--

14

  1. Reconnect all the fuel injector electrical connectors.
  2. Install the air cleaner outlet resonator. Refer to Air Cleaner Outlet Resonator Replacement for the installation procedure.
  3. Clear the DTCs with the scan tool.
  4. Start the engine.
  5. Idle the engine at the normal operating temperature.
  6. Operate the vehicle within the Conditions for Running this DTC as specified in the supporting text.

Does the scan tool indicate that this diagnostic ran and passed?

--

Go to Step 15

Go to Step 2

15

Check to see if any additional DTCs are set.

Does the scan tool display any DTCs that you have not diagnosed?

--

Go to applicable DTC

System OK