GM Service Manual Online
For 1990-2009 cars only
Makes
🢒
Pontiac
🢒
2001
🢒
Sunfire
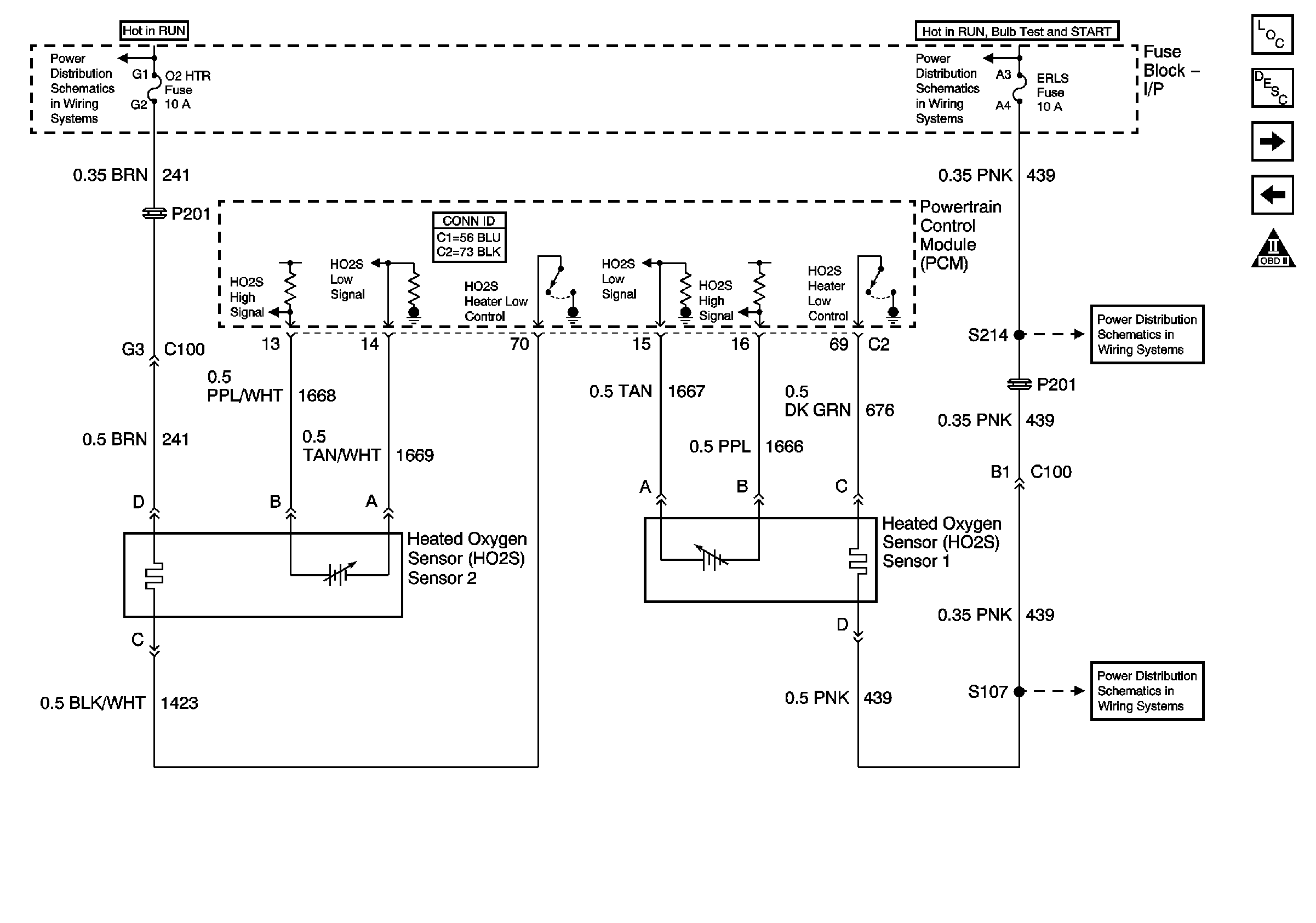
🢒 Engine Data Sensors - O2S and HO2S
Engine Data Sensors - O2S and HO2S
Engine Data Sensors -- O2S and HO2S
Master Electrical Component List
OBD II Symbol Description Notice
EOP Sensor, IAC, PNP and Generator
EVAP Controls and IAC
OBD II Symbol Description Notice
I/P Fuse Block BCM, WIPER, HVAC, 02 HTR Fuses and PWR WDO Circuit Breaker
I/P Fuse Block ERLS Fuse
I/P Fuse Block ERLS Fuse
I/P Fuse Block ERLS Fuse
G112