GM Service Manual Online
For 1990-2009 cars only
Makes
🢒
Pontiac
🢒
2001
🢒
Sunfire
🢒 Power,Ground, and Serial Data
Power,Ground, and Serial Data
Power, Ground and Serial Data
Master Electrical Component List
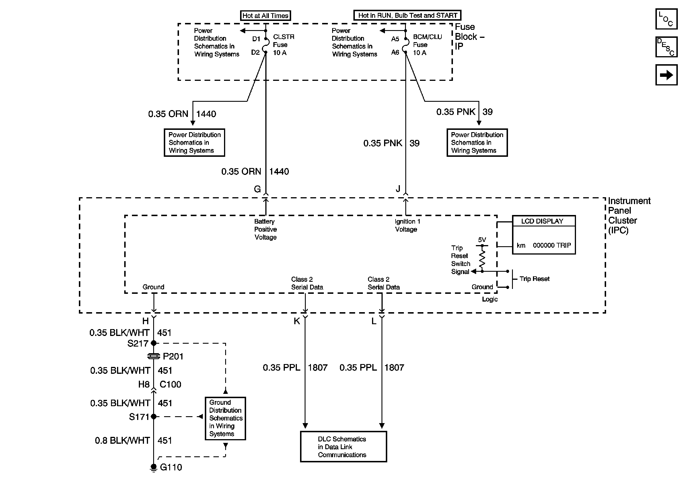
Gages
IP Fuse Block CIG, HORN, LT HDLP, CLSTR, EXT, LP, FOG Fuses, and HDLP Circuit Breaker
IP Fuse Block TURN - B/U, IGN MDL, PCM, BCM /CLU Fuses
G110
Data Link Connector