GM Service Manual Online
For 1990-2009 cars only
Makes
🢒
Pontiac
🢒
2001
🢒
Sunfire
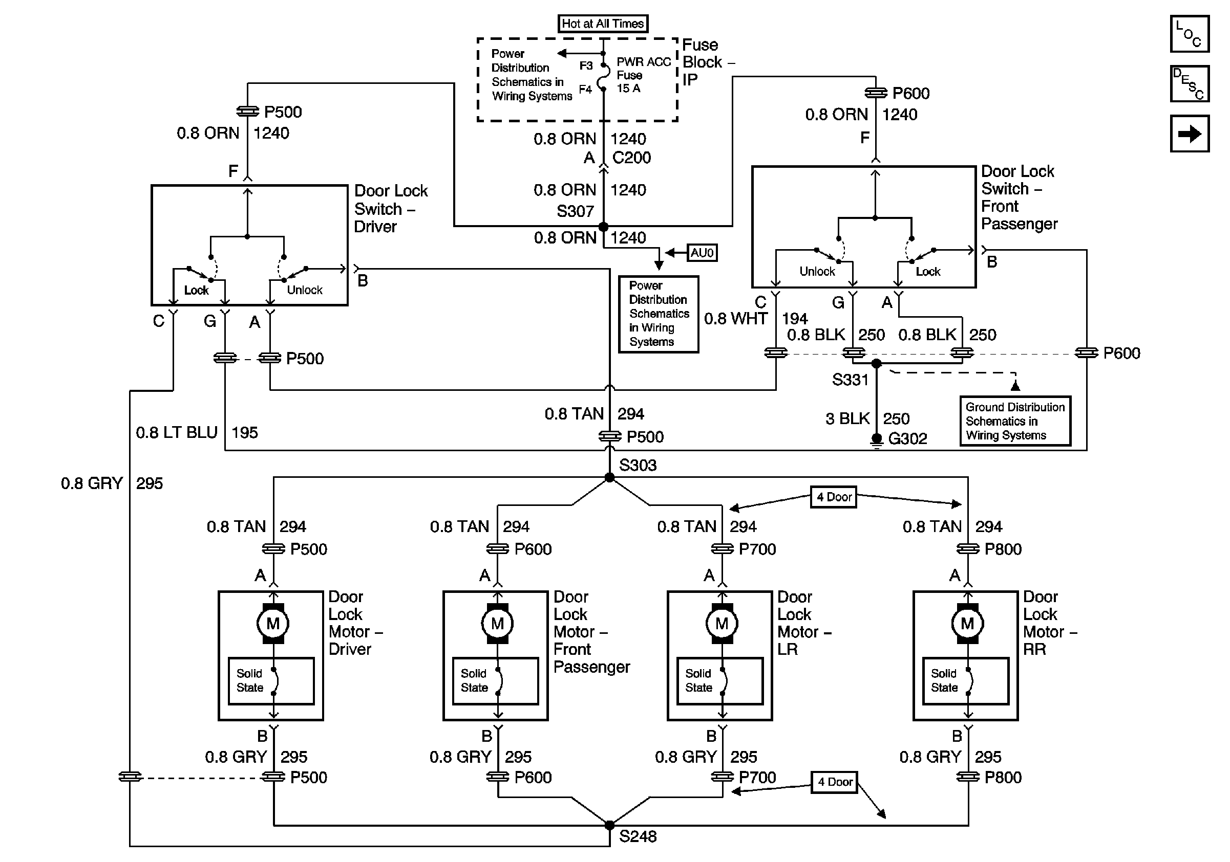
🢒 W/O AUO
W/O AUO
W/O AUO
Master Electrical Component List
Switch and Controls - W/AUO
G302