GM Service Manual Online
For 1990-2009 cars only
Makes
🢒
Pontiac
🢒
2001
🢒
Sunfire
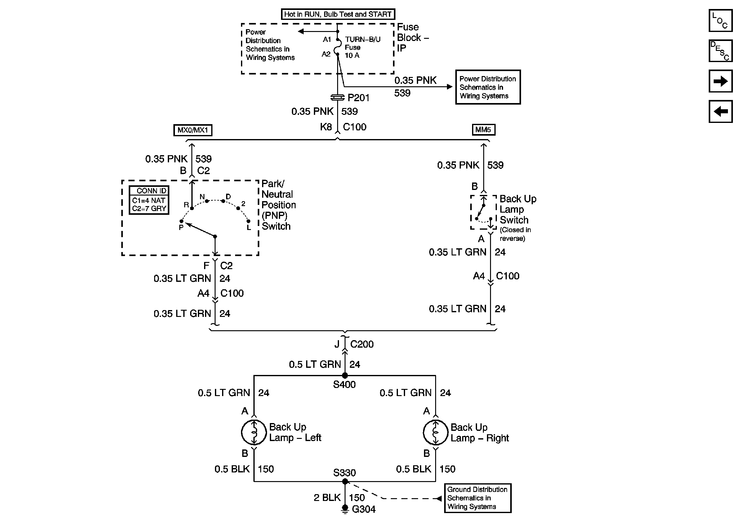
🢒 Back Up Lamps
Back Up Lamps
Back Up Lamps
Master Electrical Component List
Center High Mounted Stop Lamps
Rear Lamps