GM Service Manual Online
For 1990-2009 cars only
Makes
🢒
Pontiac
🢒
2002
🢒
Sunfire
🢒
Body and Accessories
🢒
Cruise Control
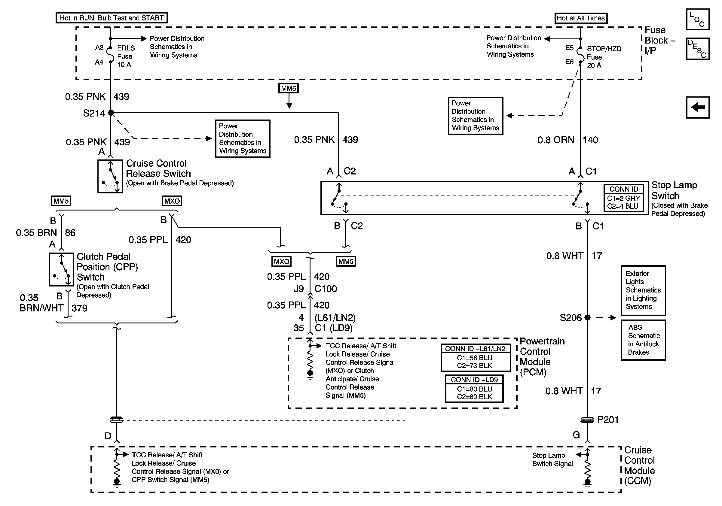
🢒 Cruise Control Schematics
Figure
1:
Power, Ground, and Controls
Master Electrical Component List
Cruise Control Description and Operation
Brake Switch and CCM
I/P Fuse Block ERLS Fuse
Controlled/Monitored Subsystem References (2 of 2)
Gauges
Figure
2:
Release Signals