GM Service Manual Online
For 1990-2009 cars only
Makes
🢒
Pontiac
🢒
2002
🢒
Sunfire
🢒 Gauges
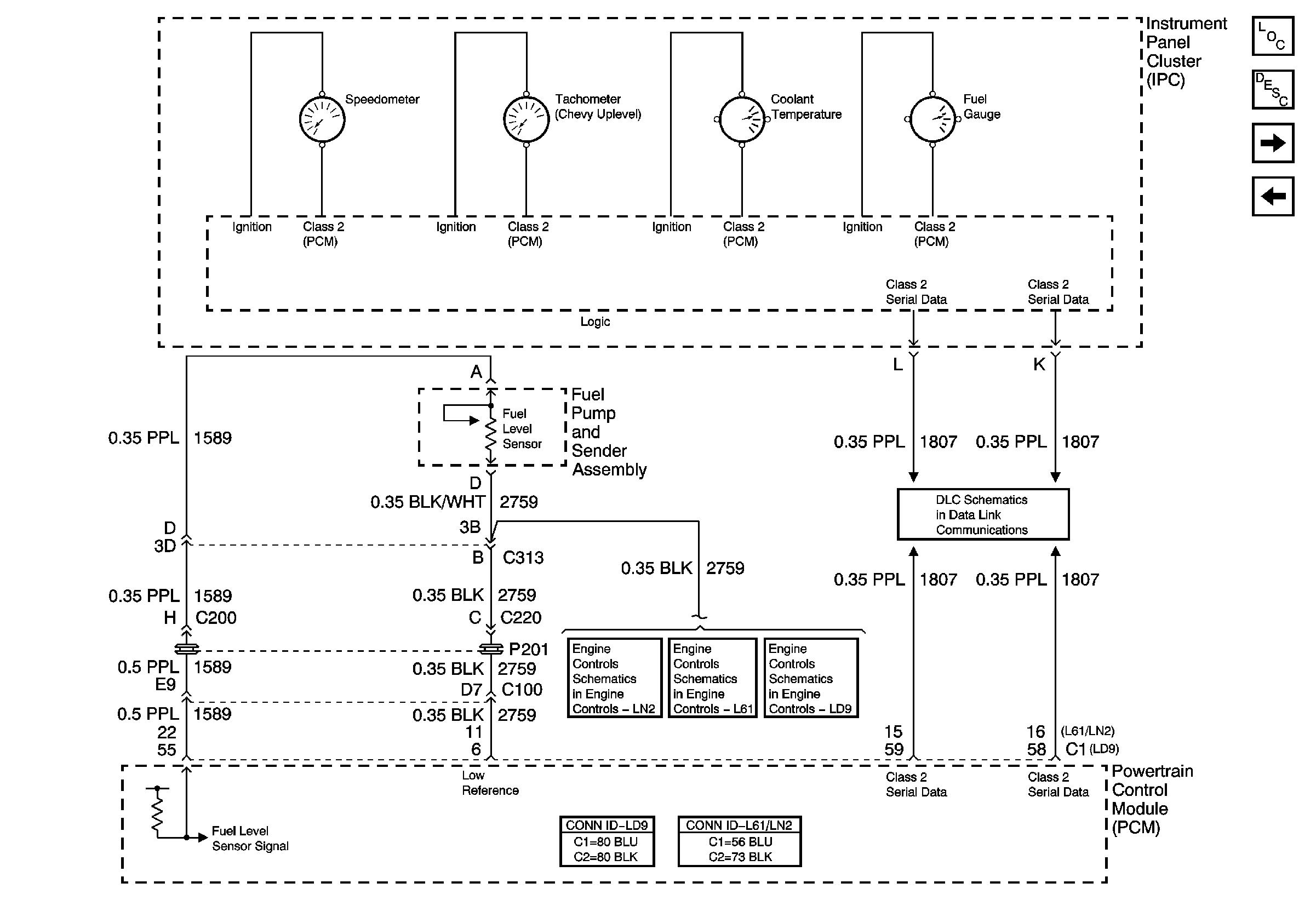
Gauges
Gages
Master Electrical Component List
Instrument Cluster Description and Operation
Indicators
Power, Ground and Serial Data
Engine Data Sensors - Pressure and Temperature