GM Service Manual Online
For 1990-2009 cars only
Makes
🢒
Pontiac
🢒
2002
🢒
Sunfire
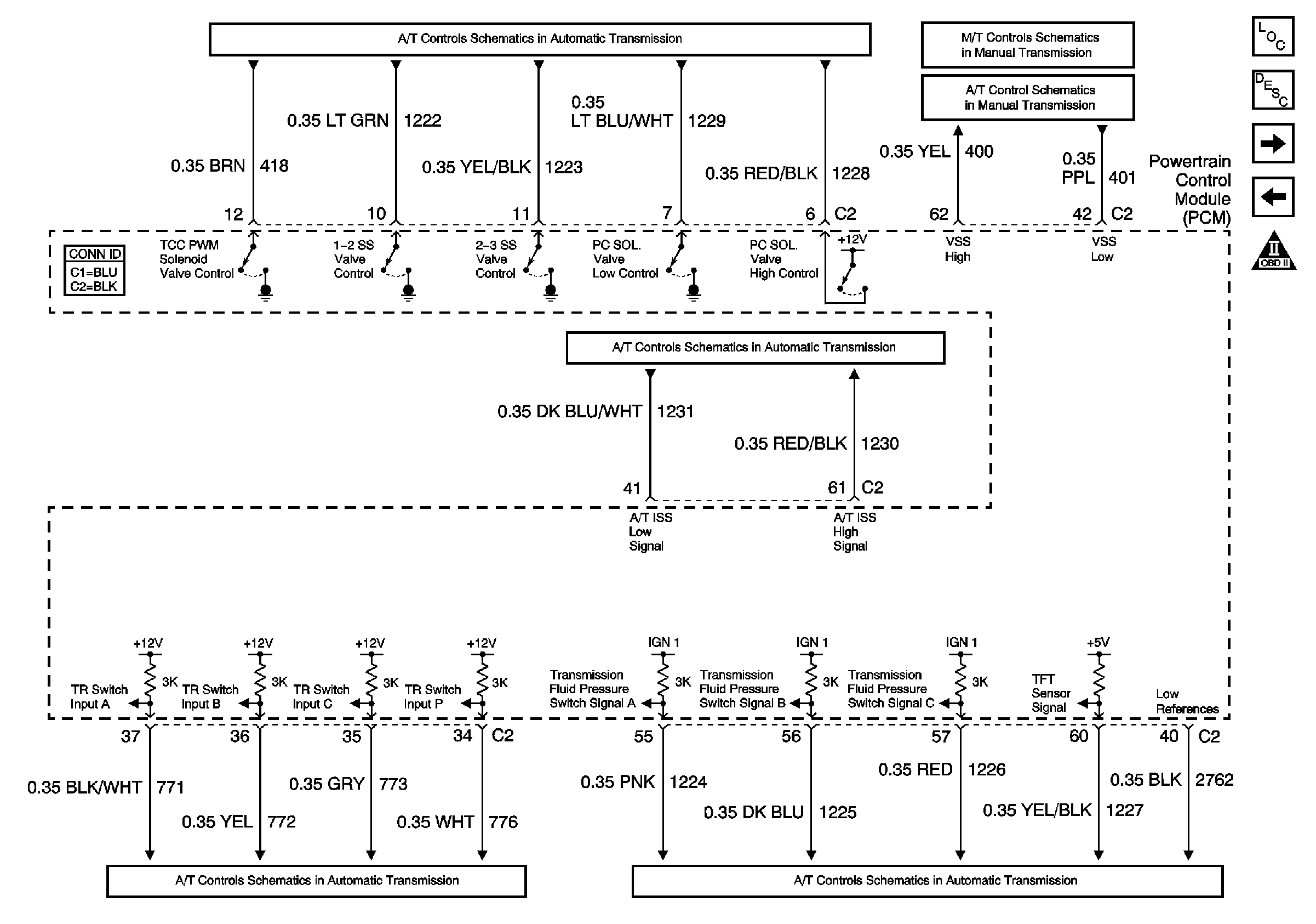
🢒 Controlled/Monitored Subsystem References (1 of 2)
Controlled/Monitored Subsystem References (1 of 2)
Controlled/Monitored Subsystem References (1 of 2)
Master Electrical Component List
Powertrain Control Module Description
Controlled/Monitored Subsystem References (2 of 2)
EVAP Controls and IAC
OBD II Symbol Description Notice
TFP Switch and Speed Sensors
TFP Switch and Speed Sensors
Solenoid Controls