GM Service Manual Online
For 1990-2009 cars only
Makes
🢒
Pontiac
🢒
2002
🢒
Sunfire
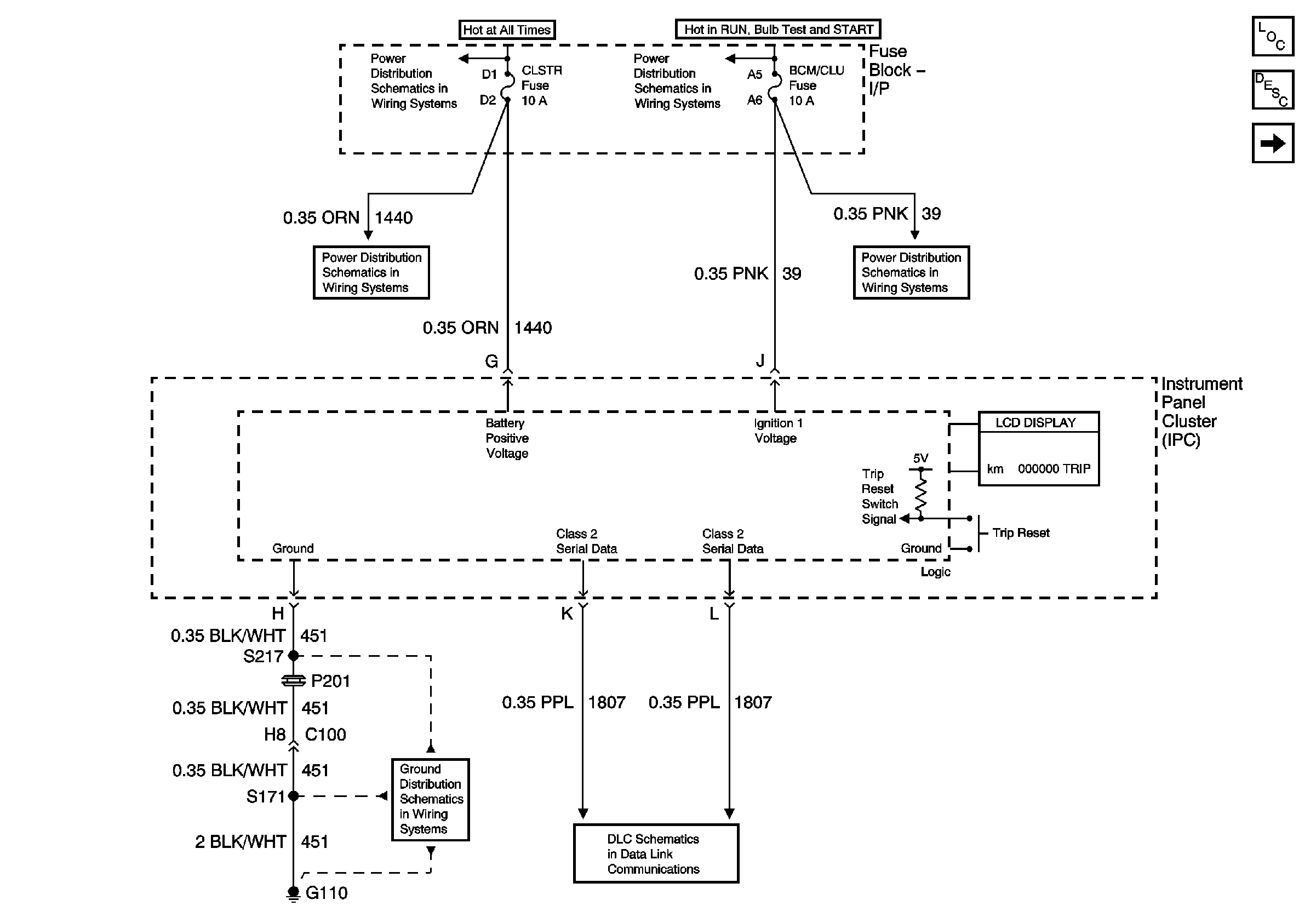
🢒 Power, Ground and Serial Data
Power, Ground and Serial Data
Power, Ground and Serial Data
Master Electrical Component List
Instrument Cluster Description and Operation
Gauges
I/P Fuse Block CIG, HORN, CLSTR, EXT LAMP, FOG, LT HDLP Fuses and HDLP Circuit Breaker
I/P Fuse Block CIG, HORN, CLSTR, EXT LAMP, FOG, LT HDLP Fuses and HDLP Circuit Breaker
I/P Fuse Block TURN-B/U, IGN MDL, PCM and BCM/CLU Fuses
I/P Fuse Block TURN-B/U, IGN MDL, PCM and BCM/CLU Fuses
G110 and G111
Data Link Connector (DLC)