GM Service Manual Online
For 1990-2009 cars only
Makes
🢒
Pontiac
🢒
2002
🢒
Sunfire
🢒 Body Rear End
Body Rear End
Master Electrical Component List
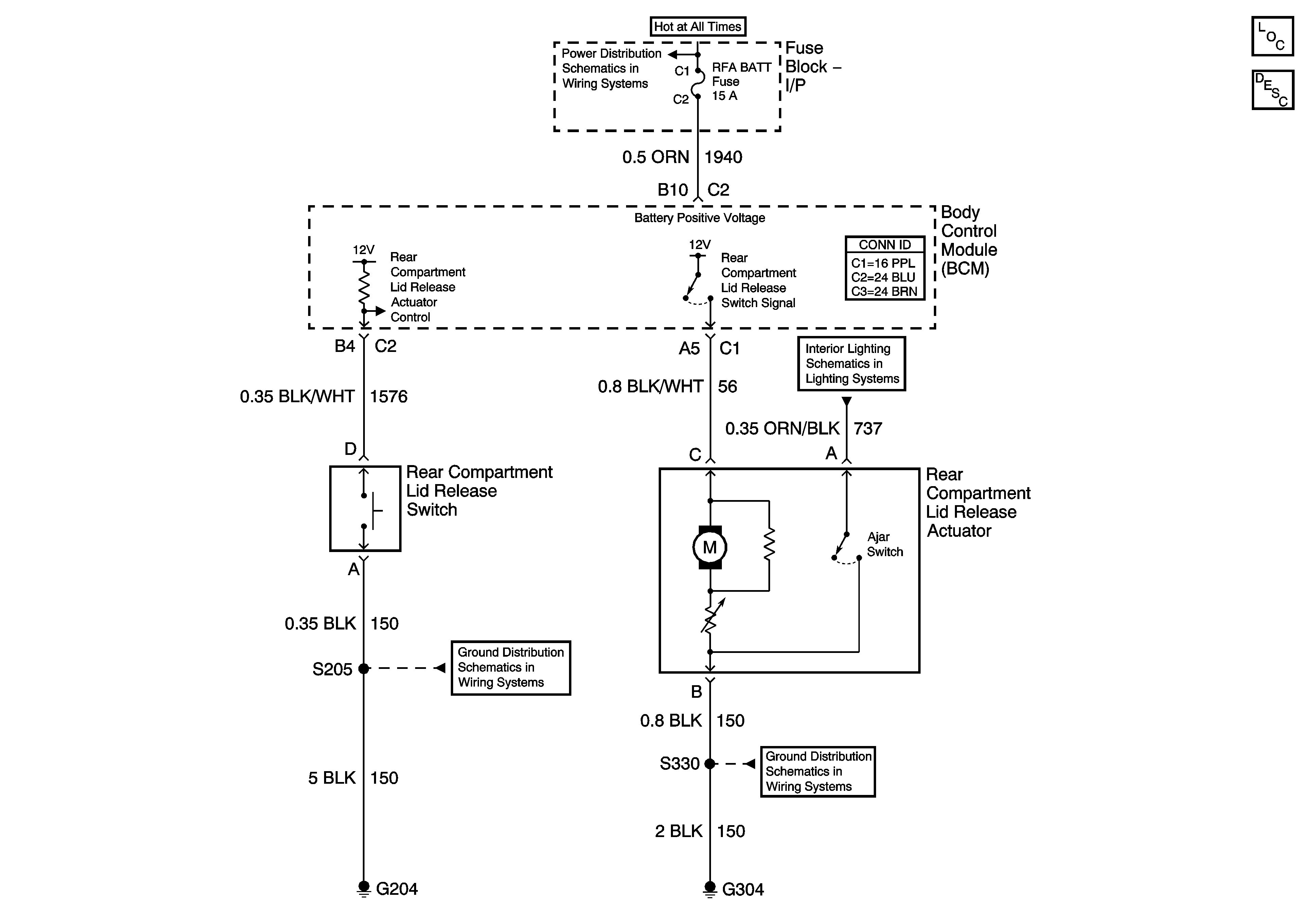
Luggage Compartment Description and Operation
G304 - 1 of 2
G204 - 1 of 2
Rear Compartment Lamp