GM Service Manual Online
For 1990-2009 cars only
Makes
🢒
Pontiac
🢒
2002
🢒
Sunfire
🢒 Back Up Lamps
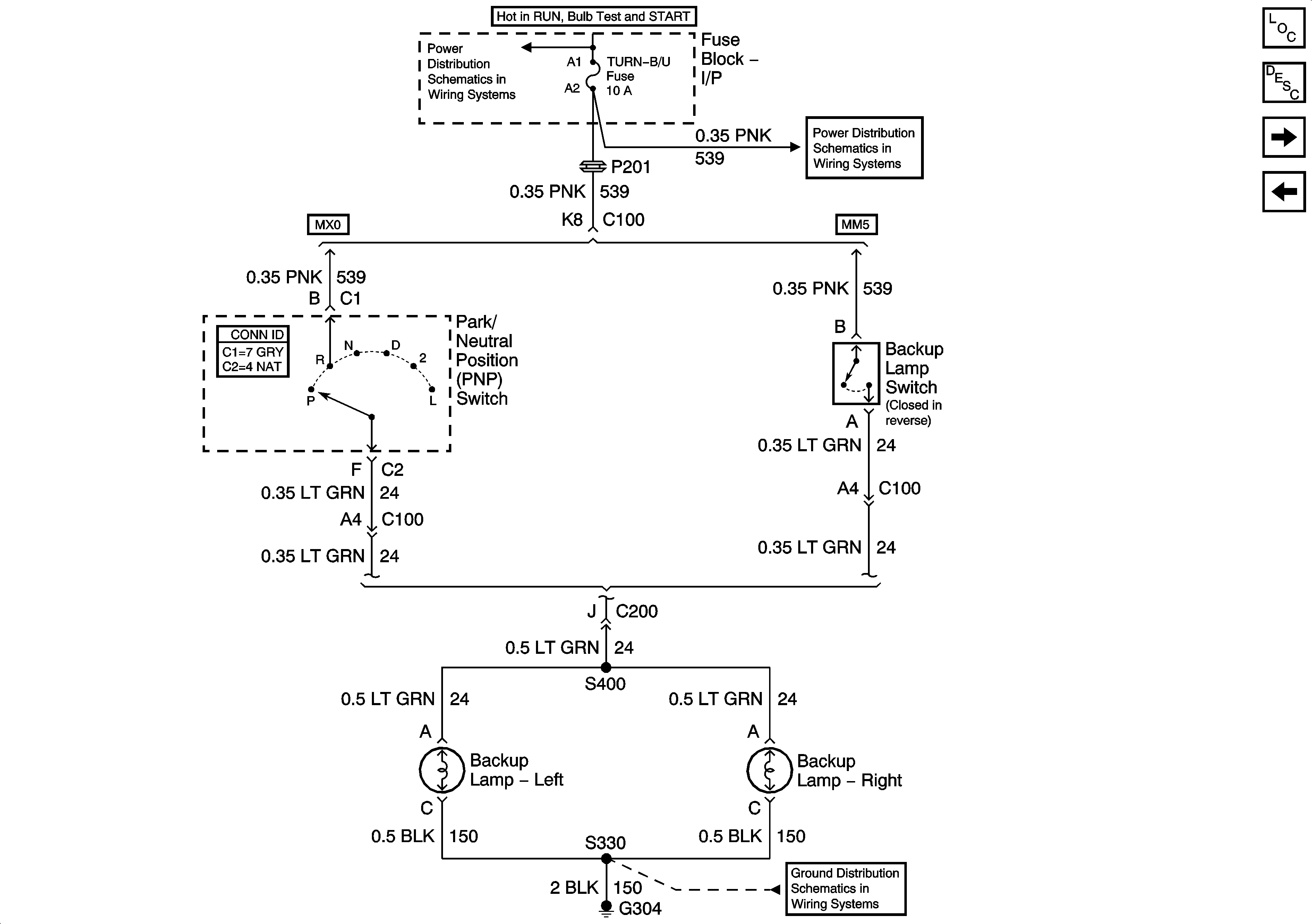
Back Up Lamps
Back Up Lamps
Master Electrical Component List
Exterior Lighting Systems Description and Operation
Center High Mounted Stop Lamps
Rear Lamps
I/P Fuse Block TURN-B/U, IGN MDL, PCM and BCM/CLU Fuses
I/P Fuse Block TURN-B/U, IGN MDL, PCM and BCM/CLU Fuses
G304 - 1 of 2