GM Service Manual Online
For 1990-2009 cars only
Makes
🢒
Pontiac
🢒
2003
🢒
Sunfire
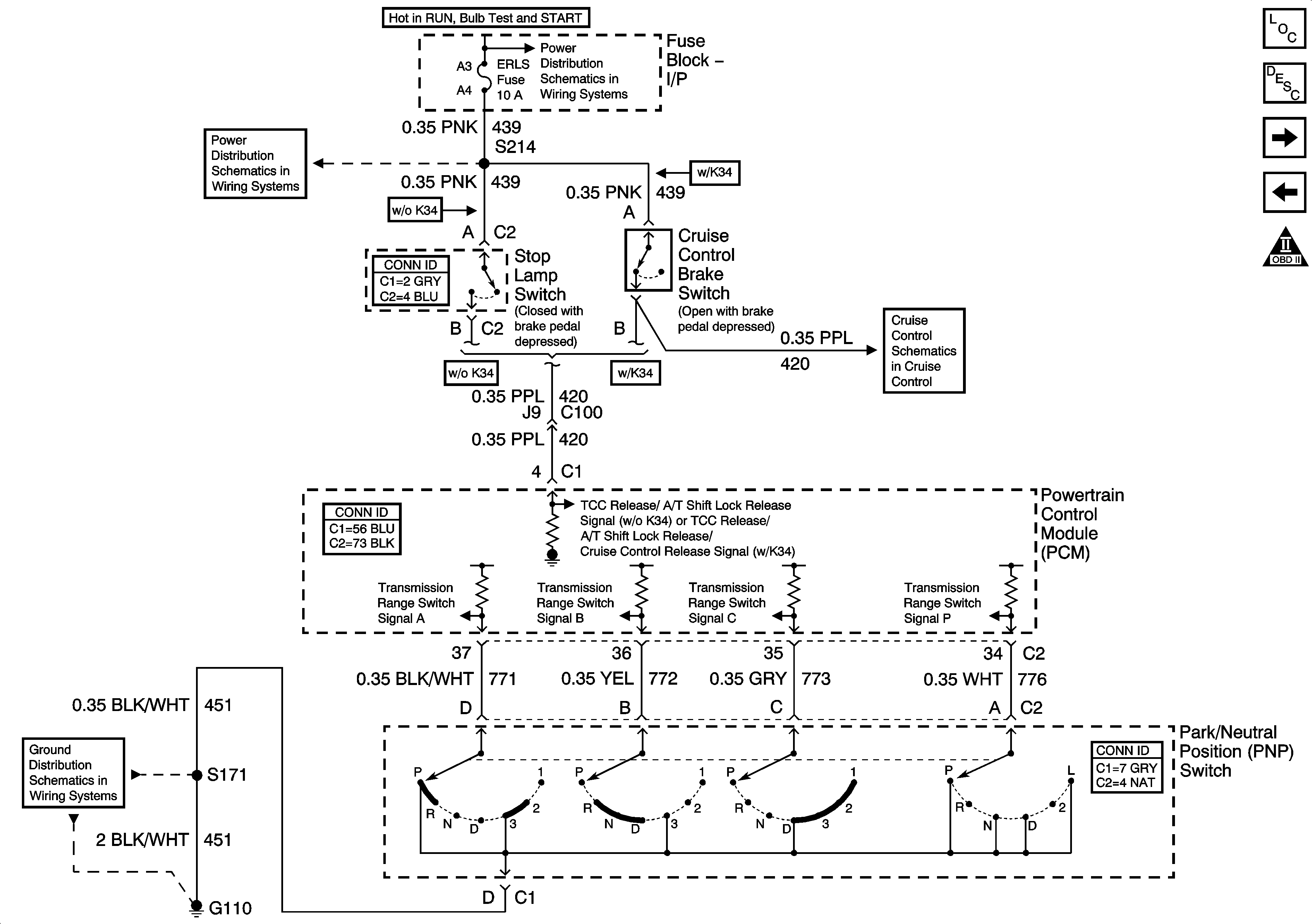
🢒 PNP Switch and TCC Release Signal
PNP Switch and TCC Release Signal
PNP Switch and TCC Release Signal
Master Electrical Component List
Transmission General Description
Solenoid Controls
Automatic Transmission Controls
OBD II Symbol Description Notice
Fuse Block-I/P ERLS Fuse
Fuse Block-I/P ERLS Fuse
Release Signals
G110