GM Service Manual Online
For 1990-2009 cars only
Makes
🢒
Pontiac
🢒
2003
🢒
Sunfire
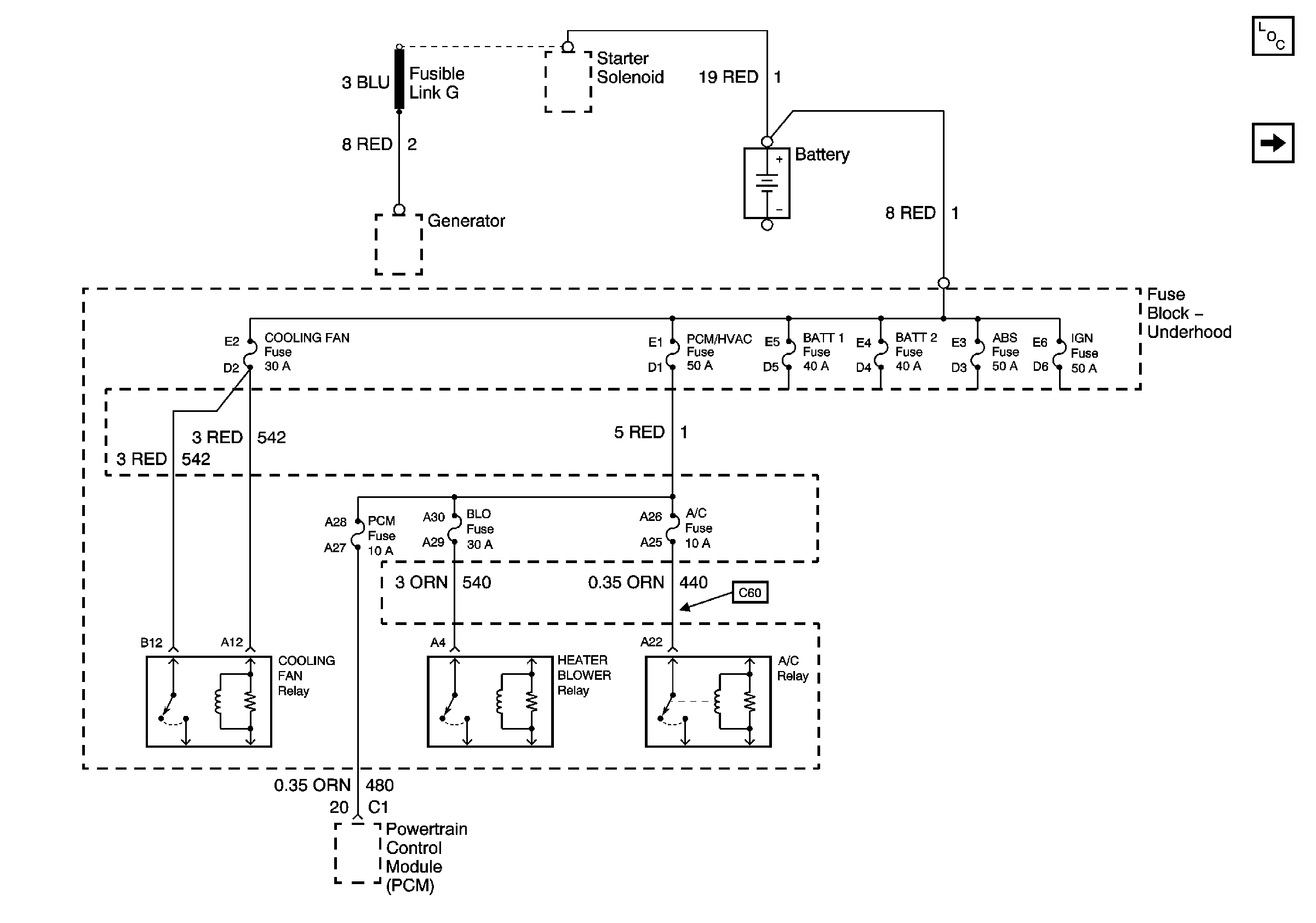
🢒 Fuse Block-Underhood B+ Buss Bar
Fuse Block-Underhood B+ Buss Bar
FUSE BLOCK - UNDERHOOD B+ BAR
Master Electrical Component List
Fuse Block-Underhood BATT 1 Fuse, Fuse Block-I/P MIRROR, RT HDLP, FLS/PASS, RDO/INTLP, RFA BATT and AMPL Fuses