GM Service Manual Online
For 1990-2009 cars only
Makes
🢒
Pontiac
🢒
2003
🢒
Sunfire
🢒 G204 2 of 2
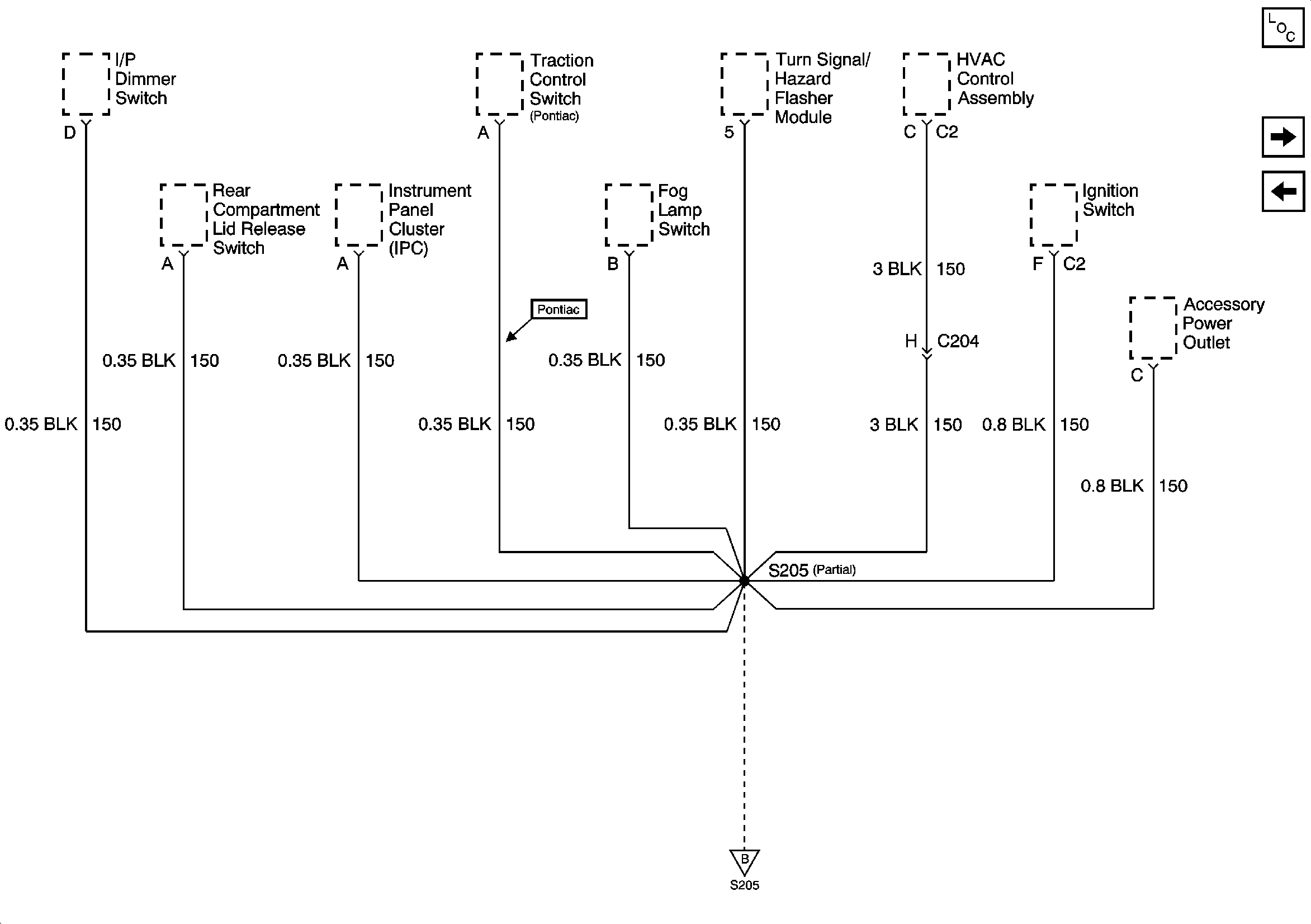
G204 2 of 2
G204 (Page 2 of 2)
Master Electrical Component List
G302
G204 1 of 2
G204 1 of 2