GM Service Manual Online
For 1990-2009 cars only
Makes
🢒
Pontiac
🢒
2003
🢒
Sunfire
🢒 Gauges
Gauges
Gages
Master Electrical Component List
Instrument Cluster Description and Operation
Indicator Lights and EOP
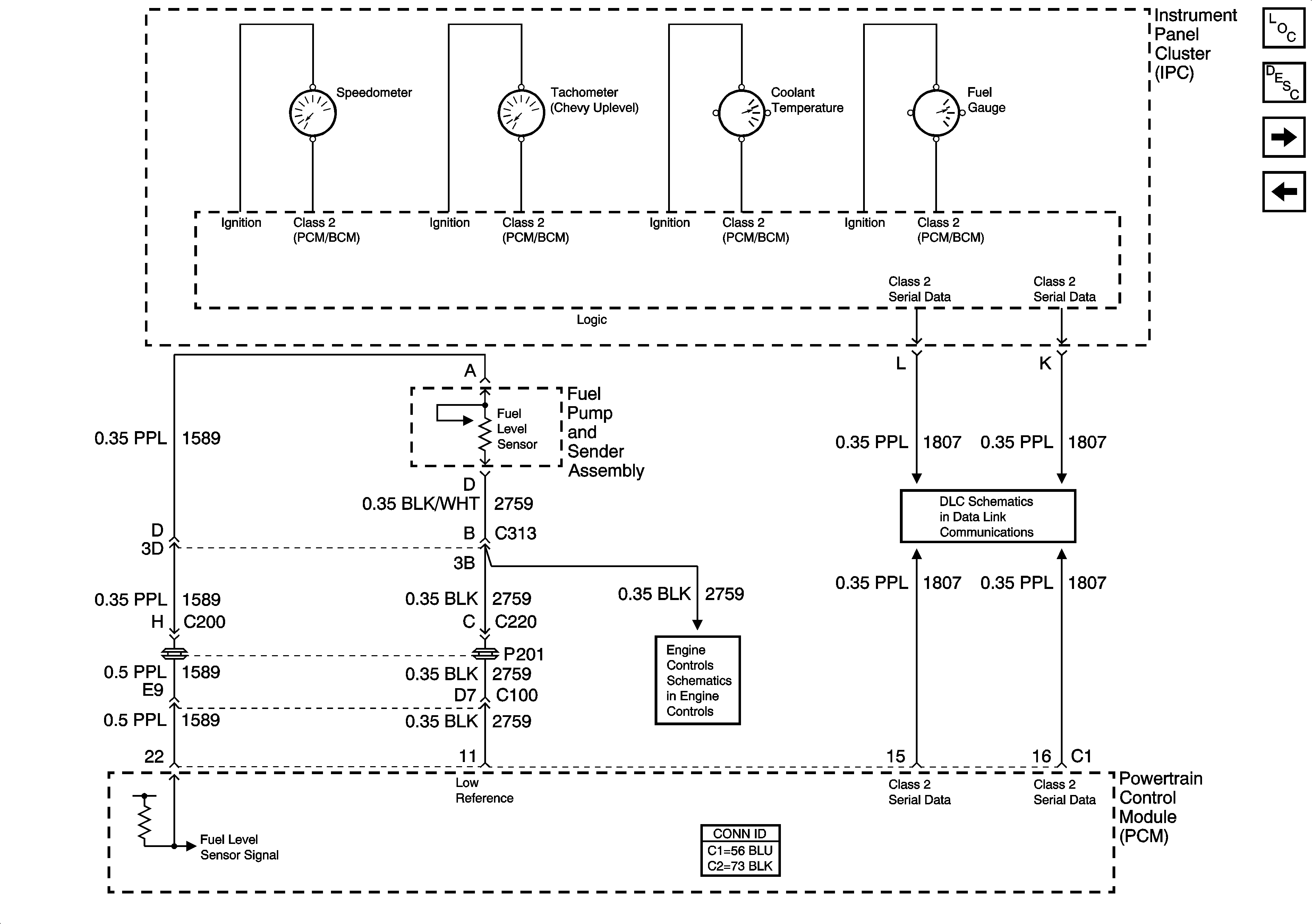
Power, Ground and Serial Data
Engine Data Sensors-Pressure and Temperature
Data Link Communications