GM Service Manual Online
For 1990-2009 cars only
Makes
🢒
Pontiac
🢒
2003
🢒
Sunfire
🢒 Audible Warning
Audible Warning
Master Electrical Component List
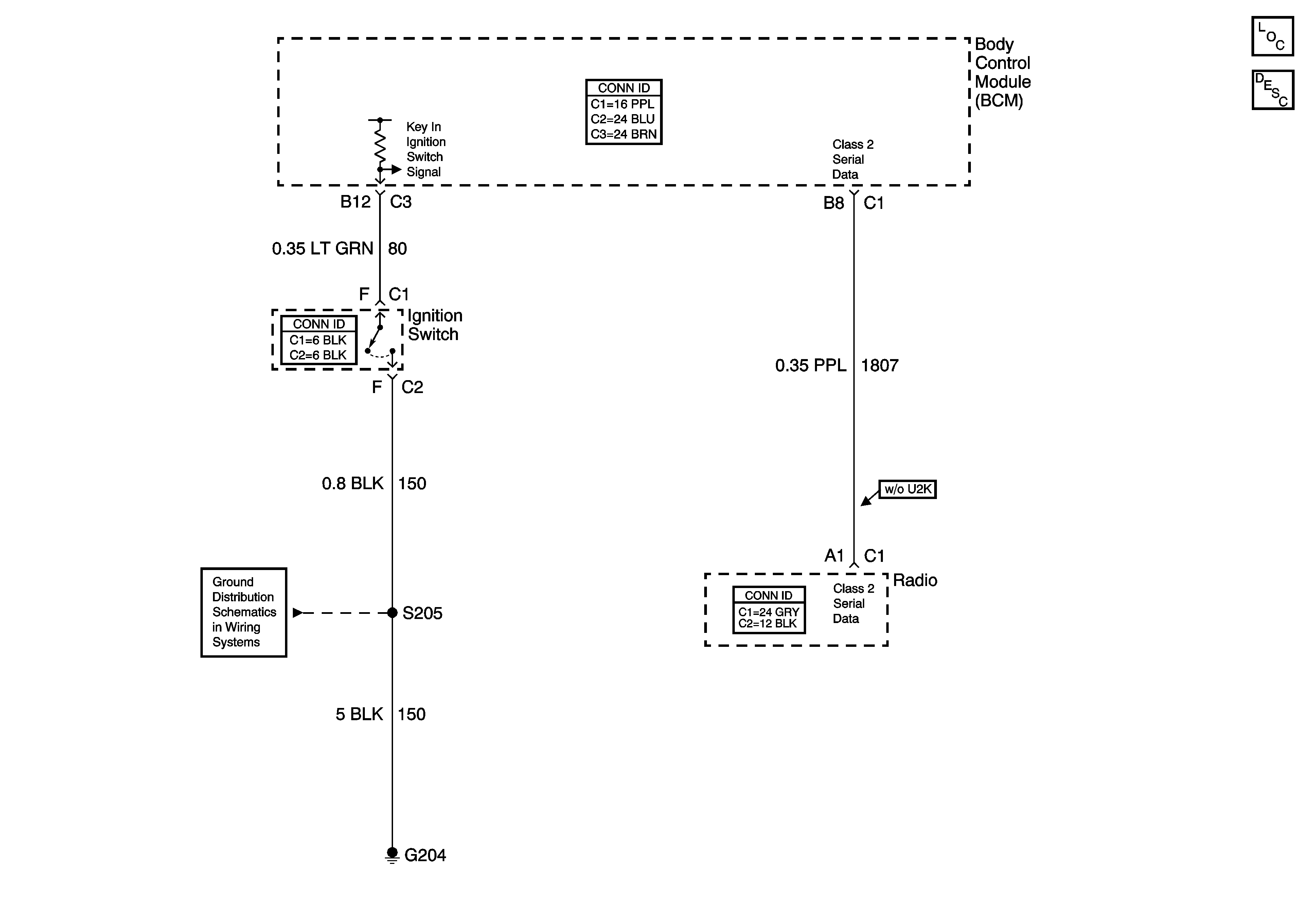
Audible Warnings Description and Operation
G204 2 of 2