GM Service Manual Online
For 1990-2009 cars only

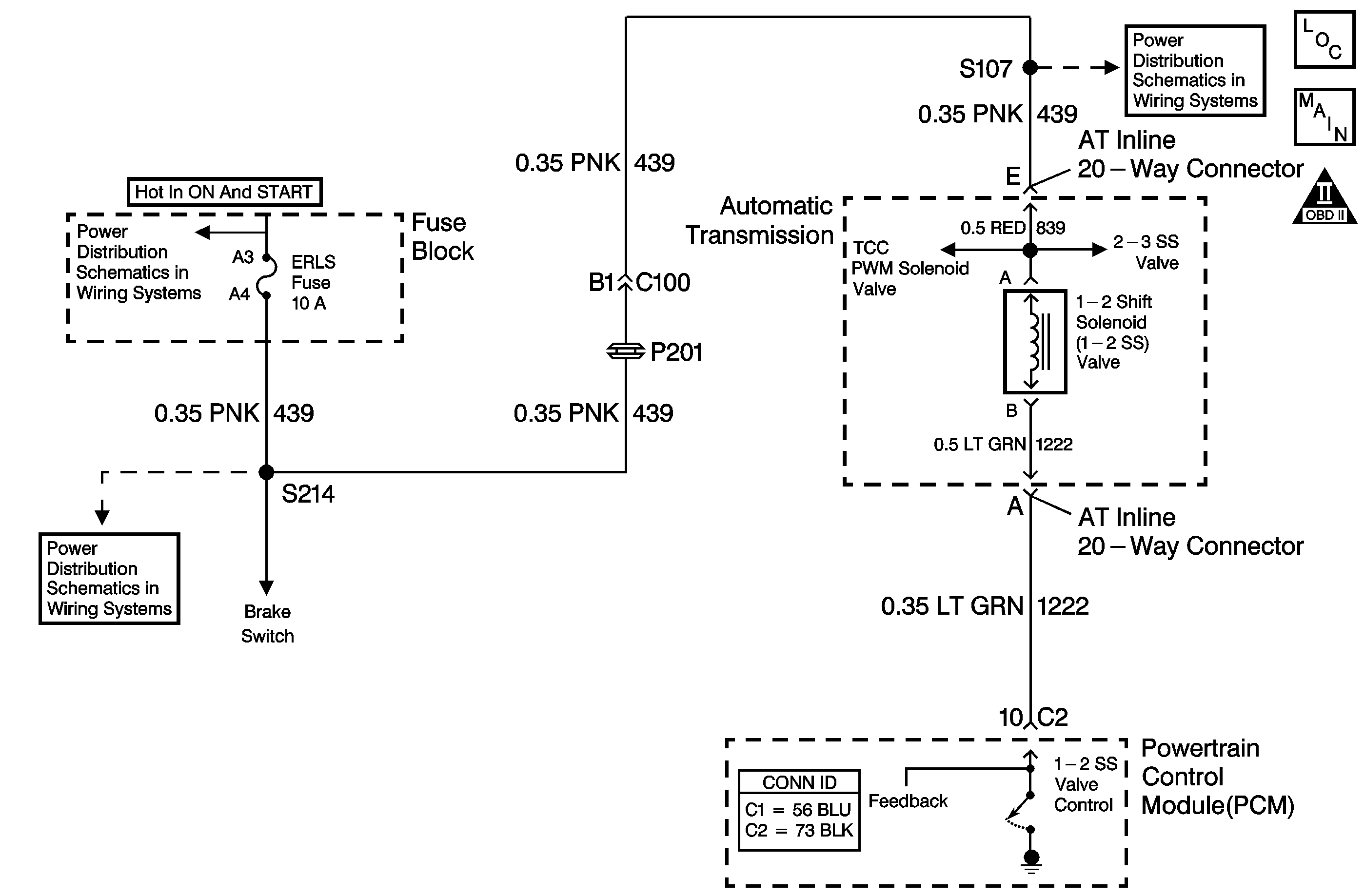
Object Number: 1277702  Size: MF
Master Electrical Component List
Automatic Transmission Controls Schematics
OBD II Symbol Description Notice

Circuit Description

The 1-2 shift solenoid (SS) valve controls fluid flow acting on the 1-2 shift valve. The solenoid is a normally-open valve that, in conjunction with the 2-3 shift solenoid (SS) valve, allows four different shifting combinations. Refer to Shift Solenoid Valve State and Gear Ratio . The 1-2 SS valve is attached to the control valve body, within the transmission.

The solenoid receives ignition voltage through the fused power feed circuit. The PCM commands the solenoid ON or OFF by providing a ground path.

When the PCM detects a continuous open, short to ground, or short to voltage in the 1-2 SS valve circuit, then DTC P0753 sets. DTC P0753 is a type A DTC.

Conditions for Running the DTC

The ignition switch is in the ON position.

Conditions for Setting the DTC

One of the following conditions occurs for 4.3 seconds:

    • The PCM commands the solenoid ON, and the voltage feedback remains high, B+.
    • The PCM commands the solenoid OFF, and the voltage feedback remains low, 0 volts.

Action Taken When the DTC Sets

    • The PCM illuminates the malfunction indicator lamp (MIL).
    • The PCM commands maximum line pressure.
    • The PCM inhibits 3-2 downshifts above 51 km/h (32 mph).
    • The PCM freezes transmission adaptive functions.
    • The PCM records the operating conditions when the Conditions for Setting the DTC are met. The PCM stores this information as Freeze Frame and Failure Records.
    • The PCM stores DTC P0753 in PCM history during the second consecutive trip in which the Conditions for Setting the DTC are met.

Conditions for Clearing the MIL/DTC

    • The PCM turns OFF the MIL during the third consecutive trip in which the diagnostic test runs and passes.
    • A scan tool can clear the MIL/DTC.
    • The PCM clears the DTC from PCM history if the vehicle completes 40 warm-up cycles without an emission-related diagnostic fault occurring.
    • The PCM cancels the DTC default actions when the ignition switch is OFF long enough in order to power down the PCM.

Diagnostic Aids

Ensure the wiring harness is not stretched too tightly or other components are pressing on the connector body. Also, inspect for proper clearance to any other components and wiring. Refer to Testing for Intermittent Conditions and Poor Connections in Wiring Systems.

Test Description

The numbers below refer to the step numbers on the diagnostic table.

  1. This step tests the electrical operation of the solenoid.

  2. This step tests the PCM and the wiring to the transmission.

  3. This step verifies that the circuit has the correct resistance.

Step

Action

Value(s)

Yes

No

1

Did you perform the Diagnostic System Check - Engine Controls?

--

Go to Step 2

Go to Diagnostic System Check - Engine Controls in Engine Controls - 2.2L (L61)

2

  1. Install a scan tool.
  2. Turn ON the ignition, with the engine OFF.
  3. Important: Before clearing the DTC, use the scan tool in order to record the Freeze Frame and Failure Records. Using the Clear Info function erases the Freeze Frame and Failure Records from the PCM.

  4. Record the DTC Freeze Frame and Failure Records.
  5. Clear the DTC.

Is DTC P0758 or P1860 also set?

--

Go to Step 3

Go to Step 8

3

  1. Remove the ERLS fuse.
  2. Inspect the fuse for an open.
  3. Refer to Circuit Protection - Fuses in Wiring Systems.

Did you find the condition?

--

Go to Step 4

Go to Step 6

4

Important: The condition that affects this circuit may exist in other connecting branches of the circuit. Refer to Power Distribution Schematics in Wiring Systems for complete circuit distribution.

Test the ignition 1 voltage circuit of the 1-2 SS valve for a short to ground between the fuse block and the AT inline 20-way connector.

Refer to Testing for Short to Ground and Wiring Repairs in Wiring Systems.

Did you find and correct the condition?

--

Go to Step 26

Go to Step 5

5

Important: The condition that affects this circuit may exist in other connecting branches of the circuit. Refer to Power Distribution Schematics in Wiring Systems for complete circuit distribution.

Test the ignition 1 voltage circuit of the 1-2 SS valve for a short to ground between the AT inline 20-way connector and the 1-2 SS valve.

Refer to Testing for Short to Ground in Wiring Systems.

Did you find the condition?

--

Go to Step 23

--

6

Test the ignition 1 voltage circuit of the 1-2 SS valve for an open between the fuse block and the AT inline 20-way connector.

Refer to Testing for Continuity and Wiring Repairs in Wiring Systems.

Did you find and correct the condition?

--

Go to Step 26

Go to Step 7

7

Test the ignition 1 voltage circuit of the 1-2 SS valve for an open between the AT inline 20-way connector and the 1-2 SS valve.

Refer to Testing for Continuity in Wiring Systems.

Did you find the condition?

--

Go to Step 23

--

8

  1. Use the scan tool in order to command the 1-2 SS valve ON and OFF 3 times.
  2. Listen at the transmission side cover.

Does the solenoid click when commanded ON and OFF?

--

Go to Intermittent Conditions in Engine Controls - 2.2L (L61)

Go to Step 9

9

  1. Turn OFF the ignition.
  2. Disconnect the AT inline 20-way connector. Additional DTCs may set.
  3. Install the J 44152 jumper harness (20 pins) on the engine side of the AT inline 20-way connector.
  4. Using the J 35616 GM-approved terminal test kit, connect a test lamp between the ignition 1 voltage circuit and the 1-2 SS valve control circuit of the J 44152 .
  5. Refer to Automatic Transmission Inline 20-Way Connector End View .

  6. Turn ON the ignition, with the engine OFF.
  7. Command the 1-2 SS valve ON and OFF three times.

Is the test lamp ON when you command the solenoid ON, and OFF when you command the solenoid OFF?

--

Go to Step 17

Go to Step 10

10

Is the test lamp always ON?

--

Go to Step 11

Go to Step 13

11

  1. Turn OFF the ignition.
  2. Disconnect the PCM connector C2. Additional DTCs may set.
  3. Turn ON the ignition, with the engine OFF.

Is the test lamp ON?

--

Go to Step 12

Go to Step 25

12

Test the control circuit of the 1-2 SS valve for a short to ground between the PCM connector C2 and the AT inline 20-way connector.

Refer to Testing for Short to Ground and Wiring Repairs in Wiring Systems.

Did you find and correct the condition?

--

Go to Step 26

--

13

Is the test lamp always OFF?

--

Go to Step 14

--

14

Test the control circuit of the 1-2 SS valve for an open between the PCM connector C2 and the AT inline 20-way connector.

Refer to Testing for Continuity and Wiring Repairs in Wiring Systems.

Did you find and correct the condition?

--

Go to Step 26

Go to Step 15

15

Connect a test lamp from the 1-2 SS valve control circuit of the J 44152 to ground.

Refer to Automatic Transmission Inline 20-Way Connector End View .

Is the test lamp ON?

--

Go to Step 16

Go to Step 25

16

Test the control circuit of the 1-2 SS valve for a short to voltage between the PCM connector C2 and the AT inline 20-way connector.

Refer to Testing for a Short to Voltage and Wiring Repairs in Wiring Systems.

Did you find and correct the condition?

--

Go to Step 26

--

17

  1. Turn OFF the ignition.
  2. Disconnect the J 44152 from the engine side of the AT inline 20-way connector.
  3. Install the J 44152 on the transmission side of the AT inline 20-way connector.
  4. Using the DMM and the J 35616 , measure the resistance between the ignition 1 voltage circuit and the 1-2 SS valve control circuit of the J 44152 .

Refer to Automatic Transmission Inline 20-Way Connector End View .

Is the resistance within the specified range?

19-31 ohms

Go to Step 20

Go to Step 18

18

Is the resistance greater than the specified value?

31 ohms

Go to Step 19

Go to Step 20

19

  1. Test the control circuit of the 1-2 SS valve for an open between the AT inline 20-way connector and the 1-2 SS valve.
  2. Test the ignition 1 voltage circuit of the 1-2 SS valve for an open between the AT inline 20-way connector and the 1-2 SS valve.

Refer to Testing for Continuity in Wiring Systems.

Did you find a condition?

--

Go to Step 23

Go to Step 24

20

Measure the resistance from the 1-2 SS valve control circuit of the J 44152 to ground.

Refer to Automatic Transmission Inline 20-Way Connector End View .

Is the resistance less than the specified value?

1,000 ohms

Go to Step 21

Go to Step 22

21

Test the control circuit of the 1-2 SS valve for a short to ground between the AT inline 20-way connector and the 1-2 SS valve.

Refer to Testing for Short to Ground in Wiring Systems.

Did you find the condition?

--

Go to Step 23

--

22

Measure the resistance between the 1-2 SS valve control circuit and all other terminals except the ignition 1 voltage circuit, the 2-3 SS valve control circuit, and the TCC PWM valve control circuit of the J 44152 .

Refer to Automatic Transmission Inline 20-Way Connector End View .

Is the resistance less than the specified value?

1,000 ohms

Go to Step 23

Go to Step 24

23

Replace the automatic transmission wiring harness.

Refer to Wiring Harness Replacement .

Did you complete the replacement?

--

Go to Step 26

--

24

Replace the 1-2 SS valve.

Refer to 1-2 Shift Solenoid Valve Replacement .

Did you complete the replacement?

--

Go to Step 26

--

25

Replace the PCM.

Refer to Powertrain Control Module Replacement in Engine Controls - 2.2L (L61).

Did you complete the replacement?

--

Go to Step 26

--

26

Perform the following procedure in order to verify the repair:

  1. Select DTC.
  2. Select Clear Info.
  3. Operate the vehicle under the following conditions:
  4. • Drive the vehicle in D4.
    • Allow the transmission to shift through all the gears.
  5. Select Specific DTC.
  6. Enter DTC P0753.

Has the test run and passed?

--

Go to Step 27

Go to Step 2

27

With the scan tool, observe the stored information, capture info and DTC info.

Does the scan tool display any DTCs that you have not diagnosed?

--

Go to Diagnostic Trouble Code (DTC) List in Engine Controls - 2.2L (L61)

System OK