GM Service Manual Online
For 1990-2009 cars only
Makes
🢒
Pontiac
🢒
2007
🢒
Torrent
🢒
Diagnostic Navigation
🢒
Vehicle Diagnostic Information
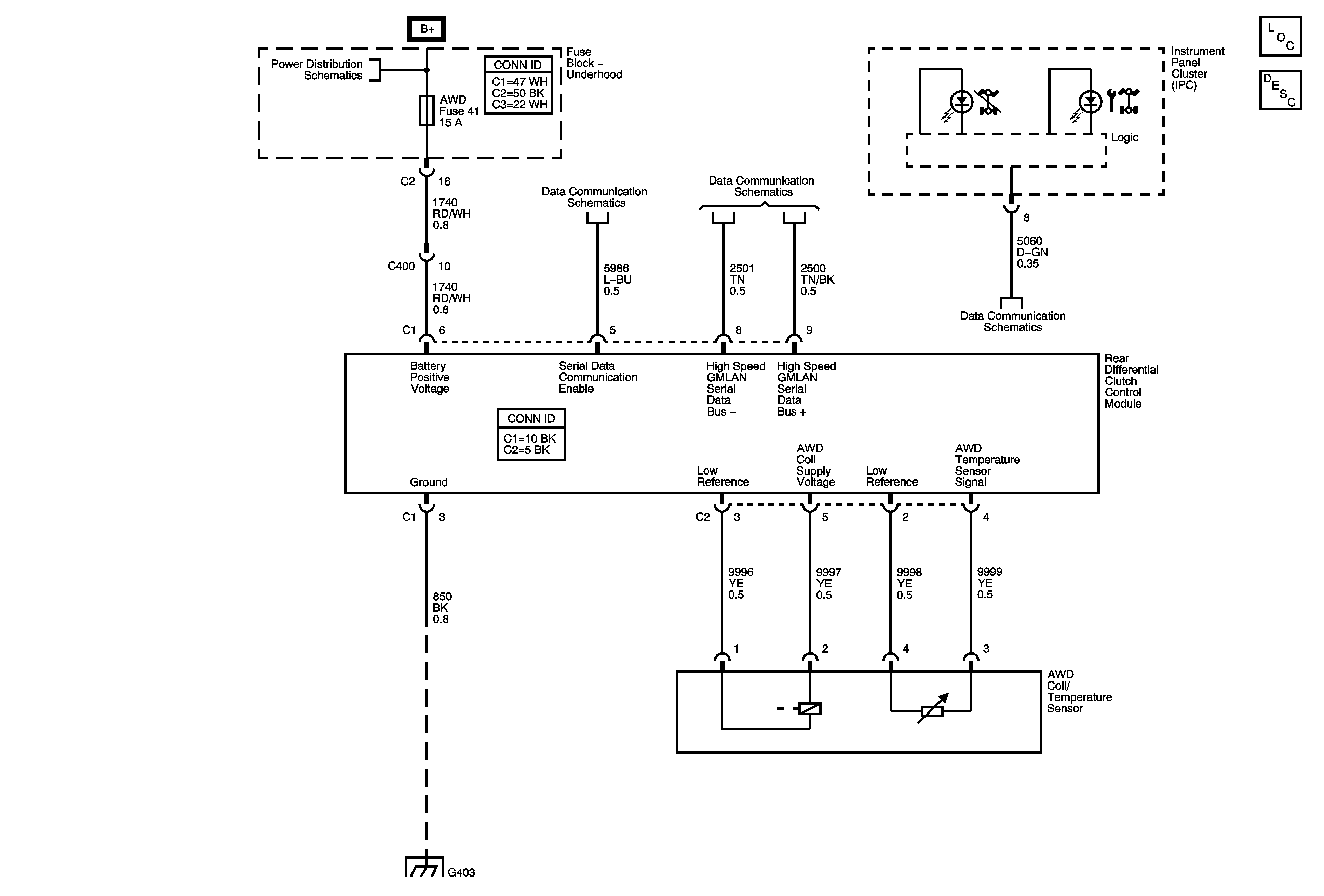
🢒 All-Wheel Drive Schematics
Transfer Case Control Schematics
Master Electrical Component List
Transfer Case Description and Operation
B+ BUS - 1 of 2
Communication Enable
High Speed GMLAN
G403
Low Speed GMLAN