GM Service Manual Online
For 1990-2009 cars only
Makes
🢒
Pontiac
🢒
2005
🢒
Wave
🢒 Right Front Door
Right Front Door
Right Front Door
Master Electrical Component List
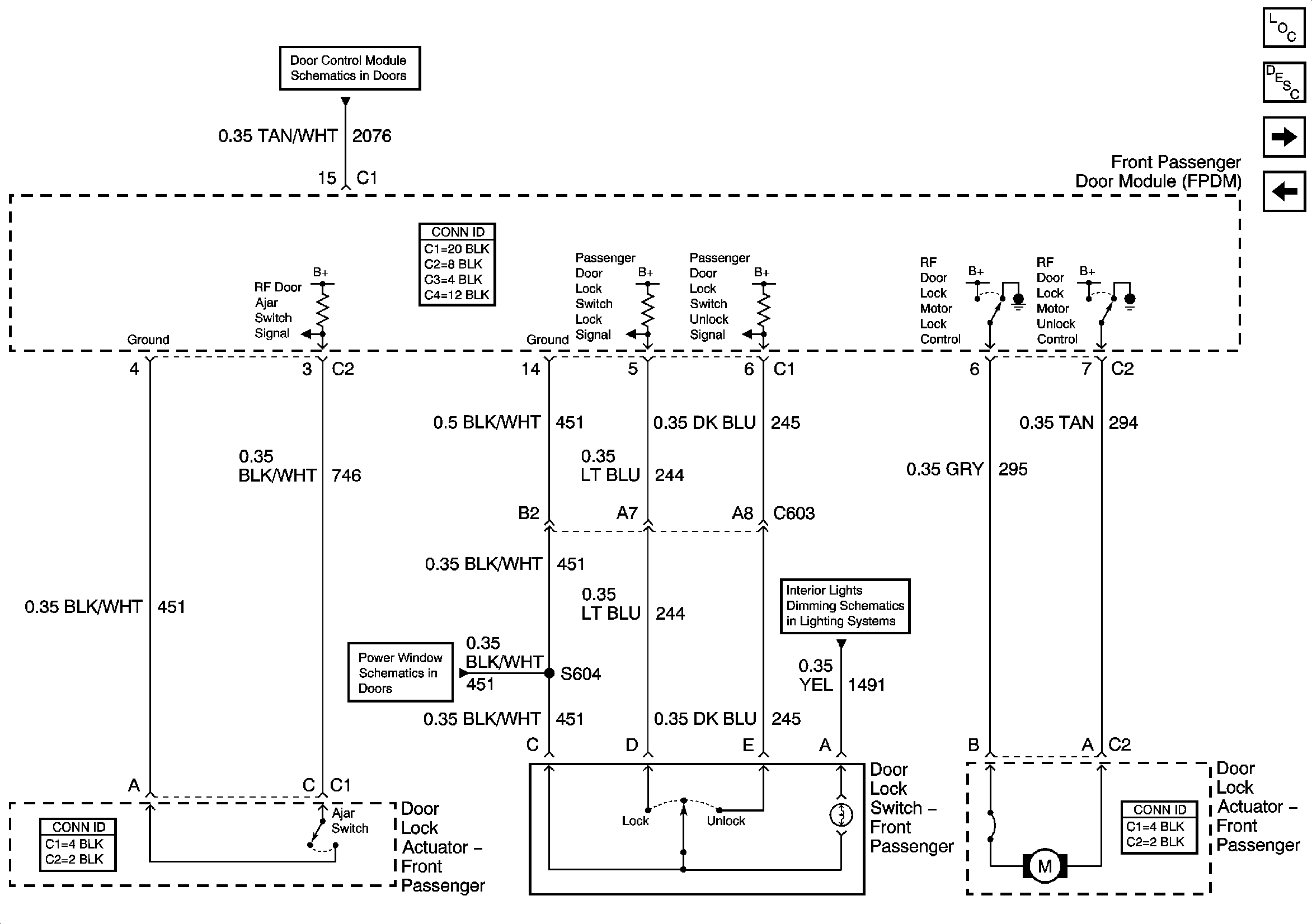
Power Door Locks Description and Operation
Simple Bus Interface (SBI)
Front Floor Lamps, and Heated Seat Dimming
Left Rear Door
Left Front Door
Right Front Door