GM Service Manual Online
For 1990-2009 cars only
Makes
🢒
Pontiac
🢒
2005
🢒
Wave
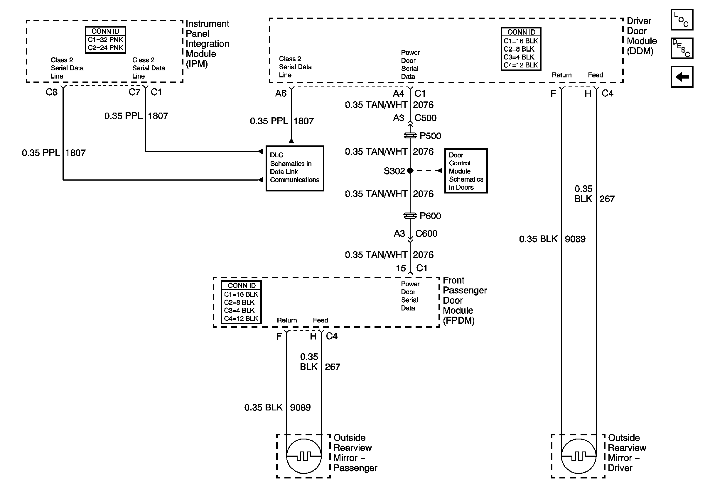
🢒 Heated Mirrors (w/DK5)
Heated Mirrors (w/DK5)
Heated Mirrors -w/DK5
Master Electrical Component List
Outside Mirror Description and Operation
Serial Data Class 2
Simple Bus Interface (SBI)
Right Mirror (w/A45)