GM Service Manual Online
For 1990-2009 cars only
Makes
🢒
Pontiac
🢒
2005
🢒
Wave
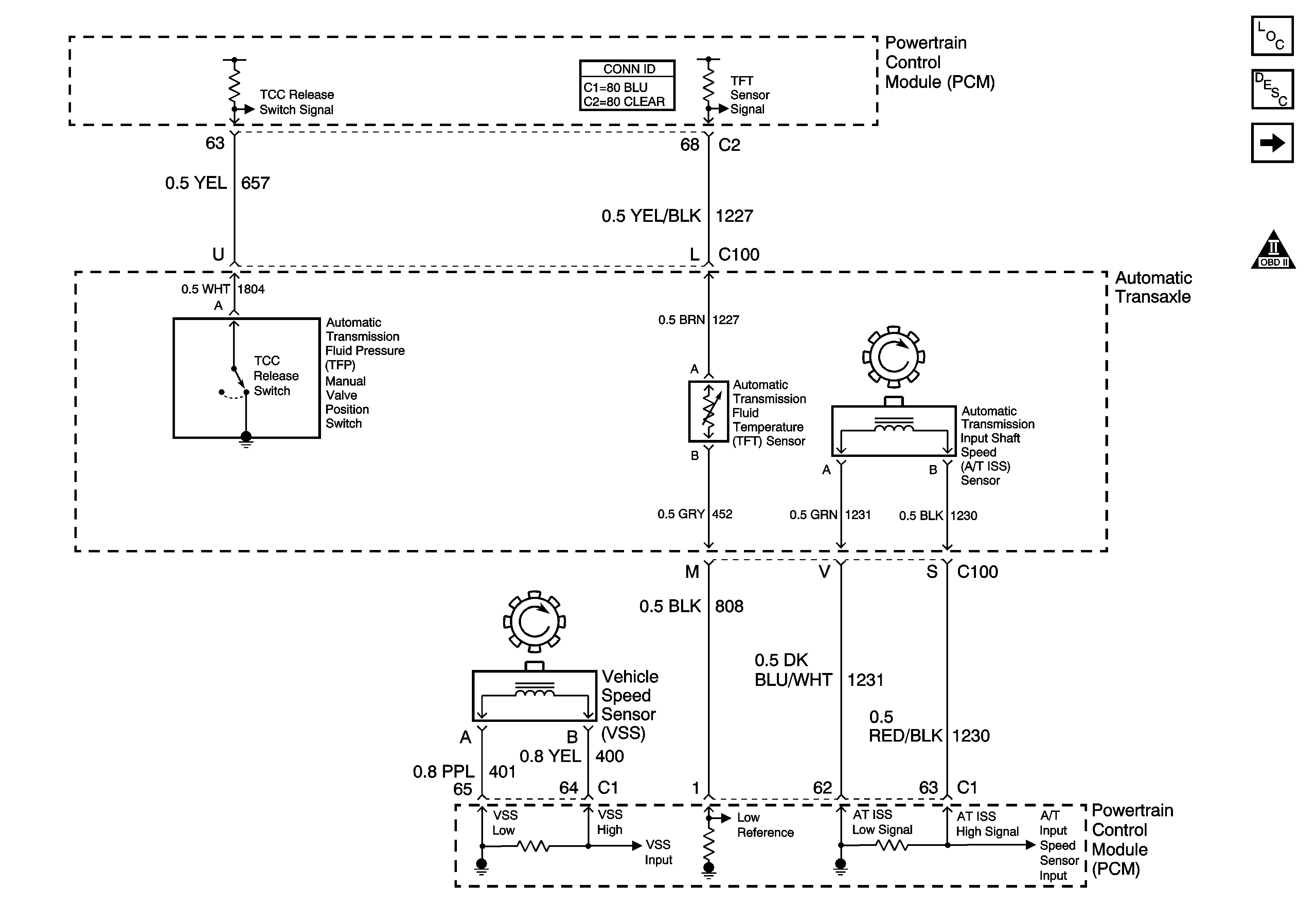
🢒 Transaxle Inputs
Transaxle Inputs
Transaxle Inputs
Master Electrical Component List
Electronic Component Description
Power to the Transaxle and Solenoid Controls
OBD II Symbol Description Notice