GM Service Manual Online
For 1990-2009 cars only
Makes
🢒
Pontiac
🢒
2005
🢒
Wave
🢒 Vehicle Stability Enhancement System (JL4)
Vehicle Stability Enhancement System (JL4)
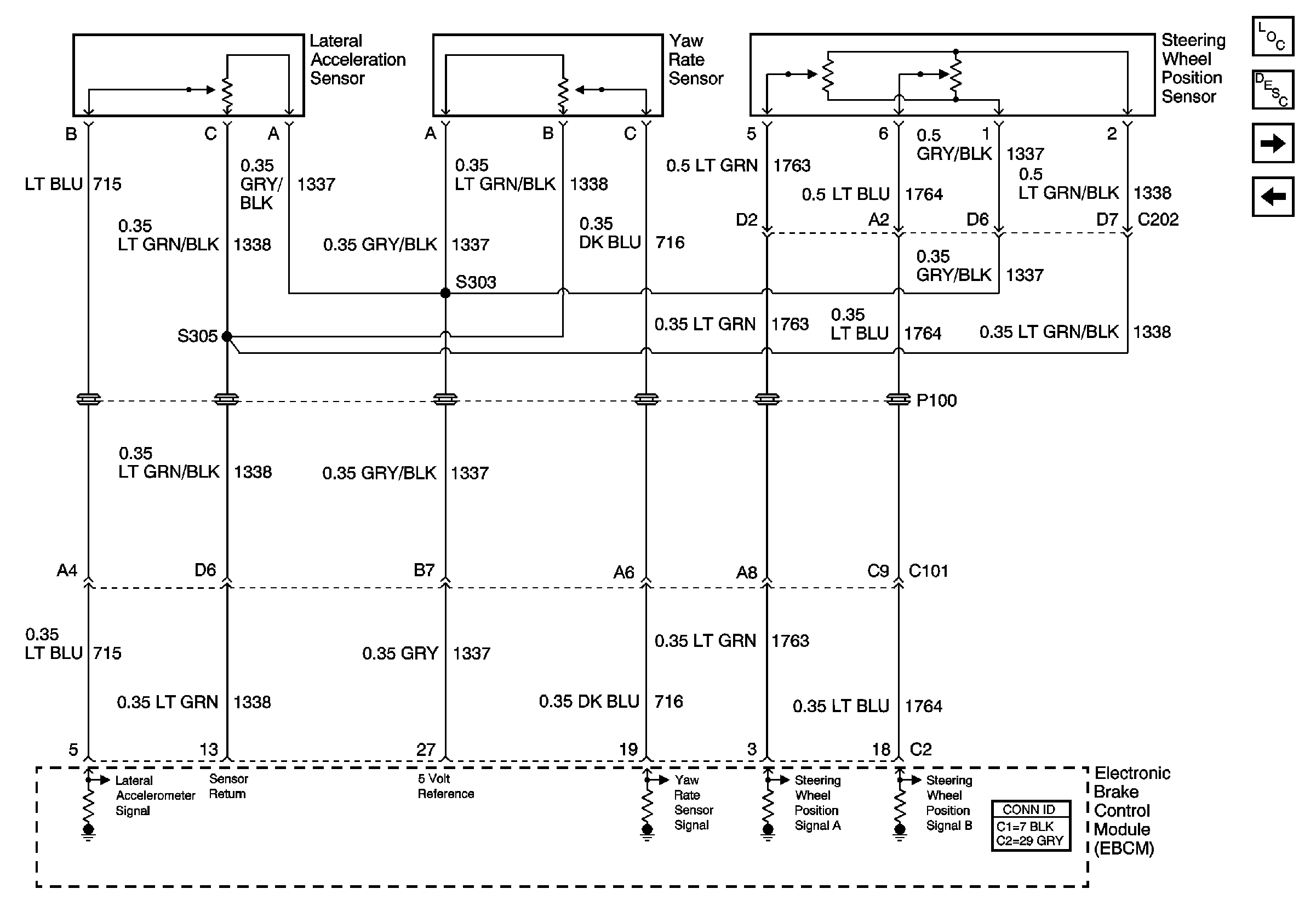
Vehicle Stability Enhancement System - JL4
Master Electrical Component List
ABS Description and Operation
Traction Control (NW9)
Wheel Speed Sensors - 4.6L