GM Service Manual Online
For 1990-2009 cars only
Makes
🢒
Pontiac
🢒
2005
🢒
Wave
🢒 Traction Control (NW9)
Traction Control (NW9)
Traction Control - NW9
Master Electrical Component List
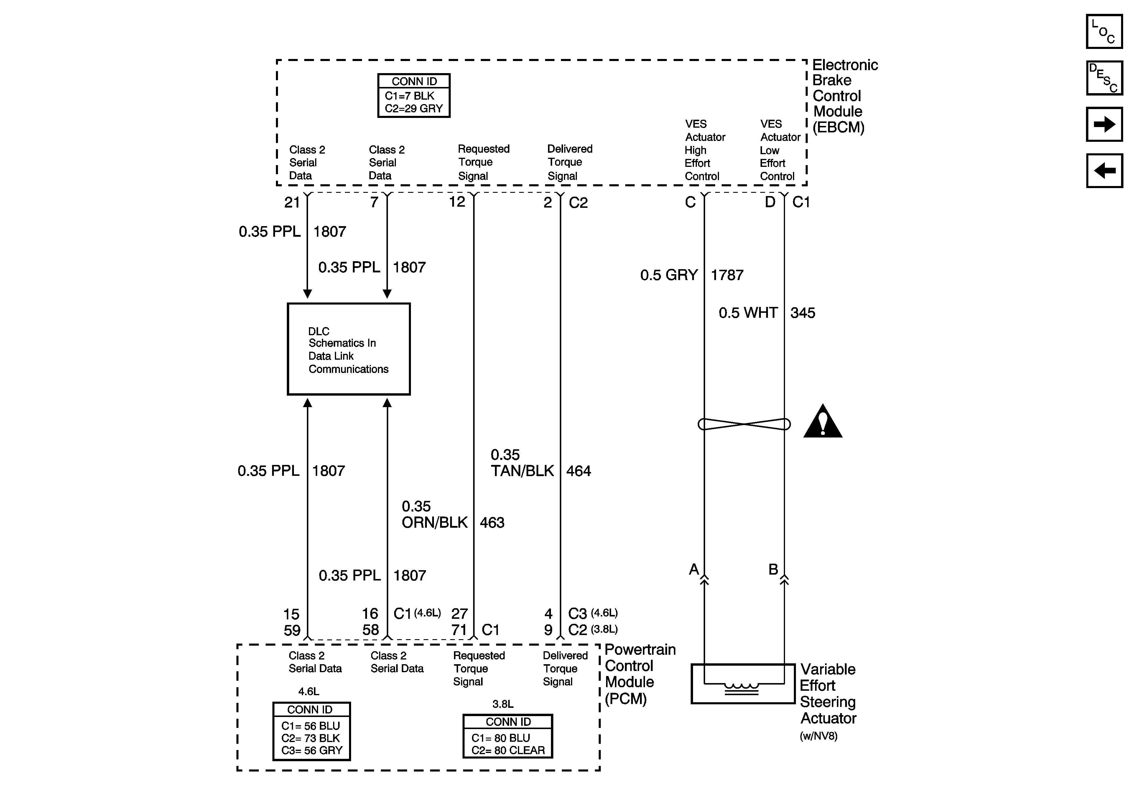
ABS Description and Operation
Indicators and the Traction Control Switch
Vehicle Stability Enhancement System (JL4)
Serial Data Class 2
Antilock Brake System Schematic Icons