GM Service Manual Online
For 1990-2009 cars only
Makes
🢒
Pontiac
🢒
2005
🢒
Wave
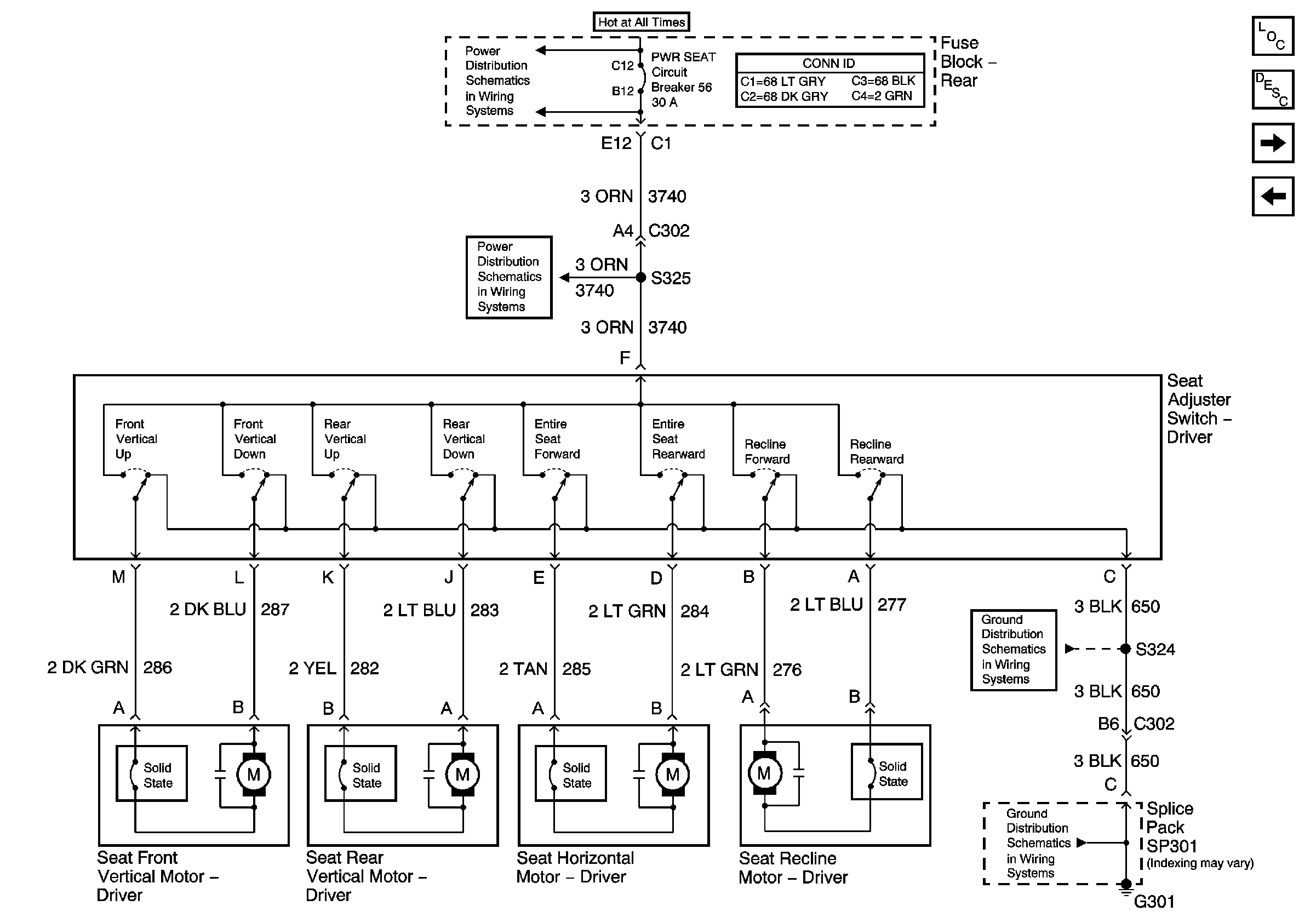
🢒 Power Seat Switch and Motors (A51)
Power Seat Switch and Motors (A51)
Seat Switch and Motors (A51)
Master Electrical Component List
Power Seats System Description and Operation
Power, Ground, and the MSM
Power Seat Switch and Motors (w/o A51)
PWR WDO and PWR SEAT Circuit Breakers
PWR WDO and PWR SEAT Circuit Breakers
G301 - 2 of 2
G301 - 2 of 2