GM Service Manual Online
For 1990-2009 cars only
Makes
🢒
Pontiac
🢒
2005
🢒
Wave
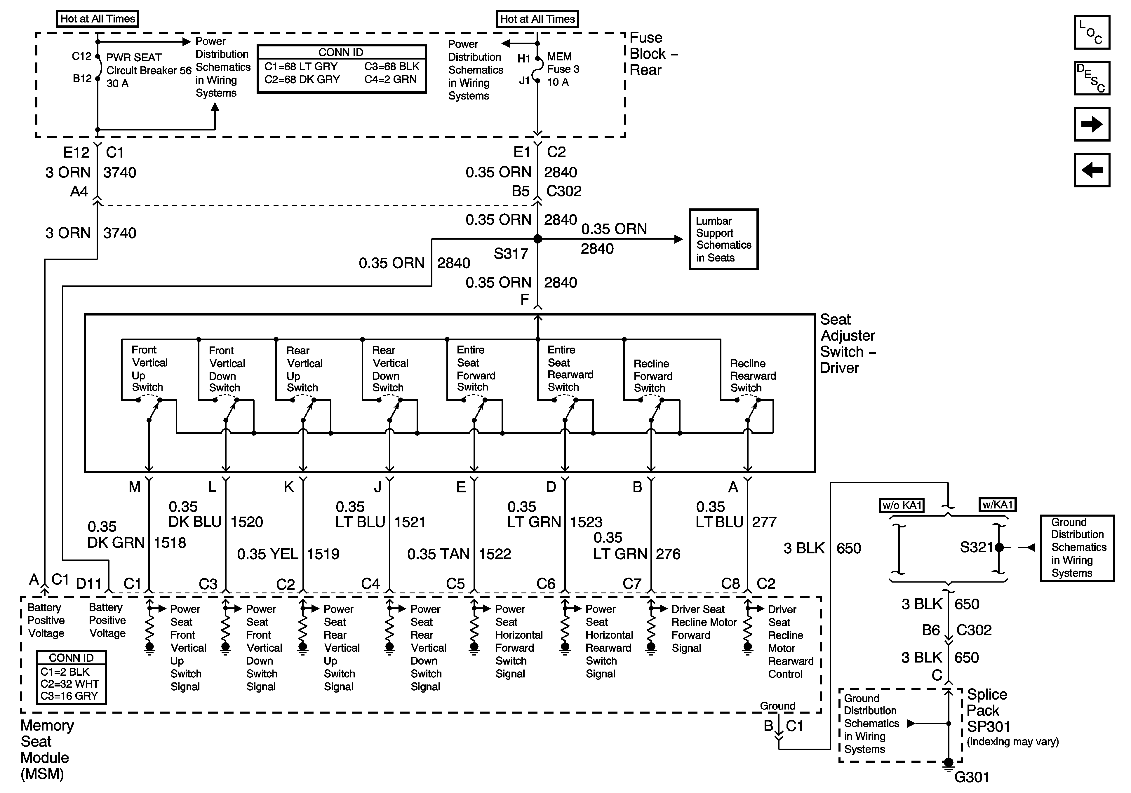
🢒 Power, Ground, and the MSM
Power, Ground, and the MSM
Power, Ground, and the MSM
Master Electrical Component List
Memory Seats Description and Operation
Memory Function Switch Controls
Power Seat Switch and Motors (A51)
PWR WDO and PWR SEAT Circuit Breakers
HTDST RF, HTDST LF, DIM, and MEM Fuses
Lumbar (A45)
G301 - 2 of 2
G301 - 2 of 2