GM Service Manual Online
For 1990-2009 cars only
Makes
🢒
Pontiac
🢒
2005
🢒
Wave
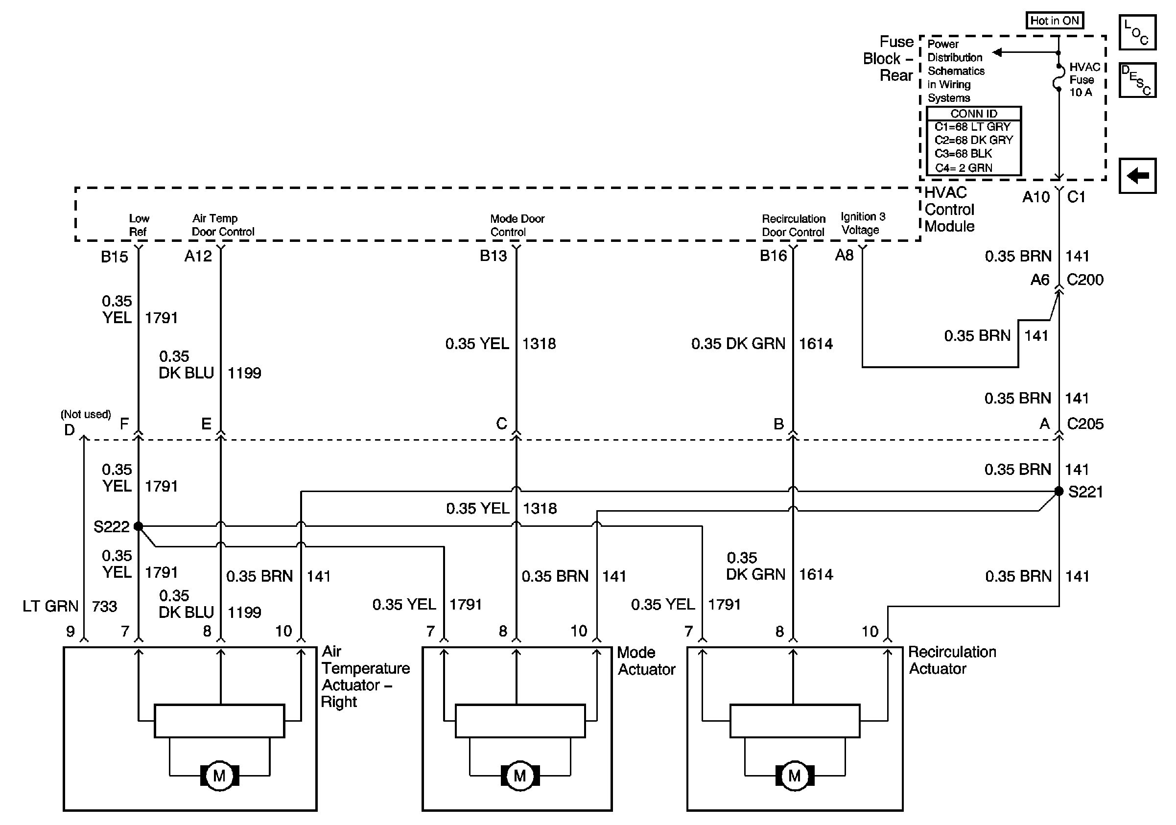
🢒 Air Delivery
Air Delivery
Air Delivery
Master Electrical Component List
Battery Voltage to the Rear Fuse Block
Compressor Controls