GM Service Manual Online
For 1990-2009 cars only
Makes
🢒
Pontiac
🢒
2005
🢒
Wave
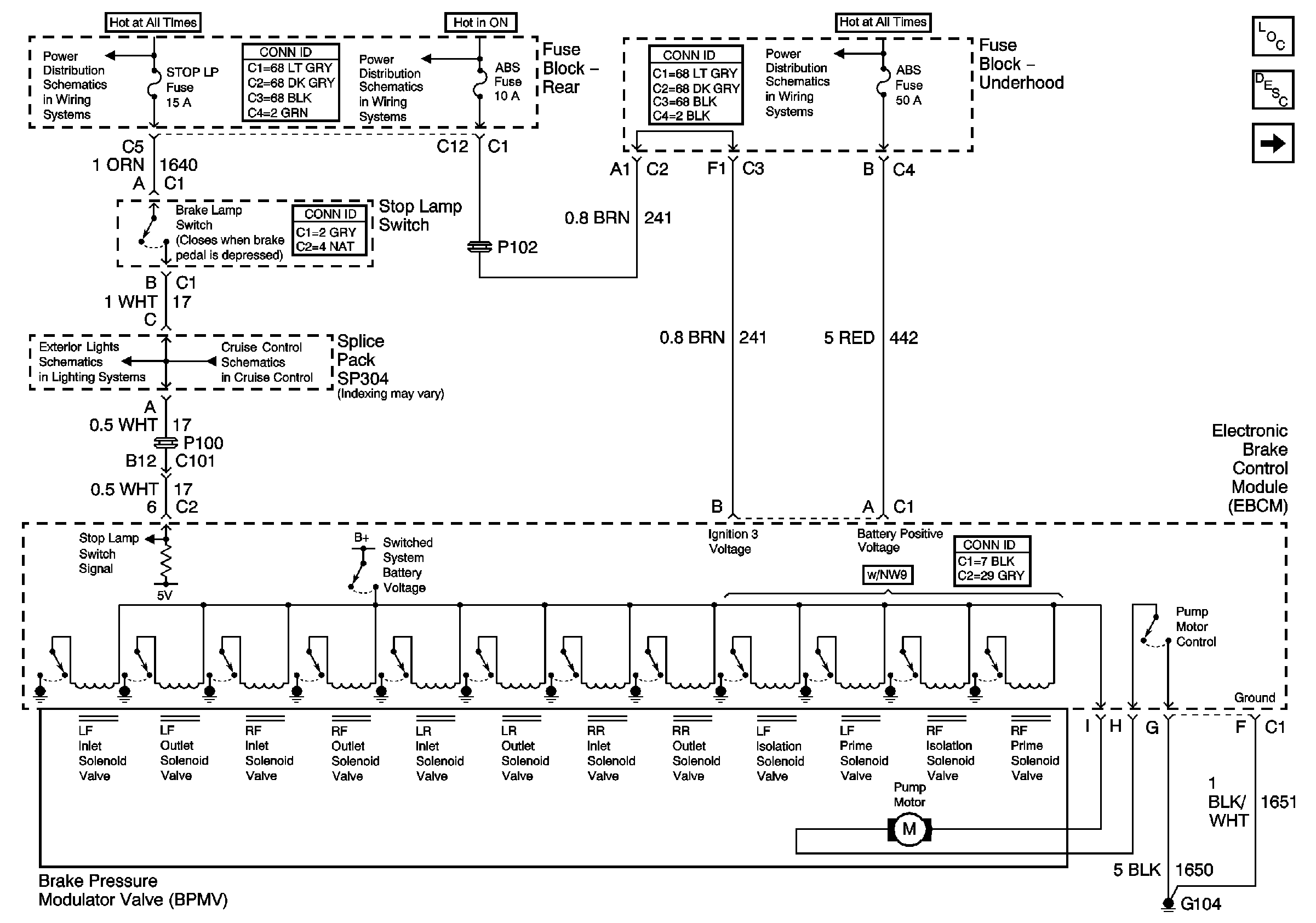
🢒 Power, Ground, and the BPMV Valve
Power, Ground, and the BPMV Valve
Power, Ground, and the BPMV Valve
TSIG/HAZ, STOP LP, AUDIO, and CD Fuses (Fuse Block Rear)
IGN3 and ABS Fuses (Fuse Block Rear)
ABS, PCM BATT Fuses and the Cool Fan 1 Relay (Fuse Block Underhood)
Stop Lamps
Cruise Control Module and VSS
Master Electrical Component List
Wheel Speed Sensors