GM Service Manual Online
For 1990-2009 cars only
Makes
🢒
Pontiac
🢒
2005
🢒
Wave
🢒 Backup Lamps
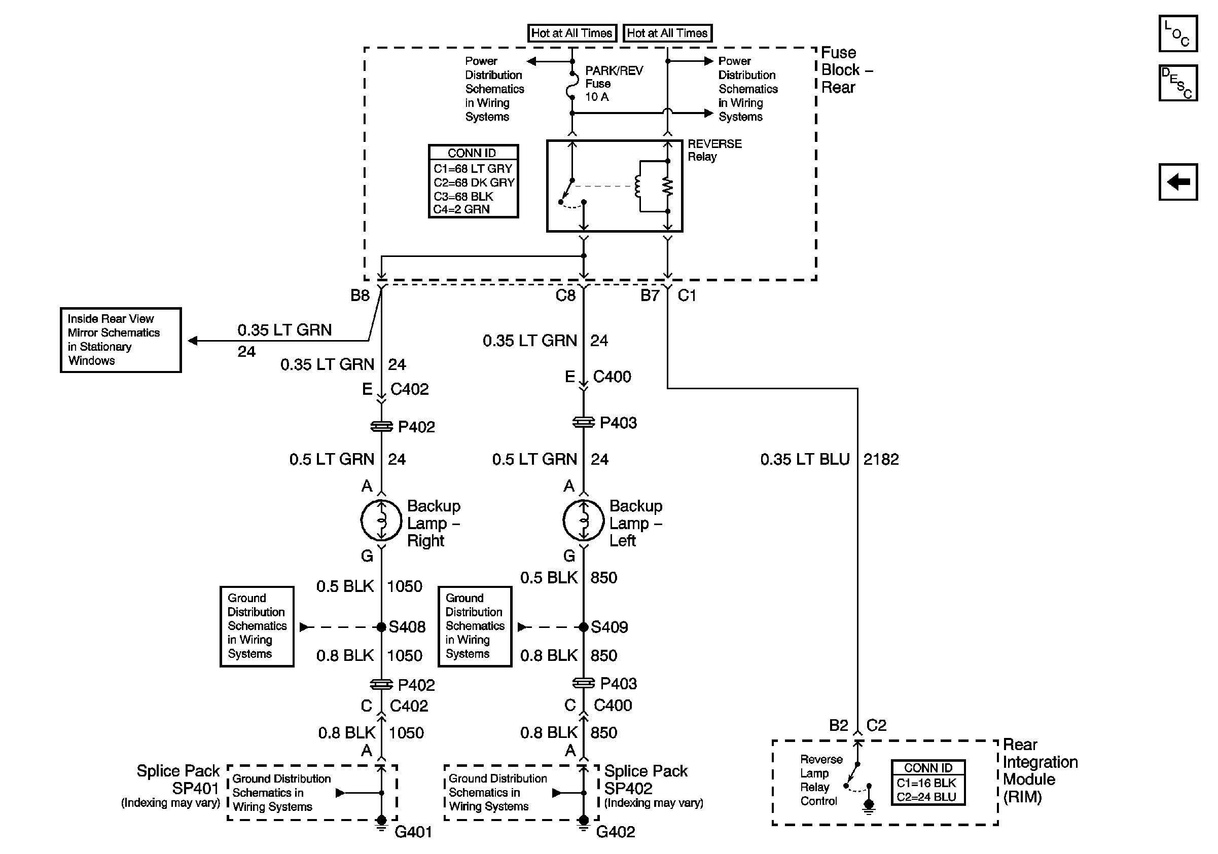
Backup Lamps
Backup Lamps
Master Electrical Component List
Inside RV Mirror Schematic
G401 (2 of 2)
G401 (2 of 2)
IGN SW, PRK/REV Fuses and the PARK and REVERSE Relays (Fuse Block Rear)
G402
G402
IGN SW, PRK/REV Fuses and the PARK and REVERSE Relays (Fuse Block Rear)