GM Service Manual Online
For 1990-2009 cars only
Makes
🢒
Pontiac
🢒
2007
🢒
Wave
🢒 ABS - Wheel Speed Sensors
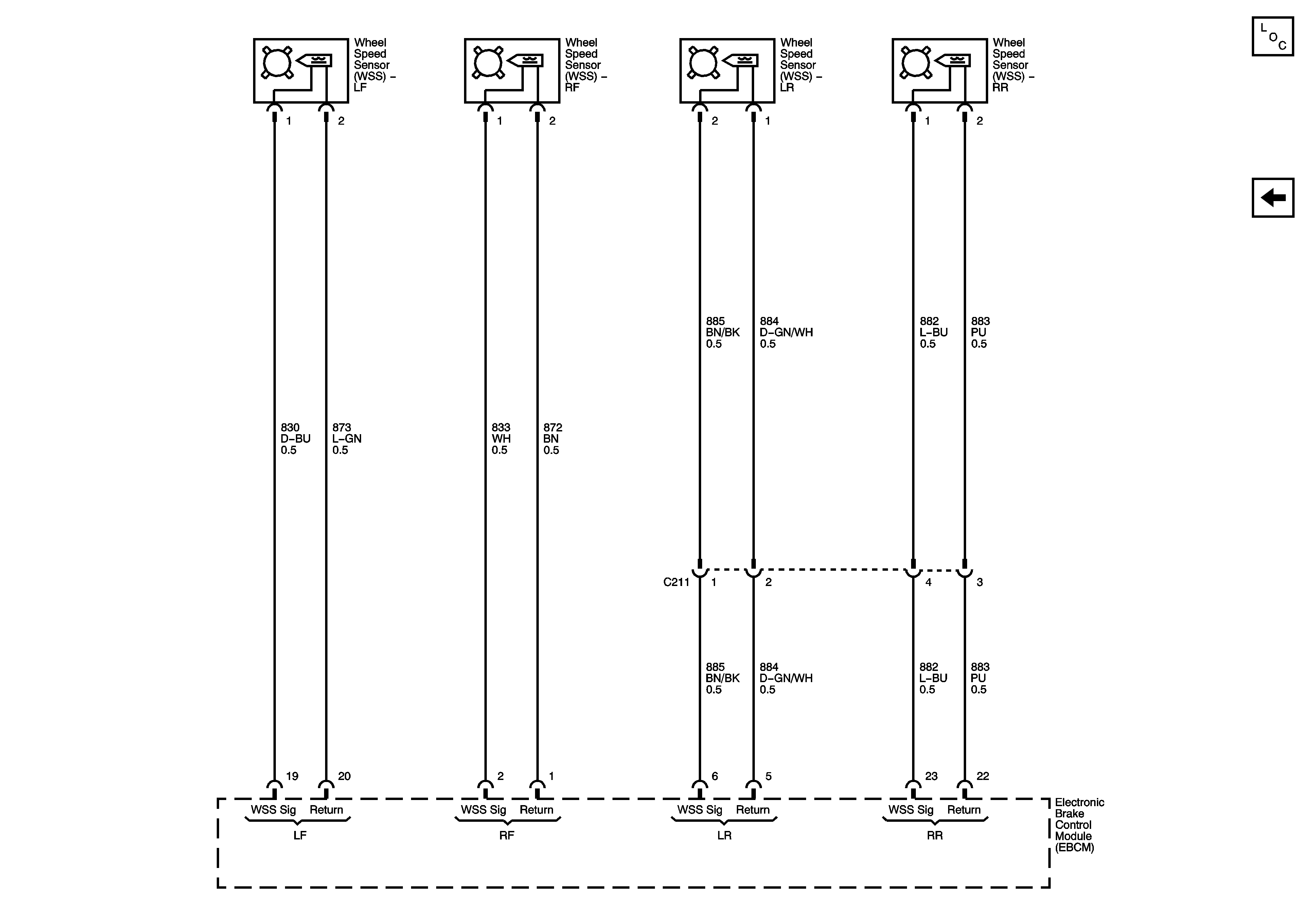
ABS - Wheel Speed Sensors
Wheel Speed Sensors
Master Electrical Component List
ABS - Power, Ground and Inputs