GM Service Manual Online
For 1990-2009 cars only
Makes
🢒
Saturn
🢒
2008
🢒
Astra
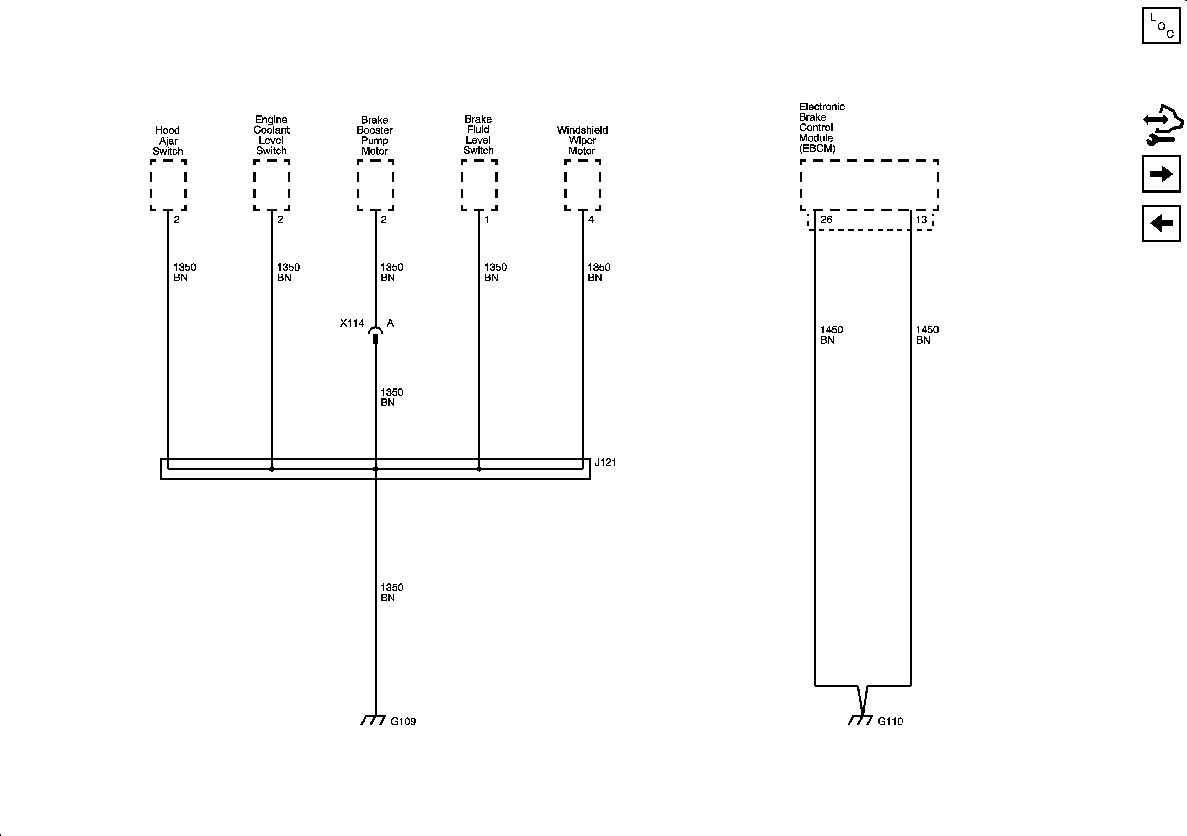
🢒 G109 and G110
G109 and G110
G109 and G110
Master Electrical Component List
Control Module References
G201 and G202
G100, G103, G104, G105 and G106