GM Service Manual Online
For 1990-2009 cars only
Makes
🢒
Saturn
🢒
2004
🢒
ION
🢒 Daytime Running Lights
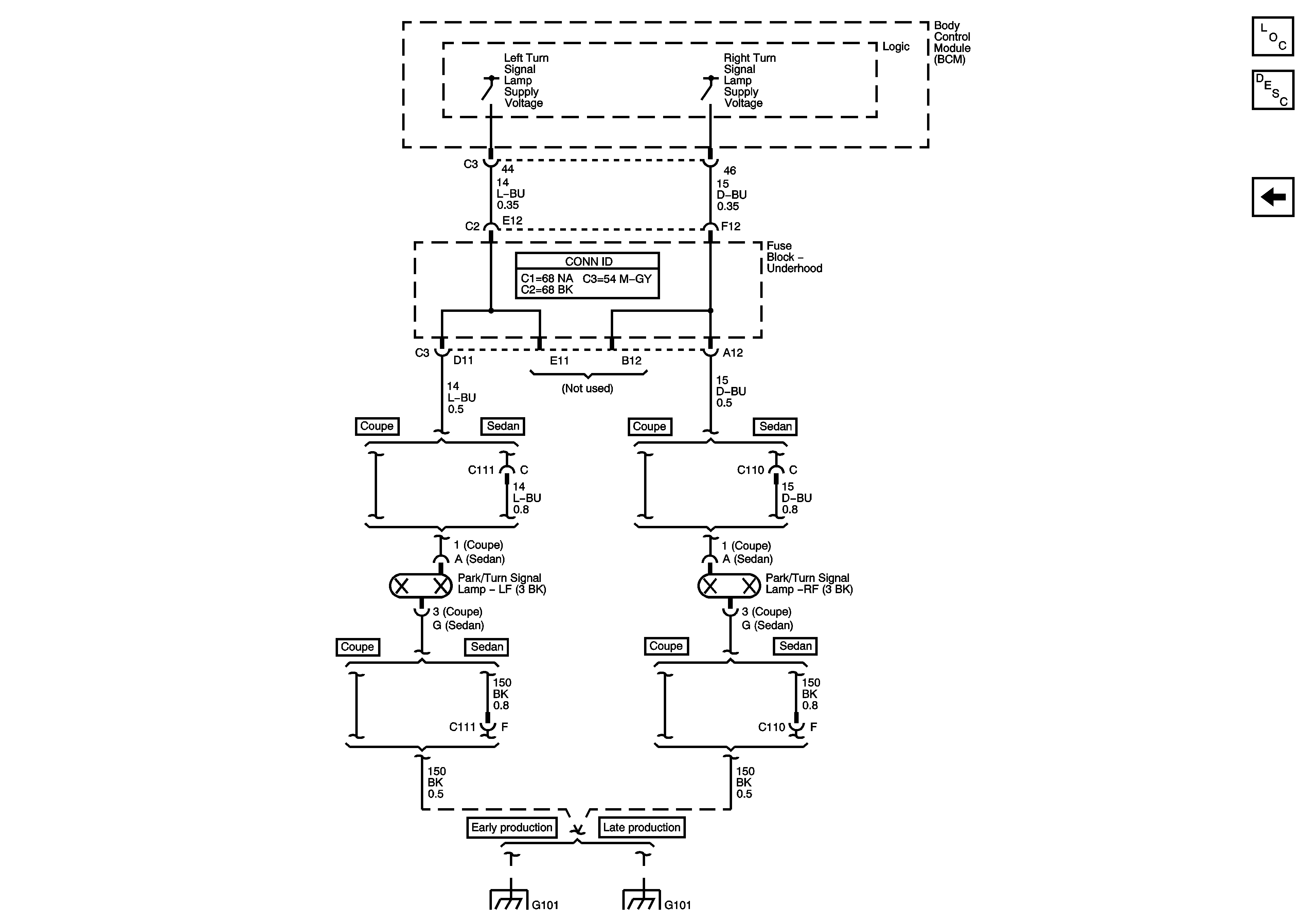
Daytime Running Lights
Daytime Running Lamps
Master Electrical Component List
Exterior Lighting Systems Description and Operation
Headlights Schematics - Sedan
G101 - Early Production
G101 - Late Production