GM Service Manual Online
For 1990-2009 cars only

Object Number: 1256047  Size: MF
Master Electrical Component List
Blower Motors and Actuators

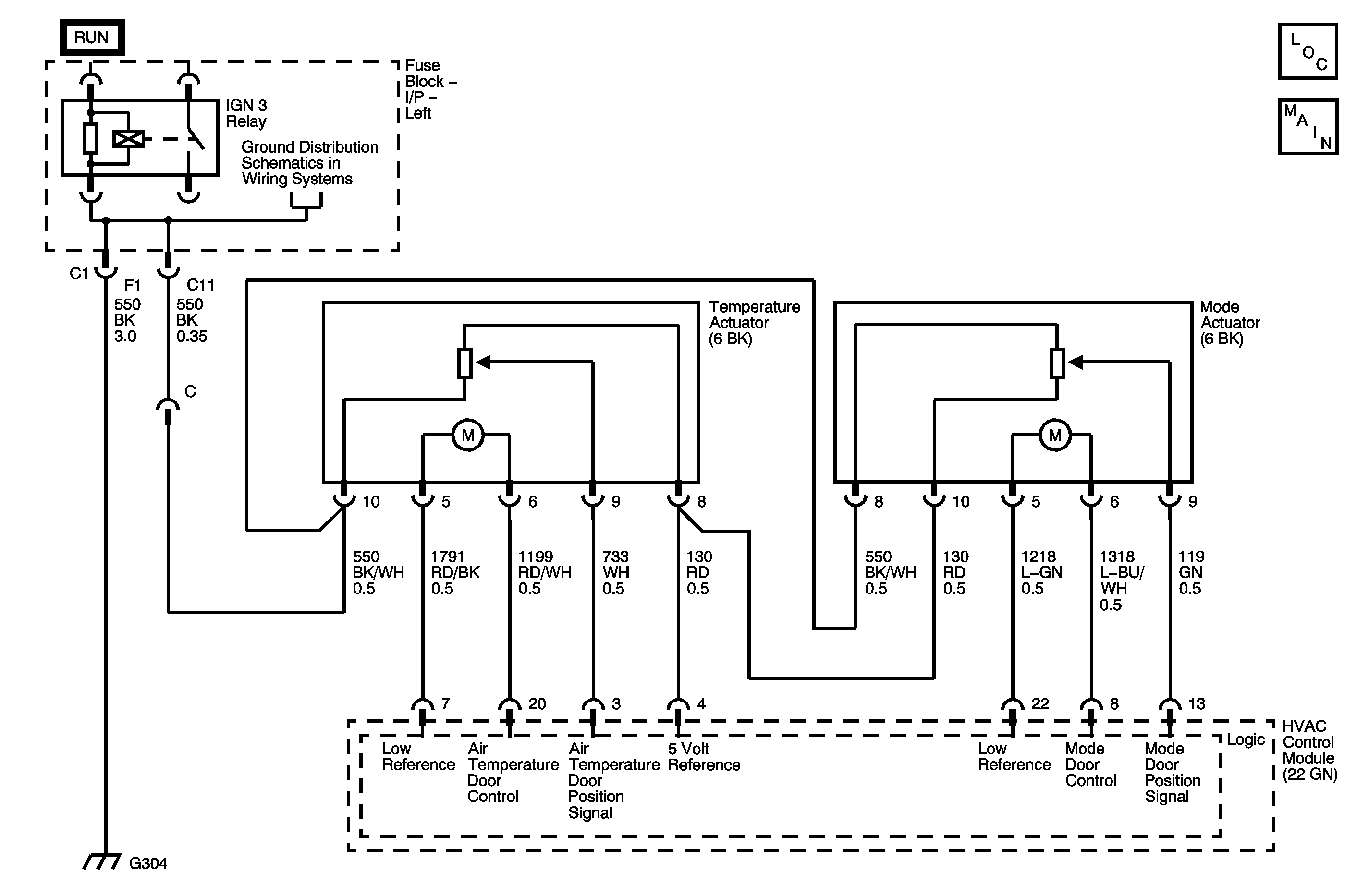
Circuit Description

The HVAC control module receives a position signal from the mode actuator. The mode actuator position sensor is a potentiometer that is connected to a 5-volt reference source. The variable output from the potentiometer feeds back a position signal to a pull up resistor which is located in the HVAC control module. This signal determines the necessary drive signal to the actuator motor, which provides the proper mode door position. This value is stored in the KEEP ALIVE Memory portion of the HVAC control module.

Conditions for Running the DTC

    • Ignition in the RUN position.
    • Any of the conditions for setting the DTC are present.

Conditions for Setting the DTC

The HVAC control module monitors the feedback circuit for the following faults:

    • The mode actuator 5-volt reference circuit shorted to ground, voltage or an open.
    • The mode actuator door control circuit shorted to ground, voltage or an open.
    • An open in the mode actuator ground circuit.

Action Taken When the DTC Sets

The DTC B0130 mode door control feedback circuit malfunction sets.

Conditions for Clearing the DTC

    • The history DTC will clear after 40 consecutive ignition cycles have occurred without a malfunction.
    • The DTC can be cleared by using the scan tool.
    • The DTC will become history if the HVAC control module no longer detects a failure.

Diagnostic Aids

    • A damaged or broken mode actuator or mode door, can cause this DTC to set.
    • If the condition is not present refer to Testing for Intermittent Conditions and Poor Connections in Wiring Systems.

Test Description

The numbers below refer to the step numbers on the diagnostic table.

  1. Tests for the proper operation of the circuit in the low voltage range.

  2. Tests for the proper operation of the circuit in the high voltage range. If the fuse in the jumper opens if you perform this test, the signal circuit is short to ground.

  3. Tests for a short to voltage in the 5-volt reference circuit.

  4. Tests for a high resistance or for an open in the low reference circuit.

Step

Action

Values

Yes

No

Connector End Views HVAC Connector End Views

1

Did you perform the HVAC Diagnostic System Check?

--

Go to Step 2

Go to Diagnostic System Check - HVAC Systems - Manual

2

  1. Install a scan tool.
  2. Turn ON the ignition, with the engine OFF.
  3. With a scan tool, observe the Mode Feedback parameter in the actuator data list for the HVAC control module.

Is the Mode Feedback Actuator parameter within the specified range?

243 - 60 counts

Go to Diagnostic Aids

Go to Step 3

3

  1. Turn OFF the ignition.
  2. Disconnect the mode actuator.
  3. Turn ON the ignition, with the engine OFF.
  4. With a scan tool, observe the Mode Feedback Actuator parameter.

Is the Mode Feedback Actuator parameter less than the specified value?

60 counts

Go to Step 4

Go to Step 10

4

  1. Turn OFF the ignition.
  2. Connect a 3-ampere fused jumper wire between the 5-volt reference circuit of the mode actuator and the signal circuit of the mode actuator.
  3. Turn ON the ignition, with the engine OFF.
  4. With a scan tool, observe the Mode Feedback Actuator parameter.

Is the Mode Feedback Actuator parameter greater than the specified value?

243 counts

Go to Step 5

Go to Step 8

5

  1. Disconnect the fused jumper wire.
  2. Measure the voltage between the 5-volt reference circuit of the mode actuator and the low reference circuit of the mode actuator.

Is the voltage less than the specified value?

5

Go to Step 6

Go to Step 7

6

  1. Turn OFF the ignition.
  2. Disconnect the negative battery cable.
  3. Measure the resistance from the low reference circuit of the mode actuator to a good ground.

Is the resistance less than the specified value?

5 ohms

Go to Step 12

Go to Step 11

7

Test the 5-volt reference circuit of the mode actuator for a short to voltage. Refer to Circuit Testing and to Wiring Repairs in Wiring Systems.

Did you find and correct the condition?

--

Go to Step 16

Go to Step 13

8

Test the 5-volt reference circuit of the mode actuator for one of the following conditions:

    • A short to ground
    • A high resistance
    • An open

Refer to Circuit Testing and to Wiring Repairs in Wiring Systems.

Did you find and correct the condition?

--

Go to Step 16

Go to Step 9

9

Test the signal circuit of the mode actuator for one of the following conditions:

    • A short to ground
    • A high resistance
    • An open

Refer to Circuit Testing and to Wiring Repairs in Wiring Systems.

Did you find and correct the condition?

--

Go to Step 16

Go to Step 13

10

Test the signal circuit of the mode actuator for a short to voltage. Refer to Circuit Testing and to Wiring Repairs in Wiring Systems.

Did you find and correct the condition?

--

Go to Step 16

Go to Step 13

11

  1. Disconnect the HVAC control module.
  2. Test the low reference circuit of the mode actuator for a high resistance or for an open. Refer to Circuit Testing and to Wiring Repairs in Wiring Systems.

Did you find and correct the condition?

--

Go to Step 16

Go to Step 13

12

Inspect for poor connections at the harness connector of the mode actuator. Refer to Testing for Intermittent Conditions and Poor Connections and to Connector Repairs in Wiring Systems.

Did you find and correct the condition?

--

Go to Step 16

Go to Step 14

13

Inspect for poor connections at the harness connector of the HVAC control module. Refer to Testing for Intermittent Conditions and Poor Connections and to Connector Repairs in Wiring Systems.

Did you find and correct the condition?

--

Go to Step 16

Go to Step 15

14

Replace the mode actuator. Refer to Mode Actuator Replacement .

Did you complete the replacement?

--

Go to Step 16

--

15

Replace the HVAC control module. Refer to HVAC Control Module Replacement .

Did you complete the replacement?

--

Go to Step 16

--

16

  1. Use the scan tool in order to clear the DTCs.
  2. Operate the vehicle within the Conditions for Running the DTC.

Does the DTC reset?

--

Go to Step 2

System OK