GM Service Manual Online
For 1990-2009 cars only

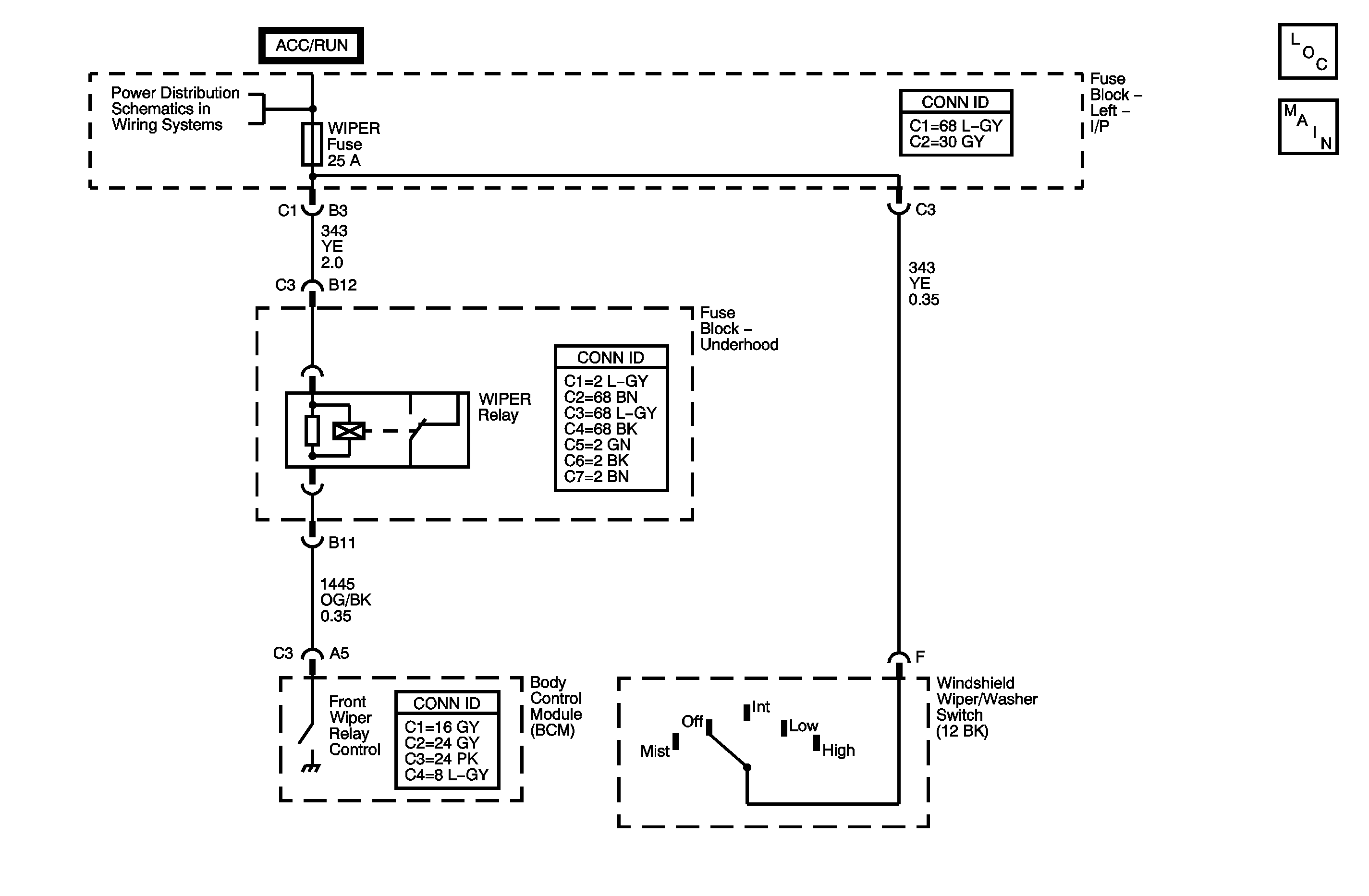
Object Number: 1250591  Size: MF
Master Electrical Component List
Washer and Wiper Controls

Circuit Description

The body control module (BCM) monitors the voltage level on the supply voltage circuit 1445 of the wiper relay. The voltage will be near system voltage while the relay is de-energized. When the front wiper switch is in intermittent or mist, voltage from the wiper switch is applied to the front wiper input of the BCM. The BCM responds by switching circuit 1445 to ground. This action energizes the front wiper relay, providing low speed operation of the wiper motor during single swipes. Control of the wiper during LO or HIGH speed switch settings is direct wired from the wiper switch to the wiper motor and is not under the control of the BCM.

Conditions for Running the DTC

The ignition is in the RUN or ACC position.

Conditions for Setting the DTCs

The following conditions will cause these DTCs to set:

    • DTC B3717, the BCM detects short to ground or open.
    • For DTC B3717 the wiper switch does not need to be ON.
    • DTC B3718, the BCM detects a short to battery voltage.
    • For DTC B3718 to set the wiper switch must be in mist or intermittent.

Action Taken When the DTC Sets

    • The windshield wipers will be disabled until the conditions mentioned above are no longer present for an open or short to battery.
    • The wipers will always be on if the front wiper relay control circuit, circuit 1445, is shorted to ground.
    • No indicator will illuminate on I/P.
    • If circuit 1445 is shorted to battery, the BCM output will go into a protective state. The BCM output will not allow itself to be activated, switch closed, for as much as three minutes.

Conditions for Clearing the DTC

    • This DTC will change from current to history when the fault is no longer present.
    • A history DTC will clear after 100 consecutive ignition cycles if the condition for the malfunction is no longer present.

Test Description

The numbers below refer to the step numbers on the diagnostic table.

  1. Listen for an audible click when the wiper 1 relay operates. Command both the ON and OFF states. Repeat the commands, as necessary.

  2. Verifies that the BCM is providing voltage to the wiper 1 relay.

Step

Action

Values

Yes

No

Schematic Reference: Wiper/Washer Schematics

Connector End View Reference: Master Electrical Component List in Wiring Systems

1

Did you perform the Wiper/Washer Diagnostic System Check?

--

Go to Step 2

Go to Diagnostic System Check - Wiper/Washer

2

  1. Turn the ignition ON, with the engine OFF.
  2. Operate the windshield wiper/washer switch through all the switch positions.

Does the windshield wiper/washer system operate normally?

--

Go to Testing for Intermittent Conditions and Poor Connections in Wiring Systems

Go to Step 3

3

Are the wipers always ON?

--

Go to Step 9

Go to Step 4

4

  1. Turn OFF the ignition.
  2. Disconnect the wiper relay in the underhood fuse block (UHFB).
  3. Turn ON the ignition, with the engine OFF.
  4. Connect a test lamp from the battery voltage circuit of the wiper relay and a good ground.

Does the test lamp illuminate?

--

Go to Step 5

Go to Step 8

5

  1. Connect a test lamp from the battery voltage circuit and the front wiper relay control circuit of the wiper relay.
  2. With a scan tool command the wiper relay ON and OFF under body control module special functions.

Does the test lamp follow the scan tool commands?

--

Go to Step 10

Go to Step 6

6

Test the front wiper relay control circuit for an open or a short to voltage. Refer to Circuit Testing and Wiring Repairs in Wiring Systems.

Did you find and correct the condition?

--

Go to Step 12

Go to Step 7

7

Inspect for poor connections at the harness connector of the BCM. Refer to Testing for Intermittent Conditions and Poor Connections and Connector Repairs in Wiring Systems.

Did you find and correct the condition?

--

Go to Step 12

Go to Step 11

8

Repair an open, high resistance, or the short to ground in the battery voltage circuit of the wiper relay. Refer to Wiring Repairs or Connector Repairs in Wiring Systems.

Did you complete the repair?

--

Go to Step 12

--

9

Repair a short to ground on the front wiper relay control circuit. Refer to Wiring Repairs or Connector Repairs in Wiring Systems.

Did you complete the repair?

--

Go to Step 12

--

10

Replace the inoperative wiper relay. Refer to Relay Replacement in Wiring Systems.

Did you complete the replacement?

--

Go to Step 12

--

11

Important: Perform the programming or setup procedure for the replaced control module if required.

Replace the BCM. Refer to Body Control Module Replacement in Body Control System for applicable replacement procedure.

Did you complete the replacement?

--

Go to Step 12

--

12

  1. Use the scan tool to clear the DTCs.
  2. Operate the vehicle within the Conditions for Running the DTC as specified in the supporting text.

Does the DTC reset?

--

Go to Step 2

System OK