GM Service Manual Online
For 1990-2009 cars only

Object Number: 1250589  Size: MF
Master Electrical Component List
Washer and Wiper Controls

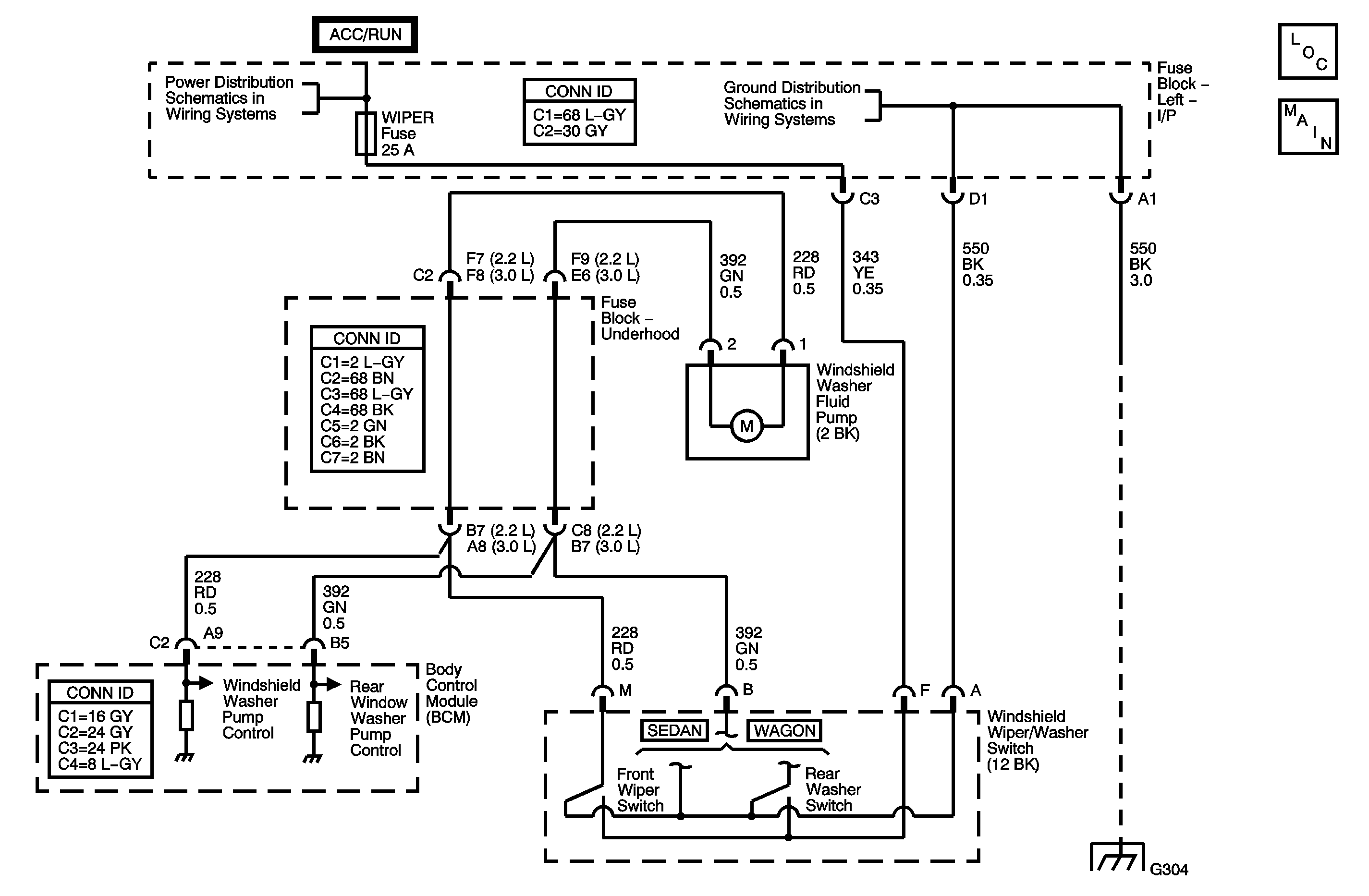
Circuit Description

The body control module (BCM) monitors the front washer motor circuit 228. When a front windshield wash is requested for more than 2 minutes, circuit 228 at battery voltage, the BCM will turn OFF the front wiper motor if the front wiper is NOT requested by the wiper switch.

Battery voltage for the front washer motor, and rear washer motor when equipped, is supplied through the wiper fuse and wiper switch. Grounding for the front washer motor is through circuit 550 or through the OFF position of the rear washer motor switch, when equipped.

Conditions for Running the DTC

Ignition is in RUN or ACC position.

Conditions for Setting the DTC

The windshield washer pump control circuit, circuit 228, shorted to battery voltage for 2 minutes.

Actions Taken When the DTC Sets

    • No light will illuminate in I/P.
    • Default turn OFF washer motor after failing DTC if wiper input is not active.

Conditions for Clearing the DTC

    • A current DTC clears when the fault is no longer present.
    • A history DTC clears when the module ignition cycle counter reaches the reset threshold, without a repeat of the fault.

Diagnostic Aids

    • Check for poor connection at the BCM. Inspect harness connectors for backed out terminals, improper terminal mating, broken connector locks, improperly formed or damaged terminals and poor terminal-to-wire connection, terminal crimped over wire insulation and not conductors.
    • Inspect wiring harness for damage. Check for broken or chaffed insulation.
    • If fault is suspected to be intermittent, wiggling harness wiring may help in locating fault.

Step

Action

Yes

No

Schematic Reference: Wiper/Washer Schematics

Connector End View Reference: Master Electrical Component List in Wiring Systems

1

Did you perform the Wiper/Washer Diagnostic System Check?

Go to Step 2

Go to Diagnostic System Check - Wiper/Washer

2

  1. Turn ON the ignition, with the engine OFF.
  2. With a scan tool, observe the front washer motor input in the body control module (BCM) wiper/washer data list, while cycling the front washer switch.

Does the scan tool indicate correct washer pump status, On/Off?

Go to Diagnostic Aids

Go to Step 3

3

  1. Turn OFF the ignition.
  2. Disconnect the windshield wiper/washer switch.
  3. Turn ON the ignition, with the engine OFF.
  4. With a scan tool, observe the front washer motor input.

Does the scan tool indicate switch is OFF?

Go to Step 5

Go to Step 4

4

  1. Turn OFF the ignition.
  2. Disconnect the BCM connector C2.
  3. Test the windshield washer pump control circuit for a short to voltage. Refer to Circuit Testing and Wiring Repairs in Wiring Systems.

Did you find and correct the condition?

Go to Step 7

Go to Step 6

5

Replace the windshield wiper/washer switch. Refer to Turn Signal Multifunction Switch Replacement in Steering Wheel and Column.

Did you complete the replacement?

Go to Step 7

--

6

Important: Perform the programming or setup procedure for the replaced control module if required.

Replace the BCM. Refer to Body Control Module Replacement in Body Control System for applicable replacement procedure.

Did you complete the replacement?

Go to Step 7

--

7

  1. Use the scan tool to clear the DTCs.
  2. Operate the vehicle within the conditions for running the DTC as specified in the supporting text.

Does the DTC reset?

Go to Step 2

System OK