GM Service Manual Online
For 1990-2009 cars only
Makes
🢒
Saturn
🢒
2007
🢒
OUTLOOK - FWD
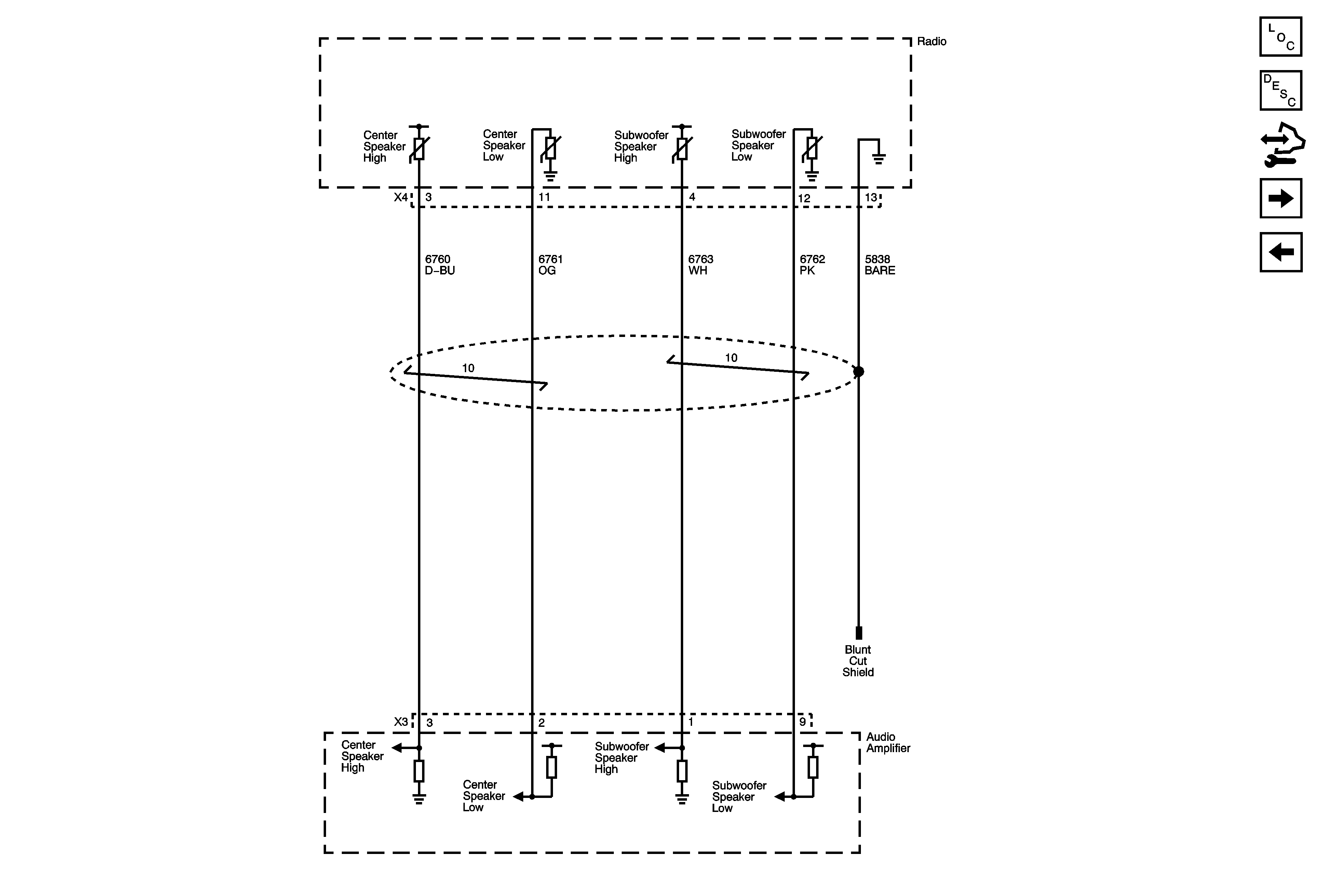
🢒 Audio Amplifier Center and Subwoofer Audio Inputs - UQS
Audio Amplifier Center and Subwoofer Audio Inputs - UQS
Audio Amplifier Center and Subwoofer Audio Inputs - UQS
Master Electrical Component List
Radio/Audio System Description and Operation
Control Module References
Speakers - UQF
Audio Amplifier Power, Ground, and All Audio Inputs - UQG+UK6, Front and Rear Audio Inputs - UQA/UQS+UK6